摘要
提出以抗拉强度高、耐腐蚀的超高性能混凝土(UHPC)为腹板和底板,以钢筋混凝土(RC)为顶板的预应力RC-UHPC组合箱梁,并制作1根试件开展抗弯试验。分析试件的裂缝开展规律与破坏模式;采用有限元软件对试验进行模拟,通过对比有限元计算结果与试验数据验证有限元方法的计算精度,在此基础上建立19个有限元分析模型,分析不同参数对开裂弯矩的影响;采用相关规范及既有文献资料对预应力RC-UHPC组合箱梁的开裂弯矩与裂缝宽度进行计算。结果表明:试件加载至约33.3%极限荷载时出现第1条裂缝,之后荷载-挠度曲线逐渐趋于平缓;开裂弯矩受预应力筋张拉系数、预应力筋配筋率、UHPC抗拉强度影响较大。采用基于换算截面的开裂弯矩计算方法与DBJ 43/T 325—2017中的裂缝宽度计算方法,分别计算预应力RC-UHPC组合箱梁的开裂弯矩及裂缝宽度,计算值与试验值、有限元计算值吻合较好。
箱梁是桥梁常用的主梁形式,钢箱梁具有自重轻、施工快等优点,但容易出现涂装劣化、钢材腐蚀、桥面板易损坏等病
目前,已有学者对RC-UHPC梁的力学性能开展研究。Wu
笔者开展预应力RC-UHPC组合箱梁的抗弯试验,并结合有限元及理论分析,探讨预应力RC-UHPC组合箱梁的裂缝开展规律及不同参数对其开裂弯矩的影响,并探究其开裂弯矩及裂缝宽度的计算方法。
根据文献[

(a) 试件跨中截面

(b) 试件支点截面
图1 试件跨中和支点截面图
Fig. 1 Midspan and fulcrum cross section of tested specimens
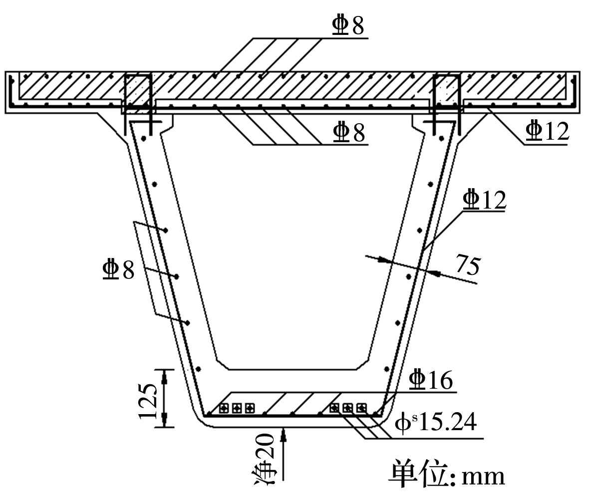
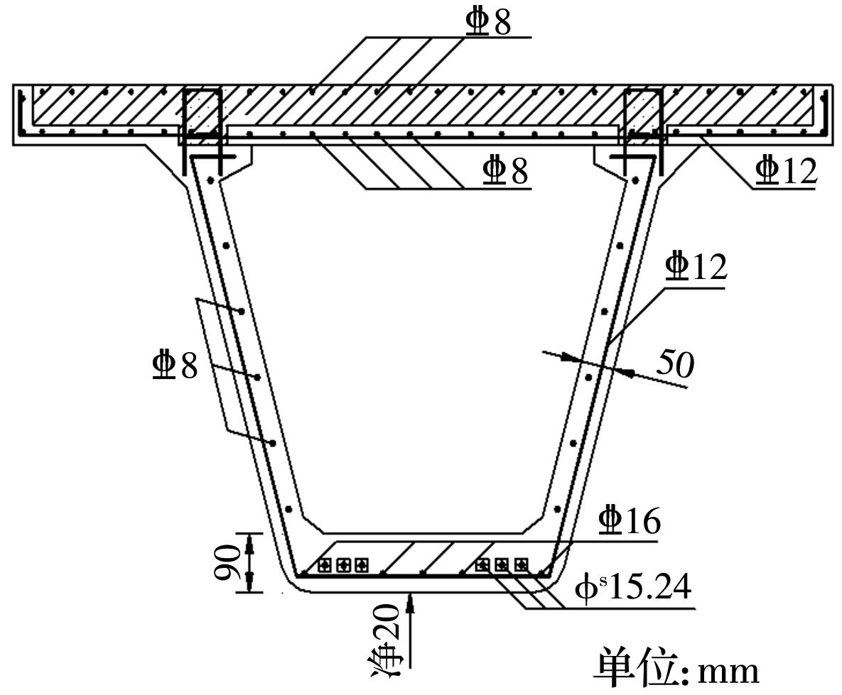
试件横截面配筋图如

(a) 跨中截面配筋

(b) 支点截面配筋
图2 横截面配筋图
Fig. 2 Cross section details of reinforcement
制作标准立方体、标准长方体各3个,分别取3个试件测试结果的平均值,作为混凝土的抗压强度和弹性模量,分别为63.3 MPa、32.5 GPa。制作50 mm×100 mm标准狗骨形试件、100 mm×100 mm×100 mm立方体、100 mm×100 mm×150 mm标准长方体各6个,并各取6个数据的平均值,测得UHPC的抗拉强度、抗压强度、弹性模量分别为7.6、133.3、43.3 MPa。
构件采用的钢筋直径分别为8、10、12、16 mm,每种直径选取3根进行试验,测得屈服强度分别为441、439、450、438 MPa。
试验加载设备为200 t的千斤顶,置于试件中点的正上方,通过一根分配梁对试件的跨中两点进行加载。加载前先预加载至20 kN。正式加载采用分级加载方式,25 kN为一级,每级加载完成后持荷5 min;截面开裂后以每级50 kN加载,当顶板普通混凝土被压碎时,认为其达到极限荷载。
如

图3 试件位移传感器立面布置图
Fig. 3 Elevation layout of specimen displacement sensor
试件的荷载-挠度曲线如

图4 试件的荷载-挠度曲线
Fig. 4 Load-deflection curve of specimen

图5 顶板被压溃
Fig. 5 The top plate was crushed

图6 试件立面裂缝图
Fig. 6 Elevation crack diagram of specimen
为获得更多数据,采用有限元软件ABAQUS建立19个有限元模型,各有限元模型的具体参数如
模型 编号 | 预应力 筋配筋率/% | 预应力筋张拉 系数/% | 钢筋 直径/mm | 钢筋屈服 强度/MPa | UHPC抗拉 强度/MPa | UHPC抗压 强度/MPa | 顶板RC抗压 强度/MPa |
|---|---|---|---|---|---|---|---|
| A0 | 0.66 | 75 | 16 | 438 | 7.6 | 133.3 | 63.3 |
| P2 | 0.22 | 75 | 16 | 438 | 7.6 | 133.3 | 63.3 |
| P4 | 0.44 | 75 | 16 | 438 | 7.6 | 133.3 | 63.3 |
| P8 | 0.88 | 75 | 16 | 438 | 7.6 | 133.3 | 63.3 |
| P10 | 1.10 | 75 | 16 | 438 | 7.6 | 133.3 | 63.3 |
| X25 | 0.66 | 25 | 16 | 438 | 7.6 | 133.3 | 63.3 |
| X50 | 0.66 | 50 | 16 | 438 | 7.6 | 133.3 | 63.3 |
| D14 | 0.66 | 75 | 14 | 438 | 7.6 | 133.3 | 63.3 |
| D18 | 0.66 | 75 | 18 | 438 | 7.6 | 133.3 | 63.3 |
| D20 | 0.66 | 75 | 20 | 438 | 7.6 | 133.3 | 63.3 |
| Q400 | 0.66 | 75 | 16 | 400 | 7.6 | 133.3 | 63.3 |
| Q500 | 0.66 | 75 | 16 | 500 | 7.6 | 133.3 | 63.3 |
| L6 | 0.66 | 75 | 16 | 438 | 6.0 | 133.3 | 63.3 |
| L9 | 0.66 | 75 | 16 | 438 | 9.0 | 133.3 | 63.3 |
| Y120 | 0.66 | 75 | 16 | 438 | 7.6 | 120.0 | 63.3 |
| Y140 | 0.66 | 75 | 16 | 438 | 7.6 | 140.0 | 63.3 |
| Y150 | 0.66 | 75 | 16 | 438 | 7.6 | 150.0 | 63.3 |
| C40 | 0.66 | 75 | 16 | 438 | 7.6 | 133.3 | 40.0 |
| C50 | 0.66 | 75 | 16 | 438 | 7.6 | 133.3 | 50.0 |
有限元模型中,UHPC的底板、腹板、RC桥面板、锚垫板、加载板单元采用八节点六面体线性减缩积分单元C3D8R,普通钢筋和预应力筋单元采用两节点线性三维桁架单元T3D2。
普通混凝土的本构模型采用《混凝土结构设计规范》(GB 50010—2010)中的本构模型。钢材的本构模型均采用理想弹塑性本构模型,见
| (1) |
式中:σs为钢材应力;Es为钢材弹性模量;fy为钢材屈服强度;εs为屈服强度对应的应变峰值。
UHPC的本构模型采用文献[
| (2) |
| (3) |
式中:σ为棱柱体压应力;ε为棱柱体压应变;ε0为棱柱体峰值压应力对应的应变;σt为棱柱体拉应力;εt为棱柱体拉应变;εt0为棱柱体峰值拉应力对应的拉应变。
有限元模型中,钢筋和主梁之间采用嵌入约束,不同材料之间采用通用接触设置方式,并将连接键切成RC、UHPC嵌入的两个部分,进行分别嵌入。

图7 有限元数据与实测数据的比较
Fig. 7 Comparison of finite element data with measured data
各有限元模型的开裂荷载值以及不同有限元模型的开裂荷载与模型A0开裂荷载的比值见
模型 编号 | 有限元模型参数 | 参数取值 | 开裂荷载Mcr,f/kN | Mcr,f/Mcr,A0 |
|---|---|---|---|---|
| A0 | 632.48 | |||
| P2 | 预应力筋配筋率 | 0.22% | 361.12 | 0.571 |
| P4 | 0.44% | 466.15 | 0.737 | |
| P8 | 0.88% | 724.96 | 1.146 | |
| P10 | 1.1% | 765.34 | 1.210 | |
| X25 | 预应力筋张拉系数 | 25% | 366.84 | 0.580 |
| X50 | 50% | 518.63 | 0.820 | |
| D14 | 钢筋直径 | 14 mm | 606.11 | 0.958 |
| D18 | 18 mm | 655.02 | 1.036 | |
| D22 | 22 mm | 707.56 | 1.119 | |
| Q400 | 钢筋屈服强度 | 400 MPa | 627.64 | 0.992 |
| Q500 | 500 MPa | 643.13 | 1.017 | |
| L6 | UHPC抗拉强度 | 6.0 MPa | 610.54 | 0.965 |
| L9 | 9.0 MPa | 711.48 | 1.125 | |
| Y120 | UHPC抗压强度 | 120.0 MPa | 581.88 | 0.920 |
| Y140 | 140.0 MPa | 664.10 | 1.050 | |
| Y150 | 150.0 MPa | 674.22 | 1.066 | |
| C40 | 顶板RC抗压强度 | 40.0 MPa | 594.53 | 0.940 |
| C50 | 50.0 MPa | 619.83 | 0.980 |
分析有限元计算结果后发现:当UHPC抗拉强度由6.0 MPa增加至9.0 MPa时,极限承载力提高约30.0%;当UHPC抗压强度由120.0 MPa增加至150 MPa时,极限承载力提升1.3%;当RC顶板抗压强度由40 MPa增加至50 MPa时,极限承载力提升4.3%;预应力筋配筋率增加0.44%,极限承载力则增加28.5%;当预应力筋的张拉系数由75%降低至25%时,极限承载力降低17.8%;当受拉纵筋直径由14 mm增加至22 mm时,极限承载力提升11.0%;当纵向受拉钢筋屈服强度由400 MPa提升至500 MPa时,极限承载力提高8.7%。
由以上分析可知:UHPC抗拉强度、预应力筋配筋率与张拉系数、纵向受拉钢筋配筋率与屈服强度对极限承载力的影响较大,而UHPC与RC顶板抗压强度对极限承载力的影响较小。
基于以上分析及文献[
| (4) |
式中:σpc为扣除预应力损失和普通钢筋合力在梁底产生的预压应力,按照JTG 3362—2018中提出的方法进行计算;ft为UHPC抗拉强度;W0为将钢筋换算成UHPC后的换算截面抗裂边缘弹性抵抗矩,可按照JTG 3362—2018中提出的方法进行计算,即W0=I0/(h-x),其中I0为换算截面,h为截面高度,x为受压区高度;γm为受拉塑性系数,按照文献[
采用

图8 试件开裂弯矩公式计算值与对比值
Fig. 8 Calculated values and contrast values of cracking moment formula for specimens
采用《活性粉末混凝土结构技术规程》(DBJ 43/T 325—2017)及《纤维混凝土结构技术规程》(CECS 38:2004)中的相关规定,采用
| (5) |
式中:为根据钢纤维混凝土的强度等级,不考虑钢纤维影响,按现行规范计算的钢筋混凝土构件的最大裂缝宽度,可按GB 50010—2010中相关规定计算;为构件中钢纤维对构件裂缝宽度的影响系数,CECS 38:2004规定,当无试验资料参考且钢纤维混凝土强度等级高于CF45时,采用异形钢纤维抗拉强度大于或等于1 000 MPa的钢纤维混凝土受弯构件,取0.5;为钢纤维含量特征值,按
| (6) |
式中:为钢纤维体积率;为钢纤维长度;为钢纤维直径或其等效直径;试验中取1.18。

图9 试验梁裂缝宽度随荷载变化图
Fig. 9 Crack width of test beam changing with load
1)加载过程中无裂缝出现时,荷载与跨中位移呈线性变化;加载至约33.3%极限荷载时,出现第1条裂缝,之后荷载-挠度曲线逐渐趋于平缓,最后裂缝发展至顶板,部分预应力筋被拉断,跨中RC顶板被压碎,构件破坏。
2)开裂荷载受预应力筋张拉系数、预应力筋配筋率、UHPC抗拉强度的影响较大,建议实际工程中选用抗拉强度较高的UHPC材料,并适当提高预应力筋配筋率,以提高抗开裂能力。
3)采用基于换算截面的计算方法计算预应力RC-UHPC组合箱梁的开裂弯矩,公式计算值与试验实测值、有限元计算值的比值分别为1.088、0.969,公式计算值与试验实测值、有限元计算值吻合较好;采用DBJ 43/T 325-2017及CECS 38:2004中的裂缝宽度计算方法计算预应力RC-UHPC组合箱梁的裂缝宽度,计算精度较高。
参考文献
姜竹生, 瞿涛, 吕磊, 等. 钢箱梁典型病害分析及其检测与维护技术研究[J]. 防灾减灾工程学报, 2011, 31(5): 572-577. [百度学术]
JIANG Z S, QU T, LV L, et al. Research on typical defects analysis of steel box girder and its testing and maintenance technology [J]. Journal of Disaster Prevention and Mitigation Engineering, 2011, 31(5): 572-577. (in Chinese) [百度学术]
RAMEY G E, WOLFF A R, WRIGHT R L. Structural design actions to mitigate bridge deck cracking [J]. Practice Periodical on Structural Design and Construction, 1997, 2(3): 118-124. [百度学术]
SAADEGHVAZIRI M A, HADIDI R. Transverse cracking of concrete bridge decks: Effects of design factors [J]. Journal of Bridge Engineering, 2005, 10(5): 511-519. [百度学术]
刘超, 徐栋. 大跨径混凝土箱梁桥剪切开裂及下挠原因[J]. 同济大学学报(自然科学版), 2009, 37(1): 1-5. [百度学术]
LIU C, XU D. Cause analysis for shear crack and deflection of long span concrete box-girder bridge [J]. Journal of Tongji University (Natural Science), 2009, 37(1): 1-5. (in Chinese) [百度学术]
庄一舟, 宋琨生, 宋永青, 等. 预应力UHPC/RC阶梯桩-土相互作用的拟静力试验研究及数值分析[J]. 土木与环境工程学报(中英文), 2023, 45(5): 37-48. [百度学术]
ZHUANG Y Z, SONG K S, SONG Y Q, et al. Pseudo-static test and numerical analysis of prestressed UHPC/RC segmental pile-soil interaction [J]. Journal of Civil and Environmental Engineering, 2023, 45(5): 37-48. (in Chinese) [百度学术]
林上顺, 张建帅, 夏樟华, 等. 装配式RC桥墩研究现状及展望[J]. 土木与环境工程学报(中英文), 2024, 46(6): 135-147. [百度学术]
LIN S S, ZHANG J S, XIA Z H, et al. The development status and research prospect of assembled RC piers [J]. Journal of Civil and Environmental Engineering, 2024, 46(6): 135-147.(in Chinese) [百度学术]
夏嵩, 陈柳, 杨旭. 超高性能混凝土(UHPC)在桥面板体系中的应用2020年度研究进展[J]. 土木与环境工程学报(中英文), 2021, 43(增刊1): 175-184. [百度学术]
XIA S, CHEN L, YANG X. State-of-the-art review of advances in the implementation of UHPC-OSD system in 2020 [J]. Journal of Civil and Environmental Engineering, 2021, 43(Sup 1): 175-184. (in Chinese) [百度学术]
WILLE K, NAAMAN A E, PARRA-MONTESINOS G J. Ultra-high performance concrete with compressive strength exceeding 150 MPa (22 ksi): A simpler way [J]. ACI Materials Journal, 2011, 108(1): 46-54. [百度学术]
CWIRZEN A, PENTTALA V, VORNANEN C. Reactive powder based concretes: Mechanical properties, durability and hybrid use with OPC [J]. Cement and Concrete Research, 2008, 38(10): 1217-1226. [百度学术]
陈宝春, 季韬, 黄卿维, 等. 超高性能混凝土研究综述[J]. 建筑科学与工程学报, 2014, 31(3): 1-24. [百度学术]
CHEN B C, JI T, HUANG Q W, et al. Review of research on ultra-high performance concrete [J]. Journal of Architecture and Civil Engineering, 2014, 31(3): 1-24. (in Chinese) [百度学术]
WU X G, LIN Y. Flexural behavior of UHPC-RC composite beam [J]. Steel and Composite Structures, 2016, 22(2): 387-398. [百度学术]
ZHANG Y, HUANG S L, LIU Y F, et al. Flexural behavior of damaged RC beams strengthened with prestressed UHPC layer [J]. Engineering Structures, 2023, 283: 115806. [百度学术]
YANG Y, XU C, YANG J, et al. Experimental study on flexural behavior of precast hybrid UHPC-NSC beams [J]. Journal of Building Engineering, 2023, 70: 106354. [百度学术]
ZHANG Y J, YANG Z C, XIE T Y, et al. Flexural behaviour and cost effectiveness of layered UHPC-NC composite beams [J]. Engineering Structures, 2022, 273: 115060. [百度学术]
鞠彦忠, 孙启健, 王德弘, 等. RPC-NC组合梁弯曲承载力的影响因素[J]. 实验力学, 2017, 32(6): 871-879. [百度学术]
JU Y Z, SUN Q J, WANG D H, et al. Factors influencing bearing capacity of RPC-NC composite beam [J]. Journal of Experimental Mechanics, 2017, 32(6): 871-879. (in Chinese) [百度学术]
万见明, 高日. 活性粉末混凝土梁正截面抗裂计算方法[J]. 建筑结构, 2007, 37(12): 93-96. [百度学术]
WAN J M, GAO R. Calculating method of crack-resistant capacity of reactive powder concrete beams [J]. Building Structure, 2007, 37(12): 93-96. (in Chinese) [百度学术]
徐海宾, 邓宗才. UHPC梁开裂弯矩和裂缝试验[J]. 哈尔滨工业大学学报, 2014, 46(4): 87-92. [百度学术]
XU H B, DENG Z C. Cracking moment and crack width of ultra-high performance concrete beams [J]. Journal of Harbin Institute of Technology, 2014, 46(4): 87-92. (in Chinese) [百度学术]
朱琦, 叶力豪, 蔡玮, 等. UHPC-T梁抗弯性能试验研究与理论计算[J]. 建筑科学与工程学报, 2023, 40(1): 65-74. [百度学术]
ZHU Q, YE L H, CAI W, et al. Experimental and theoretical studies on flexural performance of UHPC-T beams [J]. Journal of Architecture and Civil Engineering, 2023, 40(1): 65-74. (in Chinese) [百度学术]
刘明. 预应力RPC箱梁受弯性能试验研究[D]. 长沙: 湖南大学, 2015. [百度学术]
LIU M. Experimental study on flexural behavior of prestressed RPC box girder [D]. Changsha: Hunan University, 2015. (in Chinese) [百度学术]
李莉. 活性粉末混凝土梁受力性能及设计方法研究[D]. 哈尔滨: 哈尔滨工业大学, 2010. [百度学术]
LI L. Study on mechanical performance and design method of reactive powder concrete beam [D]. Harbin: Harbin Institute of Technology, 2010. (in Chinese) [百度学术]
王文雷. RPC预应力梁相关设计参数研究[D]. 北京: 北京交通大学, 2006. [百度学术]
WANG W L. Study on design parameters of RPC prestressed beam [D]. Beijing: Beijing Jiaotong University, 2006. (in Chinese) [百度学术]
杨阳. 预应力RC-UHPC组合箱梁受弯性能试验研究[D]. 福州: 福州大学, 2021. [百度学术]
YANG Y. Experimental study on flexural performance of prestressed RC-UHPC composite box girder [D]. Fuzhou: Fuzhou University, 2021. [百度学术]
LI L, ZHENG W Z, LU S S. Experimental study on mechanical properties of reactive powder concrete [J]. Journal of Harbin Institute of Technology, 2010, 17(6): 795-800. [百度学术]
