土木建筑与环境工程  2014, Vol. 36 Issue (2): 35-41   PDF    
两河口长隧道独头掘进压入式施工通风三维数值模拟
邓祥辉1,2, 刘钊3, 刘钊春4    
1. 长安大学 公路学院, 西安 710064;
2. 西安工业大学 建工学院, 西安 710032;
3. 国电大渡河流域水电开发有限公司, 成都 610041;
4. 西安理工大学 水利水电学院, 西安 710048
收稿日期:2013-06-25
基金项目:国家自然科学基金(50579092);交通部西部交通建设科技项目(2013318J12330);陕西省教育厅自然科学基金(2010JK599)
作者简介:邓祥辉(1976-), 男, 副教授, 博士(后), 主要从事地下工程数值计算模拟研究, (E-mail)dh_gl@163.com
摘要:两河口公路隧道埋深大且无条件修建斜竖井,只能独头掘进3 000余m,施工通风问题突出。基于CFD理论,对压入式通风气流运动采用三维紊态RNG k-ε湍流模型进行三维数值模拟,得到了施工期隧道内流场和浓度场随时间在洞内的分布变化规律。研究表明,掌子面附近为回流区,风流结构复杂,回流区以外风流分布逐渐稳定;爆破后的有害气团在隧道内是一个动态“移动”和“扩散”的过程,这个过程中有害气团从爆破掌子面逐渐扩散,并被稀释和排出隧道。同时,在3种工况下,根据CO的进入浓度和允许浓度对工作人员的进洞时间进行了研究。
关键词长隧道    压入式通风    三维数值模拟    进洞时间    
3D Numerical Simulation on Forced Construction Ventilation of Long Single Head Tunnel of Lianghekou
Deng Xianghui1,2, Liu Zhao3, Liu Zhaochun4    
1. School of Highway, Chang'an University, Xi'an 710064, P. R. China;
2. College of Civil and Architecture Engineering, Xi'an Technological University, Xi'an 710032, P. R. China;
3. Daduhe Hydropower Development Co., Ltd, Chengdu 610041, P. R. China;
4. College of Hydroelectric Engineering, Xi'an University of Technology, Xi'an 710048, P. R. China
Received: 2013-06-25
Abstract: There is no suitable condition to build any shaft (vertical or oblique shafts) due to the complex geological environment of Lianghekou. Furthermore, the tunnel has to be constructed blind heading. So the problem of ventilation is serious. Based on the theory of CFD, the wind current produced in forced ventilation is simulated by 3D RNG k-ε Turbulent Model, and then the Time-dependent Variation Rules of the flow field and the concentration field during the construction period are shown by numerical simulation of 3D. Results show that the backflow area which is located near the working face has the complex situation of wind current, and the air current distribution becomes stable gradually when it is far away from the backflow area. Meanwhile, the movement of the harmful air produced after blasting can be described as "moving" and "diffusing". The result of moving makes the harmful air run out of the tunnel from working face. The result of diffusing makes the harmful air deliquated along with the process of moving. In addition, the time that the workers spend on getting into the tunnel has been studied according to the concentrations of CO (in and allowance concentrations respectively).
Key Words: long tunnel    forced ventilation    the 3D numerical simulation    entrance time    

随着西部大开发进程的加快,出现了很多特长公路隧道。而目前特长隧道施工通风往往仅根据规范和施工人员的经验进行施工通风[1],效果很差,一旦措施不合理,对施工人员的身体危害很大。在特长公路隧道施工中,由于独头掘进和隧道长度的关系,如果等炮烟和其他有害气体完全从隧道内排放出去,则需要非常长的时间,会大大影响工程进度;如果选择较短时间进入施工,则对施工人员危害很大。因此,解决特长隧道施工通风问题具有重要意义。

在公路隧道通风问题的研究中,其他国家开展相关研究较早,特别是瑞士、挪威、日本以及奥地利等国家,对公路隧道通风问题进行了大量研究[2-4]。但由于全真隧道通风的试验费用非常高,所以在这方面取得的成果有限,大部分研究主要集中在计算机数值模拟领域。而且,研究方向主要在隧道建成后的运营通风[5-8],对隧道施工阶段的通风问题却少有研究。在中国,相对于研究公路隧道运营通风,隧道施工通风研究非常少,而且研究成果主要集中在公路隧道纵向通风的影响因素、通风方式、有害气体浓度分布规律以及纵向通风计算模型等方面[5-8]。对仿真试验研究、隧道三维流场数值模拟等方面几乎很少涉及[9-12]

目前,随着计算机技术的快速发展,使隧道施工通风的三维数值分析、流场和浓度场动态变化研究成为可能。本文在总结和借鉴已有的公路隧道通风运营、施工通风的研究成果上[13-19],采用大型有限元软件ADINA中的CFD模块对独头掘进的长隧道进行整条隧道有限元数值分析。

1 两河口隧道工程概况

两河口水电站交通工程1#公路隧道位于四川省甘孜州雅江县境内,1#公路隧道全长5 855 m,隧道海拔高程3 000 m左右。隧道埋深大,不适宜修建竖井或斜井,做到长隧短打,只能独头掘进3 000余m,通风问题成为制约隧道快速掘进的瓶颈。

两河口1#公路二级公路,隧道内轮廓为三圆心设计,隧道内轮廓净宽度为11.0 m,高7.3 m。隧道施工方法为全断面开挖方法。隧道采用压入式通风,通风管距地面3 m左右,风管直径为1.8 m。爆破产生的主要气体有:一氧化碳、二氧化碳、氮氧化物、二氧化硫和三硝基甲苯(TNT)等[20]。由于有害气体中CO危害较大,在爆破前采用水幕降尘措施,使得爆破后气体中主要剩下CO且浓度稳定,因此,隧道施工通风中以CO浓度大小作为评判通风效果的依据。

2 隧道通风数值计算原理

采用有限元软件ADINA中的CFD模块对不同工况下整条隧道的通风进行数值模拟。隧道压入式通风为贴壁受限射流,流场中存在射流、回流、滞流等气体流动,因此,采用三维紊态RNG k-ε湍流模型进行分析。

2.1 基本假定

基本假定主要有以下3个方面:1)假定通风气流为三维粘性不可压缩流体;2)气体流动不产生热能耗散,忽略隧道壁的传热性;3)从已有成果来看,爆破后产生的有害气体在稀释和向洞外移动过程,主要取决于初始有害气体量,而与初始分布关系不大,因此,假定通风前初始有害气体均匀分散在出风口和掌子面之间。

2.2 数学模型

根据假定,隧道风流模型适用于Navier-stokes方程,并采用RNG k-ε 紊流模型使方程组封闭。隧道内空气湍流流动和浓度扩散控制方程如下。

根据质量、动量和能量守衡方程:

${\rm{div}}{x_i} = 0$ (1)
$\frac{\partial }{{\partial {x_i}}}\left( {\rho {v_i}{v_j}} \right) = - \frac{{\partial P}}{{\partial {x_i}}} + \frac{\partial }{{\partial {x_i}}}\left( {\mu \left( {\frac{{\partial {v_i}}}{{\partial {x_j}}} + \frac{{\partial {v_i}}}{{\partial {x_i}}}} \right)} \right) + {S_{\rm{i}}}$ (2)
${\rm{div}}\left( {\rho {v_i}T} \right) = {\rm{div}}\left( {k\cdot{\rm{grad}}T} \right) + {S_{\rm{T}}}$ (3)

则,湍流动能k方程为

${\rm{div}}(\rho {v_i}k) = {\rm{div}}\left\| {\mu + } \right.\frac{{{\mu _T}}}{{{\sigma _k}}}\left| { \times {\rm{grad}}\left( k \right)} \right| + P - \rho \varepsilon $ (4)

流动能耗散率ε方程为

${\rm{div}}(\rho {v_i}\varepsilon ) = {\rm{div}}\left\| {\mu + } \right.\frac{{{\mu _T}}}{{{\sigma _\varepsilon }}}\left| { \times {\rm{grad}}\left( {\rm{ \mathsf{ ε} }} \right)} \right| + {C_{1\varepsilon }}\frac{{\rm{ \mathsf{ ε} }}}{k}P - {C_{2\varepsilon }}\rho \frac{{{{\rm{ \mathsf{ ε} }}^2}}}{k}$ (5)

浓度扩散方程为

${\rm{dig}}(\rho {v_i}c) = {\rm{div}}(\Gamma {\rm{grad}}c) + {S_c}$ (6)

式中:ρ为空气密度;μ为层流粘度;vi(i=1, 2, 3)为速度矢量;Γ为浓度扩散系数;T为温度;P为空气压力;k为温度扩散系数;SiSTSC分别为动量守衡方程、能量守衡方程和浓度扩散方程的源项;c为浓度;C1ε, C2ε, Cμ, σε, σk为湍流项经验常数。

3 计算模型

分别对掘进500、1 000、2 000、3 130 m 4种情况进行模拟。建立隧道分析模型如图 1所示。

图 1 3 130 m隧道整体模型

3.1 边界条件

根据已有试验和分析成果[20, 22],并结合实际情况设定边界条件如下。

1) 入口边界:当掘进距离小于1 500 m时,供风量采用3 000 m3/min,管径为1.8 m,则Vx=19.6 m/s, Vy=Vz=0;当掘进距离大于1 500 m时,供风量采用3000 m3/min,管径不变,则Vx=29.5 m/s, Vy=Vz=0。CO浓度取为0。紊流动能Kin=αinV12,流动能耗散率[22-23]${\varepsilon _{{\rm{in}}}} = \frac{{{C_\mu }k_{{\rm{in}}}^{\frac{3}{2}}}}{{0.03R}}$Cμ取0.09,αin取0.005,R为风管水力半径。

2) 出口边界:采用一致流边界条件,$\frac{{\partial {V_i}}}{{\partial {X_i}}} = 0$P=Pout=0。

3) 壁面边界:采用无滑移固壁边界条件,即Vi=0。

3.2 初始条件

有害气体转化成CO初始浓度的计算公式$c = \frac{{Gb}}{{LS}}$。公式中c为CO初始浓度;b为1 kg炸药产生的有毒气体,取0.04 m3/kg;G为爆破炸药用量,取210 kg;S为隧道开挖断面面积;L为炮烟抛掷长度,取35 m。根据上述参数,计算得c为3 696 mg/m3。洞内其余部分产生的CO浓度较小可忽略。

隧道整体模型长度为3 130 m,如图 1所示。有限单元节点为110 924个,单元数为95 069个。考虑到隧道中CO浓度在断面不同位置和时间上的动态变化,为便于研究,在隧道断面设AⅠ~AⅤ的分析控制点,这样,某断面CO浓度可以表示为5个控制点CO浓度的平均值。根据控制点的CO浓度,可以更好掌握CO浓度对施工人员的危害。

4 数值计算结果及分析讨论
4.1 隧道流场分析

根据总结现有研究成果,隧道独头掘进中,风流变化规律在不同掘进距离规律大致相同[19]。因此,模型对隧道独头掘进时,掘进距离为3 130 m时进行重点分析。

在分析中,隧道内流场很快稳定,而且从洞口到掌子面流场稳定所需的时间逐渐变短。图 2为洞口断面平均风速随时间的变化规律。洞口断面风速在100 s后就已基本稳定,洞内其余部分的流场稳定时间均小于100 s,在后面的分析中,可不考虑流场随时间的变化,把浓度场随时间的变化规律放在稳定的流场中分析。

图 2 洞口断面平均风速随时间变化

根据其他研究成果和本模型计算结果,把隧道流场分为3个区域:回流区、回流影响区、稳定区。

1) 回流区 回流区位于掌子面到风筒出口附近。根据计算结果,截取掌子面附近Z=3.8 m截面的流场矢量,如图 3所示。从图中可见,从掌子面到风筒出口附近的风流形成一个漩涡。风流在射向掌子面后,折射后从隧道另一侧返回,当其返回到风管出口附近时,部分风流受风管出口风流影响又流回掌子面,部分风流流出此回流区域。根据计算,回流区位于风管出口与掌子面之间,距离掌子面约18 m。图 4为回流区中心(X=3 112 m)横断面风速分布图,图中G是风速为0的等风速线,此线基本与隧道断面中线重合,其左侧风速为流向掌子面方向,其右侧风速为流向洞口方向。结合图 34,可知掌子面附近流场是一个以距掌子面18 m处横断面的中轴线为中心,以风管出口附近到掌子面为范围的大漩涡。

图 3 掌子面附近断面(Z=3.8 m)流场方向

图 4 回流区中心横断面风速分布(单位:m/s)

2) 回流影响区 根据分析结果,回流影响区为风筒出口附近到距离掌子面约300 m左右的一个区域。这个区域受回流区流场的影响,风速因断面的位置不同而差异较大,并且规律性不明显。图 5为隧道掘进至3 130 m工况下不同断面和同一断面不同高度的风速分布图。从图可见,距离掌子面越近,风速波动越大。当距离掌子面超过300 m,风速逐渐趋于稳定。

图 5 3 130 m隧道内风速分布

3) 稳定区 从图 5可见,距离掌子面300 m,风速区域稳定。同时,风速在断面的分布是中间大,逐渐向隧道侧壁减小。这一规律,与流体力学理论完全一致。图 6X=1 000 m处横断面风速分布等值线图,从距离掌子面约300 m以后各横断面风速分布均基本与此图相同。

图 6 稳定区横断面风速分布(单位:m/s)

4.2 CO浓度随时间变化规律

根据前面对流场的研究,可以看出掌子面附近的回流区会阻碍有害气体的排出。同时,风速中间大,周围小的特点对有害气体的排出也有一定的影响。下面仅对3 130 m情况下的规律进行研究。

隧道内浓度场变化规律与流场分布规律密切相关,图 78分别为隧道掘进3 130 m时通风1 min和5 min时回流区(Z=3.8 m)CO浓度场分布。从图中可见,在距离掌子面18 m左右形成一个大漩涡,其中心CO浓度最高。并且中心处与流场的回流区中心重合。随着时间的推移回流区CO浓度逐渐降低,梯度基本不变,但其回流区中心浓度大并向周围逐渐减小的规律保持不变。

图 7 1 min时回流区(Z=3.8 m)CO浓度分布(单位:mg/m3)

图 8 5 min时回流区CO浓度分布(单位:mg/m3)

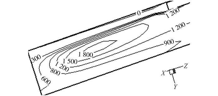
图 9为隧道掘进3 130 m时不同时间整条隧道内CO浓度分布。从图中不同时间隧道内CO浓度随距离掌子面远近呈现出以下规律:1)通风时间最短的5和9 min时,CO浓度的最大峰值刚好处于回流区范围;2)随着通风时间的变长,CO浓度的峰值明显减小,CO气团随通风时间增加而整体向洞外移动;3)随通风时间的增加,CO浓度的峰值降低并呈现出跨度逐渐变大的趋势,这说明CO气团整体在逐渐向隧道洞口移动和扩散。

图 9 掘进3 130 m时不同时间洞内CO浓度分布

4.3 不同掘进距离CO浓度随时间变化规律

在保证施工人员安全的情况下,加快施工进度是研究的一项重要内容。规范规定施工时CO浓度为不得大于30 mg/m3,若情况特殊,则可以放宽到不超过100 mg/m3,但工作时间不能超过30 min[24]。本隧道属于特长隧道,若等隧道内CO浓度降到为30 mg/m3,需要很长时间,这对施工进度会造成很大影响。因此,可考虑以CO浓度降到100 mg/m3时进入隧道作为进洞时间来研究。

下面分别在掘进距离500、1 000、2 000、3 130 m等4种情况下,以CO的进入浓度(100 mg/m3,不得滞留超过30 min)和允许浓度(30 mg/m3)为标准对通风时间进行分析。

根据实际情况,掘进前1 500 m选取掌子面供风量3 000 m3/min计算,掘进1 500 m以后选取掌子面供风量4 500 m3/min计算。

图 10~12以及图 9分别为隧道掘进500、1 000、2 000、3 130 m时洞内CO浓度在不同时间的分布。图中进入浓度取为100 mg/m3,安全浓度取为30 mg/m3。这4副图的规律基本相同,与5.2中分析的掘进3 130 m时的基本规律相符,仅因条件不同具体数值不同。这4副图通风5和9 min的曲线都有双峰值,且第一个峰值影响范围均约离掌子面40 m内,这是由于4个模型均把风筒出口设在离掌子面35 m处,但由于前1 500和1 500 m以后掌子面供风量不同,掘进2 000 m和掘进3 130 m情况下,CO浓度第1个峰值的下降速度和第2个峰值的移动速度均明显大于掘进500和1 000 m情况下的CO浓度相应峰值的变化速度。图 10中可看出回流效应的有效影响仅为十几分钟,而该条件下通风时间需二十多分钟,掘进越深其相对影响时间就越短。所以,在较长隧道的通风散烟的数值模拟中对进洞时间的计算可不考虑回流效应对有害气体滞留作用的影响。

图 10 掘进500 m时不同时间洞内CO浓度分布

图 11 掘进1 000 m时不同时间洞内CO浓度分布

图 12 掘进2 000 m时不同时间洞内CO浓度分布

CO是隧道内流场流体的组成部分,所以CO气团的移动速度与风速有一定的关系。表 1列出了在4种条件下CO浓度峰值移动速度和相应节点的平均风速。

表 1 风速与CO移动速度对照表

表 1中数据可以看出,通风距离越长CO峰值移动速度就越接近于风速。根据该模型的计算原理,当不存在风流的紊动CO的移动速度就是风速。掌子面附近的回流效应对CO的扩散有一定的影响,通风距离越长其相对影响就越小。所以,当通风距离较长时可近似认为CO峰值移动速度等于风速;当通风距离较短时需考虑掌子面附近的回流紊动区对通风时间的影响。

另外,图 9~12中曲线以及表中数据反映出,图 12基本可与图 10前2 000 m重合,风速也相等。图 11图 10也有相同的关系。因此,在精度要求不是很高的情况下,工程人员可在3 130 m条件下的数值模拟图中,分别在图 9中截取不同掘进距离的CO浓度,并进行推断。

4.4 进洞时间及安全时间建议

进洞时间即为洞内CO浓度降至进入浓度以下所需的时间,安全时间为洞内CO浓度完全降至允许浓度之下所需的时间,回流区影响时间为回流区CO浓度峰值减小到30 mg/m3以下所用时间。

根据前文所述分析方法、边界条件以及初始条件等,分别分析不同通风能力,在不同掘进距离条件下工作人员的进洞时间。具体的工况如下:1)工况1,掘进前1 500 m,供风量为3 000 m3/min,掘进1 500 m以后,供风量为4 500 m3/min;2)工况2,掘进前1 500 m,供风量为2 400 m3/min,掘进1 500 m以后,供风量为3 600 m3/min;3)工况3,掘进前1 500 m,供风量为3 600 m3/min,掘进1 500 m以后,供风量为5 400 m3/min。计算结果如表 2所示。

表 2 各工况部分计算结果对比

表 2中,给出了不同通风能力,分别掘进500、1 000、2 000、3 130 m各情况下进洞时间、安全时间和回流区影响时间。施工人员可在计算进洞时间后进入工作面作业,此时,已过回流效应的影响时间,对施工人员影响较小。同时,从表 2中的时间差一项可以看出当隧道掘进距离越长时,掌握进洞时间对隧道快速施工的意义就更为明显。

在建模条件下,回流区影响时间只与掌子面供风量有关,掌子面供风量越大其影响时间就越短,回流区影响时间在较长的通风情况下与进洞时间相比相对越短,所以在较长隧道的通风中可不考虑此效应。

5 结论

根据两河口1#公路隧道的实际情况和施工方法,建立了隧道掘进500、1 000、2 000和3 130 m等4种情况下隧道施工通风的模型,并对隧道流场分布和CO浓度变化规律进行了研究。通过研究掘进3 130 m工况下隧道内流场及CO浓度场的变化,得出独头掘进隧道施工通风系统流场分布和浓度场变化的一般规律。对4种情况下CO浓度场随时间变化规律进行对比,并对不同工况下施工人员合理的进洞时间进行分析。主要结论如下:

1) 隧道独头掘进时,采用压入式进行施工通风时,在距离掌子面18 m左右形成回流紊动区,范围为距离掌子面40 m之内;在距离掌子面40~300 m范围为回流影响区;超过300 m,为流场稳定区。同时,有害气体团在逐渐向洞口移动的过程中发生扩散,中心浓度逐渐减小。

2) 掌子面附近回流区对CO气体排离掌子面有一定的阻滞作用,回流区中心形成一个CO浓度的局部峰值,CO浓度也以一个与回流区流场相似的漩涡状从中心向周围逐渐降低。在相同的隧道轮廓、相同的风管直径以及相同的风管出口到掌子面距离的情况下,回流区对CO的阻滞时间仅与掌子面供风量有关,供风量越大,阻滞时间越短。在较长隧道的施工通风中回流区影响时间相对较短,可不考虑此效应对进洞时间的影响。

3) CO气体是隧道流场介质的组成部分,其运动速度应等于流场介质的运动速度,但由于回流区对CO移动的阻滞作用,在通风距离较短时CO平均移动速度明显小于风速,当通风距离较长时CO气体移动速度可近似等于风速。

4) 根据规范和具体施工条件,分析了3种工况下,独头隧道掘进500、1 000、2 000、3 130 m施工人员的进洞时间和安全时间。

参考文献
[1] 张恒, 杨家松, 高辉. 锦屏隧道施工通风研究[J]. 广西水利发电, 2008(5): 11–13.
Zhang H, Yang J S, Gao H. Study of Jinping tunnel construction ventilation[J]. Guangxi Water Resources & Hydropower Engineering, 2008(5): 11–13. (in Chinese)
[2] Rudin C. Fires in long ruilwuv lunnels-the ventilation concepts adopted in the alptransit projects[C]//10th International Symposium on the Aerodynamics Ventilation of Vehicle Tunnels, 2000.
[3] Chow W K. Dispersion of carbon monoxide from a vehicular tunnel with the exit located along a hillside[J]. Tunneling and Underground Space Technology, 1989, 2(4): 231–234.
[4] Vardy A. On Semi-transverse ventilation systems[C]//7th International Symposium on the Aerodynamics and Ventilation of Vehicle Tunnels, 1991:629-646.
[5] 杜翠凤, 于明章, 李怀宇. 单条沿脉巷道通风网路炮烟运动分析及对策[J]. 金属矿山, 2000, 6(6): 40–42.
Du C F, Yu M Z, Li H Y. Analysis of the blasting fume movement in single strike drive ventilation net and the countermeasures[J]. Metal Mine, 2000, 6(6): 40–42. (in Chinese)
[6] 胡自林, 彭立敏, 刘胜利. 中长公路隧道纵向通风计算模型[J]. 湘潭矿业学院学报, 2003, 18(2): 34–37.
Hu Z L, Peng L M, Liu S L. Vertical ventilation calculating model for mid-long highway tunnels[J]. Journal of Xiangtan Mining Institute, 2003, 18(2): 34–37. (in Chinese)
[7] 王永东, 夏永旭. 公路隧道纵向通风系统局部影响数据模拟[J]. 西安公路交通大学学报, 2001, 21(4): 50–54.
Wang Y D, Xia Y X. Parts effect numerical simulation of longitudinal ventilation system of highway tunnel[J]. Journal of Xi'an Highway University, 2001, 21(4): 50–54. (in Chinese)
[8] 危宁, 李力, 王春燕. 隧道施工通风中的有害气体浓度变化分析[J]. 三峡大学学报:自然科学版, 2006, 28(4): 324–327.
Wei N, Li L, Wang C Y. Analysis of harmful gas concentration variation in tunneling ventilation[J]. Journal of China Three Gorges University:Natural Sciences, 2006, 28(4): 324–327. (in Chinese)
[9] 高辉, 杨家松, 陈寿根, 等. 锦屏辅助交通特长隧道爆破通风数值模拟[J]. 公路遂道, 2008(1): 10–13.
Gao H, Yang J S, Chen S G, et al. Long tunnel blasting ventilation numerical simulation of experimental traffic[J]. Highway Tunnel, 2008(1): 10–13. (in Chinese)
[10] 刘钊春. 独头掘进隧道施工通风数值模拟[D]. 西安: 西安理工大学, 2010. http://cdmd.cnki.com.cn/Article/CDMD-10700-2010140286.htm
[11] 刘钊春, 柴军瑞, 贾晓梅, 等. 压入式通风掘进面有害气体浓度扩散数值模拟[J]. 岩土力学, 2009, 12(30): 536–539.
Liu Z C, Chai J R, Jia X M, et al. Numerical simulation of concentration diffusion of harmful gas in heading face with forced ventilation[J]. Rock and Soil Mechanics, 2009, 12(30): 536–539. (in Chinese)
[12] 陈卫忠, 郭小红, 曹传林, 等. 公路分岔隧道循环风相互影响及其对策研究[J]. 岩石力学与工程学报, 2008, 27(6): 1137–1147.
Chen W Z, Guo X H, Cao C L, et al. Research on interrelationship of exhaust air of highway forked tunnel and countermeasures[J]. Chinese Journal of Rock Mechanics and Engineering, 2008, 27(6): 1137–1147. (in Chinese)
[13] 赵海东. 乌鞘岭隧道辅助坑道对运营通风的影响及特长隧道定点防灾研究[D]. 成都: 西南交通大学. 2009. http://cdmd.cnki.com.cn/Article/CDMD-10613-2009218763.htm
[14] Patankar S V, Spalding D B. A calculation procedure for heat, mass and momentum transfer in three-dimensional parabolic flows[J]. International Journal of Heat and Mass Transfer, 1972, 15(15): 1787–1806.
[15] 王洪德, 林琳, 赵轶. 地铁隧道火灾事故通风方式数值模拟[J]. 辽宁工程技术大学学报:自然科学版, 2010, 29(2): 177–181.
Wang H D, Lin L, Zhao Y. Numerical simulation on ventilation modes in subway tunnel fire[J]. Journal of Liaoning Technical University:Natural Science, 2010, 29(2): 177–181. (in Chinese)
[16] 李炎锋, 朱滨, 孙旋, 等. 利用大涡模拟研究地铁区间火灾的烟气扩散[J]. 北京工业大学学报, 2007, 33(10): 1060–1065.
Li Y F, Zhu B, Sun X, et al. Study of fire smoke diffusion in subway tunnel by large eddy simulation[J]. Journal of Beijing University of Technology, 2007, 33(10): 1060–1065. DOI:10.3969/j.issn.0254-0037.2007.10.011 (in Chinese)
[17] Woodburn P J, Britter R E. CFD simulations of a tunnel fire-Part Ⅰ[J]. Fire Safety Journal, 1996, 26: 35–62. DOI:10.1016/0379-7112(96)00018-5
[18] 马洪亮. 基于区网藕合模拟的矿井通风系统抗灾能力分析[D]. 北京: 中国矿业大学, 2008. http://cdmd.cnki.com.cn/Article/CDMD-11413-2008131529.htm
[19] Kunsch J P. Simple model for control of fire gases in a ventilated tunnel[J]. Fire Safety Journal, 2002, 37(1): 67–81. DOI:10.1016/S0379-7112(01)00020-0
[20] 张国枢. 通风安全学[M]. 徐州: 中国矿业大学出版社, 2000.
[21] 赵彬, 李先庭, 彦启森. 入口紊乱参数对室内空气分布的影响研究[J]. 建筑热能通风空调, 2000(1): 1–4.
Zhao B, Li X T, Yan Q S. Influence of turbulence parameters at supply opening on indoor air distibution[J]. Building Energy & Environment, 2000(1): 1–4. (in Chinese)
[22] 高建良, 张生华. 压入式局部通风工作面风流分布数值模拟研究[J]. 中国安全科学学报, 2004, 14(1): 93–96.
Gao J L, Zhang S H. Numerical simulation of airflow pattern at working face with forced auxiliary ventilation[J]. China Safety Science Journal, 2004, 14(1): 93–96. (in Chinese)
[23] Nakayama S, Uchino K, Masahiro M. 3 Dimensional flow measurement at heading face and application of CFD[J]. The Mining and Materials Processing Institute of Japan, 1996, 112(9): 638–644.
[24] TB 10204-2002铁路隧道施工规范[S]. 北京: 中国铁道出版社, 2002.