土木建筑与环境工程  2015, Vol. 37 Issue (4): 84-89   PDF    
深层开挖条件下自平衡试桩法上段桩承载力损失简化计算方法
李宏安1, 郭盛2    
1. 北京交通大学 土建学院,北京 100044;
2. 北京市市政工程研究院,北京 100037
收稿日期:2014-11-06
基金项目:国家自然科学基金(51378054)
作者简介:李宏安(1979-),男,博士,高级工程师,主要从事隧道及地下工程研究,(E-mail)lha417@126.com
摘要:针对在深层开挖条件下进行自平衡法试桩时,通过采取有效措施消除开挖段的侧摩阻力影响后,由于深层覆土开挖卸荷导致工程桩桩周土体围压减小,从而导致荷载箱上段桩抗拔承载力降低这一问题,通过借鉴目前在抗拔桩方面已有的相关分析方法、负摩阻力、基底附加应力以及相关土力学基础理论,提出了基于Mindlin解的简化分析方法以及负摩阻力-附加应力法两种简化分析方法,并以北京某地铁车站中间柱下桩为例,分别估算深层开挖土体卸荷引起的上段桩承载力的损失值。两种方法所得出的估算值存在较大差异,对其原因进行了初步分析。两种简化分析方法的合理性及准确性还有待于进一步完善和实践验证。
关键词基桩    深层开挖    自平衡试桩法    上段桩    承载力    简化计算方法    
Simplified calculation method for the bearing capacity loss of the upper part of the deep excavation
Li Hongan1, Guo Sheng2    
1. School of Engineering and Architecture, Beijing Jiaotong University, Beijing 100044, P.R.China;
2. Beijing Municipal Engineering Research Institute, Beijing 100037, P.R.China
Received: 2014-11-06
Foundation item: National Natural Science Foundation of China (No.51378054)
Author brief: Li Hongan (1979-), PhD, senior engineer, main research interests:tunnel and underground engineering, (E-mail)lha417@126.com.
Abstract: In the self-balanced pile test in the deep excavation, effective measures are taken to eliminate the side friction effect after excavation. The unloading of deep overburden excavation caused decrease in soil confining pressure surrounding engineering pile and as a result reduce of the upper load box pile pullout capacity. Based on the additional correlation analysis method, the negative friction, base and relevant soil mechanics theory, a simplified analysis method of Mindlin and negative friction-additional stress solutions are proposed. The column pile in a subway station in Beijing is studied to estimate the loss of upper pile bearing capacity caused by deep excavation soil unloading. The results of the two methods show significant difference and the reasons are discussed. The applicability and accuracy of the two simplified analysis methods require further study..
Key Words: pile    deep excavation    self balanced pile    upper pile    bearing capacity    simplified calculation method    

发达国家提出在桩身中埋设荷载箱的测试方法,称之为O-cell法[1-2],中国称为自平衡法。作为一种新兴的单桩承载力测试技术,自平衡试桩法的优越性及其在经济上的巨大潜力已经开始展示。目前它是欧美进行基桩静荷载试验的首选方法[3-4]。国外许多研究都表明自平衡测试在实际工程中可取代传统静载荷试验,得到基桩承载力的可靠数据,并且对其承载力进行判断与指导桩基础的科学、合理设计[5-6]

自平衡试桩法从20世纪90年代后期被引入中国以来,因其省时省力、安全经济以及基本不占用场地等优点,并且在超大吨位以及水下、山上、坡地、建(构)筑物密集区、狭窄场地及深基坑内等困难条件下,有效解决了传统静载试桩法难以做到的一些难题,近年来得以快速发展和应用,是一种逐渐兴起的新试桩方法[7]。通过十几年的发展应用,自平衡试桩法在一些常见工况的应用上技术手段已相对成熟。但随着中国城市化进程的加速,兴建了如地铁、地下车库、地下商场等大量地下建筑,由此产生了大量深基坑工程。其中,有大量工程的荷载试验需在地面完成,而不具备在工程桩设计桩顶标高处(基坑底部)进行试验的条件,由此导致试桩与工程桩工况的差异。即使采用如双套管施工或通过在设计桩顶标高以上不浇筑混凝土结合设置护筒等方法,也只是大致消除了开挖段的侧摩阻力的影响。在地面开展自平衡法试桩得到的荷载箱以上部分桩体(简称上段桩,下同)承载力与实际工程桩存在的另一个主要差别是基坑开挖后,深层覆土开挖卸荷,工程桩桩周土体围压减小,势必导致荷载箱上段桩抗拔承载力的降低。如果简单地将地面试桩上段桩抗拔承载力扣除开挖段后得到的有效桩长承载力作为工程桩的承载力,对于工程桩实际状态而言是不利的。由于过去涉及的工程开挖面积小深度浅,试桩桩顶标高与工程桩设计桩顶标高一致,或开挖深度较浅,这一情况并未引起广泛关注,但随着地下空间的进一步开发,深大基坑越来越多的出现,这一问题势必将得到重视。而针对这一问题,目前还没有成熟的、可靠的计算分析方法,可借鉴的是中国在抗拔桩相关方面的研究,尤其是上海世博500 kV大型地下变电站工程相关课题组的研究成果[8-11]

本文结合北京某地铁车站中间柱下桩基试桩实例,对深层开挖引起的自平衡试桩法上段桩承载力损失这一问题,提出了两种简化计算方法,供类似工程参考,但其合理性、准确性还有待于进一步探讨、验证和改善。

1 深层开挖条件下上段桩承载力损失简化计算方法

深层覆土经开挖卸荷后引起自平衡试桩法上段桩的承载力损失,需在试验结果中的上段桩的承载力计算中扣除该部分荷载,但目前其损失值的计算方法还不成熟。本文参考有关土力学基础理论,借鉴目前抗拔桩相关的分析方法[8-11]、Mindlin应力解的应用研究[12-13]以及负摩阻力[14-15]、基底附加应力[16-17]的计算方法提出了两种简化计算分析方法:基于Mindlin解的简化分析方法和负摩阻力-附加应力法。

1) 基于Mindlin解的简化分析方法。借鉴文献[18]中抗拔桩在开挖条件下的抗拔承载力损失计算方法,不考虑后注浆对桩身结构的影响,将荷载箱上段桩视为等截面桩。其试验结果中由于基坑开挖引起的承载力损失部分为

$ \frac{{{\rm{d}}\Delta T}}{{{\rm{d}}z}} = {\rm{\pi }}d{K_0}{q_1}\tan \delta $ (1)
$ \begin{array}{c} {q_1} = \frac{{{q_{\rm{h}}}}}{{4{\rm{\pi }}\left( {1- \mu } \right)}}\left\{ {\left[{{{\tan }^{-1}}\frac{D}{{H-z + h}} + {{\tan }^{-1}}\frac{D}{{H - z - h}}} \right]} \right. + \\ \frac{{D\left( {H - z + h} \right)}}{{{D^2} + {{\left( {H - z - h} \right)}^2}}} + \frac{{D\left[{h + \left( {3-4\mu } \right)\left( {H-z} \right)} \right]}}{{\left[{{D^2} + {{\left( {H-z + h} \right)}^2}} \right]}} + \\ \left. {\frac{{4Hh\left( {H - z} \right)\left( {H - z + h} \right)}}{{{{\left[{{D^2} + {{\left( {H-z + h} \right)}^2}} \right]}^2}}}} \right\} \end{array} $ (2)

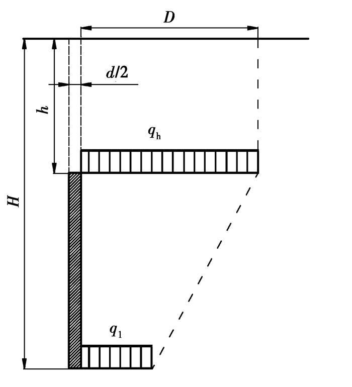
式中:d为钻孔桩直径;K0为侧向土压力系数,K0=0.95-sinφ(黏土),K0=1-sin φ(砂土);q1为开挖卸载土体在静力平衡点引起的竖向附加应力;δ为桩土间摩擦角,根据桩土特性的不同,δ=(0.6~0.9)φ[19-20]μ为土体泊松比;H为上段桩底至地面深度;h为开挖深度;D为基坑等效开挖半径,D=$\sqrt {ab/3.14} $[21]; ab为矩形基坑开挖的长度及宽度;qh为设计桩顶标高处土的超载,qh=$\bar \gamma h, \bar \gamma $为开挖面以上土层平均重度。

考虑桩周土体的分层情况,则上段桩的抗拔承载力损失值ΔT

$ \Delta T = \sum\limits_{i = 1}^{{m_1}} {\int_{i-1}^i {\frac{{\partial \Delta T}}{{\partial z}}{\rm{d}}z} } $ (3)

式中:m1为上段桩范围内土体分层数。

2) 依负摩阻力及基底附加应力概念进行计算。地面大面积堆载是导致基桩产生负摩阻力的因素之一,即使桩周土产生大于基桩的沉降,从而所引起的对桩表面的向下摩阻力。

图 1 上段桩计算模型简图(轴对称) Fig. 1 The calculation model of the upper pile laxial symmetry

上段桩的桩周土体作用机理类似于负摩阻力,参考负摩阻力的计算原则[14],将上覆土体视作大面积均布荷载,此时:

$ q_{{\rm{s}}i}^n = {\xi _{{\rm{n}}i}}\sigma {'_i} $ (4)
$ \sigma {'_i} = {q_{{\rm{h}}i}} + \sigma {'_{\gamma i}} $ (5)
$ {q_{{\rm{h}}i}} = \overline {{\alpha _{{\rm{h}}i}}} \sum\limits_{m = 1}^{i-1} {{\gamma _m}\Delta {z_m}} $ (6)

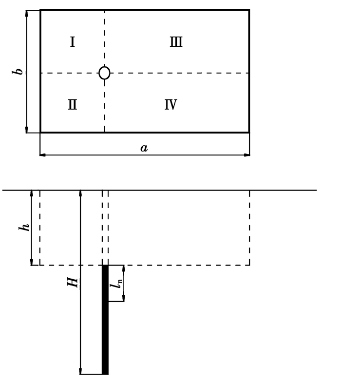
式中:qsin为第i层土桩侧负摩阻力标准值,当按式(4)计算值大于正摩阻力标准值时,取正摩阻力标准值;ξni为桩周第i层土负摩阻力系数[14];σ′i为桩周第i层土平均竖向有效应力;qhi为设计桩顶标高处土的超载引起的桩周第i层土平均竖向附加应力;σ′γi为由桩顶以下土自重引起的桩周第i层土平均竖向有效应力;γm为设计桩顶标高以上第m土层的重度,地下水位以下取浮重度;Δzm为第m层土的厚度;$\overline {\alpha {\rm{h}}i} $为桩周第i层土平均附加应力系数,取决于开挖基坑的长宽比以及开挖土的厚度与基坑宽度的比值,见图 2

$ \overline {{\alpha _{{\rm{h}}i}}} = \overline {{\alpha _{aⅠi}}} + \overline {{\alpha _{aⅡi}}} + \overline {{\alpha _{{\rm{aⅢ}}i}}} + \overline {{\alpha _{{\rm{aⅣ}}i}}} $ (7)
图 2 上段桩按角点法确定桩周土附加应力 Fig. 2 Additional stress of soil around the pile by corner method

式中:$\overline {{\alpha _{aⅠi}}} 、\overline {{\alpha _{aⅡi}}} 、\overline {{\alpha _{{\rm{aⅢ}}i}}} 、\overline {{\alpha _{{\rm{aⅣ}}i}}} $为小矩形Ⅰ、Ⅱ、Ⅲ、Ⅳ对应的桩周第i层土的角点平均附加应力系数[16]

式(4)中由桩顶标高以上土体引起的下拉荷载部分为ξniqhi

故由上覆土层开挖卸载引起的下拉荷载,即荷载箱以上部分桩的抗拔承载力损失值ΔT

$ \Delta T = {\rm{\pi }}d\sum\limits_{i = 1}^n {{l_i}{\xi _{{\rm{n}}i}}{q_{{\rm{h}}i}}} $ (8)

式中:d为钻孔桩直径,li为中性点以上第i土层的厚度。中性点深度ln的确定[14]是下拉荷载计算的关键点,需注意的是当桩周不存在软弱土层的情况下,如何确定计算中性点深度的问题。根据中性点的概念,在该点处桩身正、负摩阻力抵消为零,可考虑将桩的抗拔侧摩阻力等于附加应力的点视为中性点。

3) 基于Mindlin解的简化分析方法做为一种极限平衡分析方法,其在开挖条件下的传统抗拔桩中的分析结果已被验证是与数值分析方法结果及离心试验实测结果非常接近,误差均在10%以内[22]。该简化分析方法被证明是合理的,可以预测开挖条件下传统抗拔桩的承载力损失。但毕竟自平衡法上段桩其受力状态还是有别于传统桩顶承受上拔荷载(桩身受拉)的抗拔桩,而更接近于采用无粘结预应力钢绞线下端锚固方式的新型抗拔桩(桩身受压),而后者的抗拔承载力较前者有大幅提升[23]。该简化分析方法在自平衡上段桩承载力损失分析上的应用还有待进一步论证。

2 实例分析
2.1 试桩概况

北京地铁某车站采用盖挖逆筑法施工,位于城区一条交通主干道中央下方。车站覆土约为4.4 m,标准段净宽为19.7 m,总净长为255 m。钢管混凝土柱下基础桩设计桩长21.5 m,桩径1.8 m,采用桩底及桩侧复式后注浆工艺,其中桩侧设置4根注浆管并桩体通长注浆,桩底设置3根注浆管,单桩设计承载力特征值8 000 kN。桩顶设计标高在场地现地面下17.6~19.3 m。

试桩场地土层自上而下依次为:粉土填土①层、杂填土①1层、粉土③层、粉质粘土③1层,粉质粘土④层、粉土④2层、粉细砂④3层、粉土⑥2层、粉质粘土⑥层、粉细砂⑦2层、圆砾卵石⑦层、粉质粘土⑧层、粘土⑧1层、粉土⑧2层、粉细砂⑨2层。

中间柱下桩桩顶位于⑥2层,中间柱下桩桩底位于⑨2层,荷载箱位于⑧2层。

由于车站施工步序要求,不允许待基坑开挖至设计坑底标高后再做静荷载试验,需在现状地面上进行。通过采用自平衡法试桩,很好地解决了施工场地狭小的限制。

试桩桩顶距地面约20 m范围为空孔,为能真实可靠的反映工程桩实际工作状态,本工程采用的上部筒底标高与工程桩标高一致,内径为2.0 m的护筒结合空孔法(即试桩仅浇筑至工程桩桩顶标高)以实现开挖段侧摩阻力影响的消除,提供有效桩长范围内的承载力。

该车站进行的3根中间柱下桩试桩,在工程桩桩顶标高与护筒顶分别量测上拔量,二者位移量具有很好的一致性,表明所采取措施起到了良好的隔离效果。

2.2 按常规方法得出的试验结果

3根试桩实测荷载箱向上、向下两条Q-S曲线如图 3~5所示。

图 3 1号试桩自平衡测试曲线 Fig. 3 Self balanced test curve of No.1 test pile

图 4 2号试桩自平衡测试曲线 Fig. 4 Self balanced test curve of No.2 test pile

图 5 3号试桩自平衡测试曲线 Fig. 5 Self balanced test curve of No.3 test pile

根据图 3~5的Q-s曲线可以看到:试桩的上位移曲线都属缓变形且位移量相对较小, 故均可将最后一级荷载取为桩身的自平衡承载力。通过参考文献[24]所述方法转换,得出1、2、3号试桩上段桩承载力分别为9 094、9 058、9 070 kN。

依此方法,综合上、下段桩计算结果,试桩承载力可以满足设计要求。

2.3 考虑深层开挖对上段桩承载力的影响后得出的试验结果

分别通过基于Mindlin解的简化分析方法以及负摩阻力-附加应力法计算对1号试桩计算深层开挖引起上段桩承载力的损失值,得出结果见表 1

表 1 深层开挖引起的上段桩承载力的损失值 Table 1 Loss value of the bearing capacity of the piles caused by deep excavation

从计算结果分析,两种方法的所得出计算结果存在一些差异。导致计算结果出现较大差异的原因有:

1) 基于Mindlin解的简化分析方法是通过将矩形尺寸转换为圆形基坑的等效开挖半径进行计算的,而负摩阻力-附加应力法是以实际基坑开挖的矩形尺寸进行计算,并且考虑到了试桩在基坑中的位置对计算结果的影响。当试桩位于基坑中心时,两者差异较小,而试桩位于基坑边角时,两者差异较大。

2) 基于Mindlin解的简化分析方法考虑了地基土质条件的泊松比对应力计算的影响。当泊松比较大时,计算结果就大;当泊松比较小时,计算结果就小。而负摩阻力-附加应力法未考虑该项影响。

除此以外,还有其他诸多导致计算结果产生差异的因素。

由此可见,两种方法均存在不完善之处,二者的计算结果的准确性还有待于进一步进行深入分析及验证。

表 1中, 即使较小的损失值亦达到了2 320 kN,将常规方法得出的试验结果中扣除该部分荷载后,在目前的加载等级下,所得出的试验数据还不足以说明试桩承载力是否满足设计对承载力的要求,需加大试验荷载。

当要进行桩的极限承载力破坏性试桩时,为能使荷载箱上、下两段桩的反力相等,对平衡点的计算同样要考虑深层开挖前后上段桩的反力大小变化,将平衡点适当上移。

因盖挖逆作施工工法的特点,不具备在基坑开挖至基底后,消除上层覆土影响后再次进行试验,以比较在开挖前后的试验结果,可以具体量化并验证深层覆土开挖对基桩承载力的试验结果。

3 结论

1) 针对深层开挖条件下自平衡试桩法上段桩承载力的损失问题,参考抗拔桩现有相关研究进行了分析,进行了一些探讨。但自平衡法中上段桩的受力状态与实际情况下抗拔桩受力状态是不同的,此中差异还需从理论和实践中深入分析、研究。

2) 深层开挖条件下,在采取措施有效消除开挖段土层侧摩阻力的影响后,土体开挖卸荷引起的承载力损失成为影响最终试验结果的主要因素。若能解决这一问题,将使自平衡法更为准确、有效地在类似工程中得到推广应用。

3) 深层开挖条件下自平衡上段桩的承载力需考虑开挖土体卸荷后的折减。本文初步提出了两种简化分析方法:基于Mindlin解的简化分析方法以及负摩阻力-附加应力法。其合理性及准确性还有待于进一步进行有限元分析,模型试验,以及在实际工程当中的进一步比对、论证。

4) 虽然与传统的静载试验法相比,自平衡试桩法所得到的单桩承载力是偏小的[25-26],在工程应用上是偏于安全的。但由于深层开挖引起的承载力损失比率已不容忽视,只有正确认识并掌握其影响,针对性控制试验荷载,并合理地进行承载力折减,才是对工程安全的客观保证。

参考文献
[1] Rocher-Lacoste F, Bustamante M, England M.Bidirectional instrumented load test of a pile bored in Guinea Bissau[C]//Deep Foundations on Bored and Auger Piles, 2009:263-268.
[2] Fellenius B H. Piled foundation design-clarification of a confusion[J]. Geotechnical News Magazine, 2006, 24(3) : 53–55.
[3] Said I, Gennaro D V, Frank R. Axisymmetric finite element analysis of pile loading test[J]. Computers and Geosciences, 2009, 36 : 6–19.
[4] Chaudhary M A. FEM modeling of a large piled raft for settlement control inweak rock[J]. Engineering Structures, 2007, 29 : 2901–2907. DOI:10.1016/j.engstruct.2007.02.001
[5] Poulos H G. A practical design approach for piles with negative friction[J]. Proceedings of the Institution of Civil Engineers: Geotechnical Engineering, 2009, 162 : 19–27. DOI:10.1680/cien.2009.161.1.19
[6] MyLonakis G. Winkler modulus for axially loaded piles[J]. Geotechnique, 2012, 62(6) : 521–536. DOI:10.1680/geot.11.P.052
[7] 龚维明, 戴国亮, 蒋永生, 等. 桩承载力自平衡测试理论与实践[J]. 建筑结构学报, 2002, 23(1) : 82–88.
Gong W M, Dai G L, Jiang Y S, et al. Theory and practice of self-balanced loading test for pile bearing capacity[J]. Journal of Building Structure, 2002, 23(1) : 82–88. (in Chinese)
[8] 黄茂松, 任青, 王卫东, 等. 深层开挖条件下抗拔桩极限承载力分析[J]. 岩土工程学报, 2007, 29(11) : 1689–1695.
Huang M S, Ren Q, Wang W D, et al. Analysis for ultimate uplift capacity of tension piles under deep excavation[J]. Chinese Journal of Geotechnical Engineering, 2007, 29(11) : 1689–1695. (in Chinese)
[9] 黄茂松, 郦建俊, 王卫东, 等. 开挖条件抗拔桩的承载力损失比分析[J]. 岩土工程学报, 2008, 30(9) : 1291–1297.
Huang M S, Li J J, Wang W D, et al. Loss ratio of bearing capacity of uplift piles under deep excavation[J]. Chinese Journal of Geotechnical Engineering, 2008, 30(9) : 1291–1297. (in Chinese)
[10] 王卫东, 吴江斌. 深开挖条件下抗拔桩分析与设计[J]. 建筑结构学报, 2010, 31(5) : 202–208.
Wang W D, Wu J B. Design and analysis of uplift pile under deep excavation[J]. Journal of Building Structure, 2010, 31(5) : 202–208. (in Chinese)
[11] 陈锦剑, 王建华, 范巍, 等. 抗拔桩在大面积深开挖过程中的受力特性分析[J]. 岩土工程学报, 2009, 31(3) : 402–407.
Chen J J, Wang J H, Fan W, et al. Behaviror of up-lift pile foundation during large-scale deep excavation[J]. Chinese Journal of Geotechnical Engineering, 2009, 31(3) : 402–407. (in Chinese)
[12] 朱杰江, 田堃. 合理运用Mindlin公式计算桩端附加应力的探讨[J]. 建筑科学, 2008, 24(1) : 19–24.
Zhu J J, Tian K. Discussion on stress calulation near pile's bottom by using midlin formula[J]. Building Science, 2008, 24(1) : 19–24. (in Chinese)
[13] 王世杰, 张梅, 张吉占. Mindlin应力解的应用理论研究[J]. 工程力学, 2001, 18(6) : 141–148.
Wang S J, Zhang M, Zhang J Z. On Mindlin stress formulas[J]. Engineering Mechanics, 2001, 18(6) : 141–148. (in Chinese)
[14] JGJ 94-2008建筑桩基技术规范[S].北京:中国建筑工业出版社, 2008. http://www.oalib.com/references/17442871
[15] 赵明华, 贺炜, 曹文贵. 基桩负摩阻力计算方法初探[J]. 岩土力学, 2004, 25(9) : 1442–1446.
Zhao M H, He W, Cao W G. Study on calculation of negative skin friction resistance on piles[J]. Rock and Soil Mechanics, 2004, 25(9) : 1442–1446. (in Chinese)
[16] GB 50007-2011建筑地基基础设计规范[S].北京:中国建筑工业出版社, 2011.
[17] 吕亚茹, 刘汉龙, 王新泉, 等. 地基附加应力和桩基沉降计算的修正Geddes应力解[J]. 四川大学学报:工程科学版, 2013, 45(2) : 68–74.
Lyu Y R, Liu H L, Wang X Q, et al. A modified Geddes solution for estimating induced stress coefficecient of subsoil and settlement of pile foundation[J]. Journal of Sichuan University:Engineering Science Edition, 2013, 45(2) : 68–74. (in Chinese)
[18] 史佩栋. 桩基工程手册[M]. 北京: 人民交通出版社, 2008 .
[19] Kulhawy F H, Trautmann C H, Beech J F, et al. Transmission line structure foundations for uplift compression loading[J]. Report EL-2870, Electric Power Research Institute, Palo Alto, California, 1983 : 412–425.
[20] Potyondy J G. Skin friction between various soils and construction materials[J]. Geotechnique, 1961, 11(4) : 339–345. DOI:10.1680/geot.1961.11.4.339
[21] JGJ 120-2012建筑基坑支护技术规程[S].北京:中国建筑工业出版社, 2012.
[22] 郦建俊.深开挖条件下抗拔桩的承载特性研究[D].上海:同济大学, 2008.
[23] 陈凡, 徐天平, 陈久照, 等. 基桩质量检测技术[M].2版. 北京: 中国建筑工业出版社, 2014 .
[24] JT/T 738-2009桩基静载试验:自平衡法[S].北京:人民交通出版社, 2009.
[25] 李广信, 黄锋, 帅志杰. 不同加载方式下桩的侧摩阻力的试验研究[J]. 工业建筑, 1999(12) : 19–21, 67.
Li G X, Huang F, Shuai Z J. Test study on influence of loading ways on friction of pile[J]. Industrial Construction, 1999(12) : 19–21, 67. (in Chinese)
[26] 王坤昂, 毕景佩, 赵志忠, 等. 自平衡试验与传统试验的比对研究[J]. 工程勘察, 2014(1) : 11–16.
Wang K A, Bi J P, Zhao Z Z, et al. Comparison study on self-balanced tests and the traditional tests[J]. Geotechnical Investigation & Surveying, 2014(1) : 11–16. (in Chinese)