土木建筑与环境工程  2016, Vol. 38 Issue (5): 85-89   PDF    
联合板索基础抗拔机理及容许上拔力
雒亿平1,2, 邓骁1, 言志信1,3    
1. 兰州大学 土木工程与力学学院, 兰州 730000 ;
2. 国网甘肃省电力公司经济技术研究院, 兰州 730050 ;
3. 河南城建学院 土木工程学院, 河南 平顶山 467036
收稿日期:2015-11-03
基金项目:国家电网公司科技项目(KJ〔2013〕12、SGGSJYOOGHJS1400055)
作者简介:雒亿平(1984-), 男, 博士生, 高级工程师, 主要从事岩土体工程研究, (E-mail)luoyipingxy@163.com
言志信(通信作者), 男, 教授, 博士生导师, (E-mail)yzx10@163.com
摘要:针对目前使用的既抗压又抗拔基础存在的缺陷和不足,构建了联合板索基础并获得了发明专利授权。在研究联合板索基础与扩底桩基础的抗拔机理基础上,研究了联合板索基础与扩底桩基础所能承受的极限上拔力,通过联合板索基础与扩底桩基础的对比研究,揭示了联合板索基础的抗拔机理,并借助扩底桩基础的上拔力容许设计值和稳定验算公式,解决了联合板索基础设计和稳定验算问题。
关键词板索基础    联合基础    抗拔机理    上拔力    
Anti-tensile mechanism and allowable uplift force of joint plate cable foundation
Luo Yiping1,2, Deng Xiao1, Yan Zhixin1,3    
1. School of Civil Engineering and Mechanics, Lanzhou University, Lanzhou 730000, P. R. China;
2. The Research Institute of Economics and Technology of Gansu Province Electric Power Company, State Grid Corporation of China, Lanzhou 730050, P. R. China;
3. School of Civil Engineering, Henan University of Urban Construction, Pingdingshan 467036, Henan, P. R. China
Received: 2015-11-03
Foundation item: Science and Technology Project of State Grid Corporation of China(No. KJ(2013)12, SGGSJYOOGHJS1400055)
Author brief: Luo Yiping (1984-), main research interest:rock and soil engineering(E-mail)luoyipingxy@163.com.
Yan Zhixin (corresponding author), professor, doctoral supervisor, (E-mail)yzx10@163.com.
Abstract: A joint plate cable foundation is established and offered patent of invention to improve the deficiencies of present widely used compression and pulling resistant foundation. Based on the study of anti-tensile mechanism of joint plate cable foundation and belled pile foundation, the ultimate uplift force that the joint plate cable foundation and belled pile foundation can bear is further analyzed. The anti-tensile mechanism of the joint plate cable foundation is revealed through comparatively studying the joint plate cable foundation and belled pile foundation. The issue of designing and verifying the joint plate cable foundation is solved by using the allowable uplift force and the stability verification equation of the belled pile foundation, which provides theoretical and technical support to the promotion of such kind of foundation.
Key Words: plate cable foundation    joint foundation    anti-tensile mechanism    uplift force    

在基础设施建设中,上部结构的理论已较为成熟,设计思想和理念已较为先进,工程施工也已积累了较丰富的经验并不断得到发展。然而,地基基础的研究相对滞后,以致于工程建设中时常出现基础尺寸大,费用高昂,且造成材料浪费和环境破坏的情况,开发新型基础型式已成为满足工程建设需要的紧迫问题。近年来很多研究人员围绕探索造价低、可靠度高、施工简便可行的基础型式而不懈努力[1]

“大开挖”基础、“掏挖扩底”基础为现今主要使用的既抗压又抗拔的基础型式。“大开挖”基础以扰动的回填土构成抗拔土体保持基础的上拔稳定,由于是回填土,虽经夯实亦难以恢复其原有土的结构强度,主要靠扩大基础尺寸来满足抗拔稳定性,但是加大基础尺寸会提高基础造价和工程成本,同时,由于弃土较多,也对环境造成较大破坏。“掏挖扩底”基础利用天然土抗拔保持基础和地基上拔稳定,具有良好的抗拔稳定性,但只适用于在施工中掏挖和浇注混凝土时无水渗入的粘性土地基。

鉴于“大开挖”基础、“掏挖扩底”基础存在的缺陷和不足[2-3],构建了联合板索基础,并已获发明专利授权[4],联合板索基础作为一种新型基础,其可行性及优越性需要被认知,因此,联合板索基础的抗拔机理、所能承受的极限上拔力的探讨必不可少[4],笔者针对该基础型式,通过理论与数值模拟相结合进行深入研究。

1 联合板索基础的抗拔机理
1.1 抗拔机理对比的理论研究

抗拔基础所能承受的极限上拔力,可按“剪切法”或“土重法”计算。一般情况下,机扩型和掏挖型基础适用“剪切法”计算极限上拔力;“土重法”针对回填抗拔土体,适用于装配式基础、浇制基础和拉线基础计算极限上拔力[5]

图 1所示的联合板索基础,是具有一定厚度的镶嵌于地面中的上板与埋设于地下一定深度的基础下板,即锚板通过预应力锚索连接到一起的结构,由该基础的设计和施工所决定,应用“剪切法”计算其极限上拔力,主要原因有以下4点。

图 1 联合板索基础所受上拔力 Fig. 1 Pull force of joint plates by cable foundation

1) 联合板索基础结构决定。前已述及联合板索基础结构,如图 1所示。

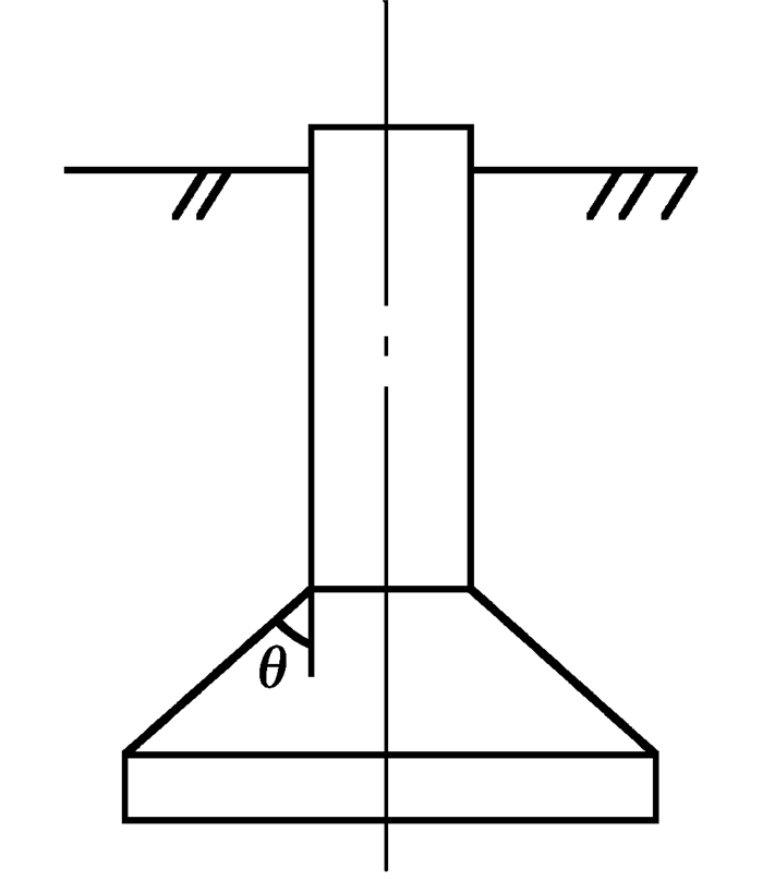
图 2为扩底桩基础,其底板的开展角θ对土体抗拔有一定的影响[6]。开展角θ的影响以基型系数ηθ表示,当θ>45°时,取ηθ=1.0;θ=30°~45°时,ηθ=0.7~0.95,可近似取ηθ=0.8。

图 2 底板开展角θ Fig. 2 Development angle of plate

对比图 1图 2可知,联合板索基础与扩底桩基础的结构极其相似,即联合板索基础的下板(锚板)+锚索相当于θ=90°(此时ηθ=1.0),且桩径极小的扩底桩。

2) 联合板索基础施工方法所决定。

联合板索基础的锚板和锚索,即该基础埋于土体中的部分,不论其施工方法、工作原理、受力分析、破坏形式等都与普通的掏挖扩底桩基础极其相似[4]。具体地说,联合板索基础的锚索可看作是极小的桩,而其锚板相当于桩底的扩大头,即可以说联合板索基础的锚索和锚板一起构成一种特殊的扩底桩。因此,锚板的极限上拔力和上拔稳定性计算也应该与扩底桩一样,按照“剪切法”进行计算。

3) 联合板索基础剪切破裂面决定。

联合板索基础主要由原状抗拔土体抵抗极限上拔力。相对于原状抗拔土体所能提供的极限上拔力,锚板之上土体的土重相对较小,而且联合板索基础下板,即锚板之上与扩底桩基础底部扩大头之上的土体重量差别则更小,联合板索基础拉拔破坏,必须克服其所能提供的极限上拔力,在原状土体中形成连续贯通的剪切破裂面,联合板索基础的抗拔是靠原状土体的抗剪强度提供抵抗破坏的抗拔力,扩底桩也如此,且两种情况下均是在上方的原状土体中形成几乎完全相同的曲面破裂和破裂面[7-8],因而,均应采用“剪切法”进行极限上拔力和上拔稳定计算,而且二者几乎相同。

4) 联合板索基础与扩底桩的上拔力。

图 1也是联合板索基础受上拔力作用的力学模型,从图可见,联合板索基础下板,即锚板所受的向上拉力仅为上部锚索的上拔力,该力的平衡力来自锚板上表面土体压力和锚板重力;同样,扩底桩基础上拔时,需要克服来自桩底扩大头上表面土体压力和桩体重力,且还需克服桩周土的阻力。

1.2 联合板索基础抗拔机理数值模拟分析

联合板索基础的锚板+锚索即为锚板基础,已有学者研究了锚板上拔问题,但一般通过监测锚板位移的方法确定极限上拔力,少有监测锚板上部土体位移与剪应变。

为了探讨联合板索基础下板,即锚板的极限抗拔承载力,通过对埋设在土体中的联合板索基础和扩底桩基础分别进行了数值模拟分析研究。为了开展对比研究,在数值模拟建模中设锚板基础下板(锚板)与扩底桩基础底部的扩大头完全相同,即均为圆板,且处于地基土体的相同埋深,亦即锚板基础下板(锚板)与扩底桩基础底部的底面处于地面之下同一深度,他们的上表面也处于同一深度和高程。另外,联合板索基础和扩底桩基础所处的地基也相同,亦即二者均处于具有相同物理力学性能和参数的地基土体之中。数值模拟发现,随着锚板受到的上拔力增大,锚板周围的土体最先发生破坏,土体中的塑性区以一定角度外倾并向上发展,逐渐发展直至贯通至地表,即形成完整的破裂面,达到剪切破坏;同时,在水平方向上向上逐层扩展,在地表向两侧扩至最大。破坏面整体形状为曲面,如图 3所示,这与规范中推荐的扩底桩土体上拔破坏面极其相似[9],说明数值模拟和工程实际一致,仅略有不同[10-11]

图 3 锚板基础上拔破坏 Fig. 3 Damage of anchor plate foundation by pull upward

扩底桩基础的上拔阻力主要来自桩体重力、桩身摩阻力以及扩大端受到的土体阻力,由于剪切破裂面形成于土体之中,因而极限上拔力基本上由破裂面上土体的抗剪强度决定,根据相关实验研究,扩底桩开始发生上拔破坏时,也会沿底板向上形成一条较为明显且有一定宽度的剪切带,当扩底桩发生最终的完全破坏时,土体中形成一个曲面破坏面,图 4所示为通过数值模拟获得了扩底桩上拔时的塑性变形区,与图 3很相似。可见,扩底桩基础与锚板基础的上拔破坏模式相近,可相互借鉴。

图 4 扩底桩基础上拔破坏 Fig. 4 Damage of expanded base pile foundation by pull upward

2 联合板索基础极限上拔力
2.1 极限上拔力对比研究

由前述可知,联合板索基础的结构、施工、破裂面、抗拔原理与扩底桩基础极其相似。为了验证联合板索基础锚板的极限上拔力能否按照扩底桩基础的抗拔验算公式进行稳定验算,通过数值模拟分析探讨联合板索基础运用扩底桩基础的极限上拔力验算公式验算的可行性与合理性,解决联合板索基础极限上拔力验算问题。

为了研究联合板索基础锚板是否能够采用扩底桩基础的浅埋抗拔验算公式进行设计,对比相同参数下的两种不同基础的极限上拔力数值模拟结果,表 1为数值模拟得到的浅埋情况下扩底桩基础和联合板索基础极限上拔力,基于表 1可绘制联合板索基础和扩底桩基础的极限上拔力对比图,如图 5所示。由图 5可以看出,当基础浅埋时,联合板索基础的极限上拔力曲线与圆形扩底桩基础的极限上拔力曲线具有一致的趋势,且吻合很好,但是,联合板索基础扣除基础自重的极限上拔力比扩底桩基础略大,这是因为扩底桩基础在上拔时,桩周土会随着基础上移,从而造成原状土体一定程度的破坏,使得部分土体侧压减小,导致土体滑动面上的剪切阻力下降。在浅埋情况下,相同参数的联合板索基础要比扩底桩基础的极限上拔力稍大。可见,联合板索基础圆形锚板情况下,其能承受的极限上拔力套用扩底桩基础的理论计算式是可行、合理和安全的。

表 1 扩底桩基础极限上拔力 Table 1 Ultimate pullout force of enlarged bottom pile foundation

图 5 两种基础极限上拔力对比图 Fig. 5 Comparison of ultimate pulling force of two kinds of foundation

2.2 极限上拔力设计验算公式

规范基于大量实验和经验确定了扩底桩基础设计用极限上拔力和稳定验算公式(不考虑基础自重)[9],见式(1)。

$\left[{{T_{\rm{E}}}} \right] = 0.4{A_1}{c_{\rm{w}}}h_{\rm{t}}^2/{\gamma _{\rm{f}}} + 0.8{A_2}{\gamma _{\rm{s}}}h_{\rm{t}}^3/{\gamma _{\rm{f}}}$ (1)

计算参数取由实验得到的原状黄土的强度指标(γs=14.5 kN/m3cw=40.9 kPa,φ=29.2°),基础附加分项系数γf取1.1,根据上述验算公式,亦即式(1)可计算出不考虑自重的极限上拔力的设计验算值,如表 2所示。

根据表 2绘出极限上拔力理论值[6]与设计验算值的对比曲线,如图 6所示。由表 2图 6可以看出,扩底桩进行上拔稳定验算时所采用的设计最大剪切上拔力,即容许设计值以及理论极限上拔力,都是随着埋深比的增大而增加的,而且呈相同的增长趋势,但是扩底桩进行上拔稳定验算时所采用的设计容许最大剪切上拔力,即容许设计值在数值上远小于极限上拔力的理论值。考虑到工程的安全性和稳定性以及理论计算的绝对理想状态,设计时进行验算所用到的容许设计值需要具有一定的保守性,应该在理论值的基础上有一定的折减,亦即除以安全系数。由此可见,规范中给出扩底桩的抗拔验算公式,即式(1)是合理、可行和相对安全的。

表 2 极限上拔力理论值与设计验算值对比 Table 2 Comparison between theoretical value and design calculation of the ultimate pullout force

图 6 扩底桩上拔力对比曲线 Fig. 6 Comparison curve of pullout force of enlarged bottom pile foundation

通过以上理论公式以及数值模拟计算结果的全面对比分析,可得出的联合板索基础锚板圆形锚板的抗拔稳定验算式

${\gamma _{\rm{f}}}T' \le 0.4{A_1}{c_{\rm{w}}}h_{\rm{t}}^2 + 0.8{A_2}{\gamma _2}h_1^3 + {Q_{{\rm{f下}}}}$ (2)

式中:T′为作用于锚索上的上拔力的设计验算值,kN;ht为从基础上板底面开始计算的基础锚板的埋置深度,m;hc为从基础上板底面开始计算的基础锚板的临界埋深,可按照表 3确定,m;cw为计算凝聚力,kN/m2,可通过实验或设计资料获得;γs为基础锚板上部土体的加权平均重度,kN/m3Qf下为基础自重,kN;B为基础上板的边长,m;A1A2为土的内摩擦角φ和相对埋深比ht/B的函数,可借用扩底桩基础设计规范[9]确定;γf为基础附加分项系数,可从扩底桩规范获得[9]

表 3 不同土体的临界深度 Table 3 The critical depth of different soils

3 结论

针对目前使用的既抗压又抗拔基础存在的缺陷和不足[12-15]构建了联合板索基础,它是一种新型基础结构型式,即由一个具有一定厚度的镶嵌在地表的上板和埋设在地下的下板,由预应力锚索(杆)连接起来构成的结构。通过理论分析和数值模拟计算相结合,探讨了联合板索基础的抗拔机理,研究了该基础所能承受的极限上拔力,获得了其上拔力的容许设计值,即容许上拔力和抗拔稳定验算公式。得到如下结论:

1) 联合板索基础与扩底桩基础的抗拔机理极为相似,均适用“剪切法”计算。

2) 联合板索基础与扩底桩基础的抗拔上拔破裂面极为相似,极限上拔力极为相似。

3) 联合板索基础锚板浅埋条件下,理论计算值与数值模拟相互吻合。

4) 获得了联合板索基础锚板设计用极限上拔力,即容许设计值和稳定验算公式。

参考文献
[1] 黄茂松, 余生兵. 基于块体集上限法的砂土中条形锚板抗拔承载力分析[J]. 岩土工程学报 , 2013, 35 (2) : 201–207.
HUANG M S, YU S B. Pull-out capacity of strip anchor plate in sand based on block set mechanism[J]. Chinese Journal of Geotechnical Engineering , 2013, 35 (2) : 201–207. (in Chinese)
[2] SONG Z H, HU Y X, RANDOLPH M F. Numerical simulation of vertical pullout of plate anchors in clay[J]. Journal of Geotechnical and Geoenvironmental Engineering , 2008, 134 (6) : 866–875. DOI:10.1061/(ASCE)1090-0241(2008)134:6(866)
[3] 孙晓立, 杨敏, 莫海鸿. 利用荷载传递法计算扩底抗拔桩的位移[J]. 岩土工程学报 , 2008, 30 (12) : 1815–1820.
SUN X L, YANG M, MO H H. Displacement of base-enlarged tension piles caculated by load transfer method[J]. Chinese Journal of Geotechnical Engineering , 2008, 30 (12) : 1815–1820. (in Chinese)
[4] 雒亿平, 范雪峰, 付兵彬, 等.输电杆塔板式单索基础结构:ZL201220519599.6[P]. 2013-04-03.
LUO Y P, FAN X F, FU B B. The board and cable type foundation structure of transmission tower: ZL201220519599.6[P]. 2013-04-03. (in Chinese)
[5] 孙晓立, 莫海鸿. 扩底抗拔桩变形的解析计算方法[J]. 岩石力学与工程学报 , 2009, 28 : 3008–3014.
SUN X L, MO H H. An analytical calculation method for displacement of under-reamed tension piles[J]. Chinese Journal of Rock Mechanics and Engineering , 2009, 28 : 3008–3014. (in Chinese)
[6] 邓骁.输电塔联合板索基础设计研究[D].兰州:兰州大学, 2014.
DENG X. Research on the design about the joint board cable transmission tower foundation[D]. Lanzhou: Lanzhou University, 2014. (in Chinese) http://cdmd.cnki.com.cn/article/cdmd-10730-1014305396.htm
[7] 张昕, 乐金朝, 刘汉东. 砂土中锚板抗拔性能实验研究[J]. 实验力学 , 2011, 26 (4) : 411–416.
ZHANG X, YUE J C, LIU H D. Experimental study on the uplift performance of plate anchor in sand[J]. Journal of Experimental Mechanics , 2011, 26 (4) : 411–416. (in Chinese)
[8] 刘明亮, 朱珍德, 刘金元. 基于PIV技术的锚板抗拉破坏模式识别[J]. 河海大学学报:自然科学版 , 2011, 39 (1) : 84–88.
LIU M L, ZHU Z D, LIU J Y. Identification of failure modes for uplift anchor plates based on PIV technology[J]. Journal of Hohai University: Natural Sciences , 2011, 39 (1) : 84–88. (in Chinese)
[9] DL/T 5219-2005架空送电线路基础设计技术规定[S].北京:中国电力出版社, 2005.
[10] OUYANG C J, XU Q, HE S M, et al. A generalized limit equilibrium method for the solution of active earth pressure on a retaining wall[J]. Journal of Mountain Science , 2013, 10 (6) : 1018–1027. DOI:10.1007/s11629-013-2576-x
[11] MURRAY E J, GEDDES J D. Uplift of anchor plates in sand[J]. Journal of Geotechnical Engineering , 1987, 113 : 202–215. DOI:10.1061/(ASCE)0733-9410(1987)113:3(202)
[12] 于龙, 刘君, 孔宪京. 锚板在正常固结黏土中的承载力[J]. 岩土力学 , 2007, 28 (7) : 1427–1434.
YU L, LIU J, KONG X J. Stability of plate anchors in NC clay[J]. Rock and Soil Mechanics , 2007, 28 (7) : 1427–1434. (in Chinese)
[13] ILAMPARUTHI K, DICKIN E A, MUTHUKRISHNAIAH K. Experimental investigation of the uplift behavior of circular plate anchors embedded in sand[J]. Canadian Geotechnical Journal , 2002, 39 : 648–664. DOI:10.1139/t02-005
[14] 范雪峰, 龙哲, 言志信. 黄土中联合板索基础的抗拔承载力变化规律及其影响因素[J]. 科技导报 , 2014, 32 (36) : 86–92.
FAN X F, LONG Z, YAN Z X. Vertical uplift capacity of combined cable-slab foundation in loess and influencing factors[J]. Science & Technology Review , 2014, 32 (36) : 86–92. (in Chinese)
[15] RAO K S S, KUMAR J. Vertical uplift capacity of horizontal anchors[J]. Journal of Geotechnical Engineering , 1994, 7 : 1134–1147.