土木建筑与环境工程  2017, Vol. 39 Issue (3): 58-66   PDF    
高温下钢管约束型钢混凝土柱的受力性能
王卫永a,b, 宋柯岩a, 刘界鹏a,b    
重庆大学 a.土木工程学院;山地城镇建设与新技术教育部重点试验室, 重庆 400045
收稿日期:2016-11-14
基金项目:国家自然科学基金(51622802);国家重点研发计划(2016YFC0701203)
作者简介:王卫永(1982-), 男, 副教授, 博士, 主要从事结构抗火性能研究, (E-mail) wywang@cqu.edu.cn
摘要:火灾下无防火保护的结构构件温度会迅速上升,从而造成钢材和混凝土的强度明显下降。为了研究火灾下钢管约束型钢混凝土柱的受力性能,考虑火灾下钢管约束型钢混凝土柱的不均匀温度分布及温度对材料力学性能的影响,提出了火灾下受轴心荷载作用的钢管约束型钢混凝土柱承载力的计算方法。利用有限元软件ABAQUS对提出的计算方法进行了验证,结果吻合较好。进而采用该计算方法对影响高温下承载力的参数进行了分析,研究表明:随着构件截面尺寸的增加以及混凝土强度和钢材强度的提高,构件的承载力逐渐增加,而钢管壁厚的改变对承载力并无太大影响。利用有限元软件ABAQUS分析了荷载比、构件尺寸、钢管壁厚等因素对构件耐火极限的影响,发现耐火极限随着荷载比和钢管壁厚的增加而减小,随着构件尺寸的增加而增大。
关键词钢管约束型钢混凝土柱    温度    受力性能    有限元分析    
Fire performance of circular tubed steel reinforced concrete columns
Wang Weiyonga,b, Song Keyana, Liu Jiepenga,b    
a.School of Civil Engineering;b.Key Laboratory of New Technology for Construction of Cities in Mountain Area(Ministry of Education), Chongqing University, Chongqing 400045, P. R. China
Received: 2016-11-14
Foundation item: National Natural Science Foundation of China (No. 51622802);National Key Research and Development Program of China(No.2016YFC0701203)
Author brief: Wang Weiyong (1982-), PhD, associate professor, main research interest: fire resistance of structures, (E-mail) wywang@cqu.edu.cn.
Abstract: The temperature of the structural components without fire protection increases rapidly in fire, and it will result in significant? decline in the strength of steel and concrete. In order to investigate the mechanical performance of circular tubed steel reinforced concrete columns in high temperature, the effect of temperature on material properties and the asymmetry of temperature are analyzed, then the calculation method of bearing capacity of axial loading columns in fire is proposed. This method is verified by ABAQUS and good agreement is achieved. The parameters affecting the ultimate bearing capacity of columns in high temperature are studied using the method. The results show that the cross-section dimension and the strength of concrete and steel have significant effects on the ultimate bearing capacity, whilst the wall thickness of steel tube has little effect. The influences of load ratio, dimensions of specimen, and thickness of steel tube on the fire resistance are investigated by ABAQUS. It is shown that the cross-sections dimensions have significant effects on the resistance. However, with increase of load ratio and wall thickness of steel tube, the fire resistance is decreased.
Key Words: steel tube reinforced concrete column    temperature    mechanical performance    finite element analysis    

钢管约束混凝土柱(Steel Tube Reinforced Concrete Column)指的是在钢管内部填充混凝土,钢管主要对核心混凝土起约束作用而不直接承担竖向荷载的一种组合构件[1]。这种形式的构件使得钢材和混凝土的材料特性得到了充分利用,一方面,提高了构件的承载力和延性[2];另一方面,钢材受拉性能和混凝土的抗压性能得到充分利用,最大限度地发挥了钢管对混凝土的约束作用[3]。另外,钢管本身可以直接作为永久模板,减少施工难度和模板用量,提高施工速度[4]。同时,由于把承受竖向荷载的型钢置于构件的内部,而外部钢管不承担竖向荷载,只利用其对混凝土的约束作用,火灾下型钢强度的强度损失更少,有利于提高构件和结构的抗火性能。

对于型钢混凝土柱的抗火性能,学者们进行了一些研究。Hass[5]利用试验研究和理论分析,研究了型钢混凝土柱的截面尺寸、柱的长度和火灾荷载比等参数对其耐火极限的影响规律。Yu等[6]对火灾下型钢混凝土柱力学性能的相关试验研究进行了报道,并采用有限元对试验进行了模拟,针对试验和参数分析的结果,给出了考虑长细比和荷载偏心率等参数影响的高温承载力简化计算公式。韩林海等[7]针对型钢混凝土构件温度场和耐火极限建立有限元模型,并在考虑不同参数影响的基础上,针对型钢混凝土柱耐火极限提出了简化计算公式。宋天诣等[8]考虑荷载偏心距、截面类型和火灾荷载比等参数的影响,进行了型钢混凝土柱耐火极限的试验研究。对于钢管约束混凝土柱抗火性能的研究,刘发起[9]进行了标准火灾作用下钢管约束钢筋混凝土柱足尺明火试验,对火灾作用下构件截面关键点温度、轴向变形-时间关系曲线以及耐火极限进行了实测,并得到了构件的破坏模式。对荷载比、含钢率、长细比、材料强度、截面尺寸和配筋率等因素对耐火极限的影响规律进行了分析,并提出了ISO834标准火灾作用下钢管约束钢筋混凝土柱承载力的简化计算方法。对于钢管约束型钢混凝土柱抗火性能研究的报道,文献[10]对其火灾下的温度分布进行了分析,而对于高温下受力性能的研究,目前尚未有详细报道,有待进一步研究。

笔者在考虑常温下计算方法的基础上,对火灾下钢管约束型钢混凝土柱的受力性能进行研究,提出处于ISO834标准火灾环境下的轴心受压钢管约束型钢混凝土柱承载力的计算方法,并分析了构件截面尺寸、钢管厚度、混凝土强度和钢材强度对受力性能的影响,同时利用有限元对影响构件耐火极限的因素进行了参数分析。

1 温度计算方法

火灾作用下钢管约束型钢混凝土柱中钢管、型钢和混凝土的温度是确定构件承载力的基础。宋柯岩等[10]对钢管约束型钢混凝土柱火灾下的温度分布进行了有限元模拟,研究了钢管厚度、截面尺寸、钢材类型和混凝土强度对构件温度分布的影响,笔者在其研究的基础上,通过数据拟合,提出了钢管约束型钢混凝土柱火灾下型钢温度的计算方法,并对已有的钢管温度和混凝土温度的计算方法进行了有限元验证。

1.1 钢管温度

《钢管混凝土结构技术规范》(GB 50936—2014)[11]给出了ISO834标准火灾作用下钢管的温度计算公式

$ {T_{\rm{s}}} = 1\;200\left( {1 - \frac{1}{{1 + {{\left( {\frac{t}{{0.337 + 8.5{t_{\rm{s}}}}}} \right)}^{0.996 + 14{t_{\rm{s}}}}}}}} \right) + 20 $ (1)

式中:ts为钢管厚度,m;t为升温时间,h。

日本钢管混凝土结构设计与施工指南AIJ[12]建议的ISO834标准火灾作用下钢管温度的计算公式为

$ {T_{\rm{s}}} = 1\;080 - 450{{\rm{e}}^{ - 0.8t}} - 630{{\rm{e}}^{ - 3t}} + 20 $ (2)

采用GB 50936—2014和AIJ给出的钢管温度计算公式计算直径分别为300、500、800 mm的钢管约束型钢混凝土柱的钢管温度,并用ABAQUS有限元软件进行温度分析,分析方法和过程见文献[10],对比结果如图 1。可见,GB 50936—2014和AIJ的预测结果均与有限元结果比较接近,笔者采用GB 50936—2014的公式计算钢管的温度。

图 1 钢管温度计算结果对比 Fig. 1 Comparison of calculated results of steel tube temperature

1.2 型钢温度

由文献[10]参数分析可知,影响型钢温度的主要因素是构件截面尺寸。型钢升温主要由混凝土的热传导引起。有限元分析中发现翼缘边缘温度最高,从翼缘边缘到腹板中心温度逐渐降低,而型钢翼缘边缘温度和其周边混凝土温度的差值与翼缘边缘距混凝土中心的距离成二次函数关系,因此,可以根据翼缘边缘混凝土温度来计算型钢翼缘边缘的温度。文献[12]给出了混凝土内任一点温度的计算公式

$ {T_{\rm{c}}} = \left( {{T_{\rm{s}}} - 20} \right)\exp \left( {\frac{{20x/{D_{\rm{c}}} - 10)}}{{{{\left( {3\;600t/D_{\rm{c}}^2} \right)}^{3/4}}}}} \right) + 20 $ (3)

式中:Ts为钢管温度,℃;x为该点距混凝土中心的距离,cm;Dc为核心混凝土的直径,cm。

在式(3) 的基础上,利用分析得到的型钢上一点和其周边混凝土温度差值与翼缘边缘距混凝土中心距离的二次函数关系,得到型钢翼缘边缘温度的计算式

$ {T_{\rm{b}}} = \left( {{T_{\rm{s}}} - 20} \right)\exp \left( {\frac{{20X/{D_{\rm{c}}} - 10)}}{{{{\left( {3\;600t/D_{\rm{c}}^2} \right)}^{3/4}}}}} \right) - 0.012{X^2} + 4.1X - 260 $ (4)

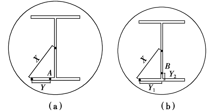
式中:X为翼缘边缘距混凝土中心的距离,cm, 如图 2所示。

图 2 型钢温度计算公式中参数XY含义示意图 Fig. 2 Schematic diagram of the meanings of X and Y in formula for calculating temperature of steel

型钢温度从翼缘边缘到腹板中心线性降低,因此,在计算型钢翼缘边缘温度公式的基础上,增加线性方程即可求得型钢其他部位的温度

$ {T_{\rm{a}}} = \left( {{T_{\rm{s}}} - 20} \right)\exp \left( {\frac{{20x/{D_{\rm{c}}} - 10}}{{{{\left( {3\;600t/D_{\rm{c}}^2} \right)}^{3/4}}}}} \right) - 0.012{X^2} + 4.1X - 7.5Y- 260 $ (5)

式中:Y为计算点沿型钢到翼缘边缘的距离,cm。当计算点位于型钢翼缘时,Y为计算点沿翼缘到翼缘边缘的距离,如图 2(a)所示;当测点位于型钢腹板时,Y=Y1+Y2,如图 2(b)所示,其中Y1为翼缘宽度的一半,Y2为计算点到翼缘和腹板连接处的距离。

采用有限元软件ABAQUS对式(4)、(5) 进行验证,图 3为不同直径下翼缘端部温度的结果对比,图 4表示直径为300 mm时型钢不同位置处温度结果对比。由结果对比可知,式(4)、(5) 可以对型钢的温度进行较好地预测。

图 3 型钢翼缘端部温度对比 Fig. 3 Comparison of temperature in flange edge

图 4 型钢腹板温度结果对比 Fig. 4 Comparison of temperature in web

1.3 混凝土温度

混凝土本身具有导热系数小和热容大的特性,且其内部温度分布不均匀。为了方便实际应用,考虑以等效温度作为标准来衡量整个混凝土截面的温度水平。可以根据高温下混凝土的抗压强度折减系数和混凝土的等效强度反算得到混凝土等效温度。高温下混凝土等效强度定义为:将混凝土截面划分为许多单元,各单元温度取其形心的温度,根据Lie[13]建议的高温下混凝土强度计算公式,计算得到每个单元混凝土在其温度下的强度,又已知每个单元的面积,则可得到整个截面的承载力,将整个截面的承载力除以全截面面积,得到高温下混凝土的等效强度。文献[13]给出了高温下混凝土的抗压强度折减系数与混凝土温度的关系。另一方面,也可以根据高温下混凝土的等效强度与常温下混凝土强度的比值得到该折减系数,将两种方法获得的高温下混凝土的抗压强度折减系数联立求解,即可确定混凝土的等效温度。刘发起[9]提出了火灾作用下钢管约束混凝土柱中混凝土等效温度的计算式

$ {T_{{\rm{c,eq}}}} = 450 + 425\left( {\frac{{0.045}}{{{D_{\rm{c}}}}} - 0.016} \right)t $ (6)

利用有限元软件计算不同受火时间下的钢管混凝土柱承载力,将承载力施加到混凝土温度均匀分布的模型上,按照相同荷载下位移相等的原则求得此时混凝土对应的温度,与式(6) 的计算结果进行对比,见图 5,可见式(6) 与有限元计算结果吻合良好。

图 5 混凝土温度计算结果对比 Fig. 5 Comparison of temperature in concrete

2 高温下承载力的计算方法
2.1 常温承载力计算方法

周绪红等[14]提出了钢管约束型钢混凝土柱在常温下截面极限轴压承载力的计算式

$ {N_{\rm{u}}} = {A_{\rm{a}}}{f_{\rm{a}}} + {A_{\rm{c}}}{f_{{\rm{cc}}}} $ (7)

式中:Aa为型钢的截面面积;Ac为混凝土的截面面积;fa为型钢屈服强度;fcc为约束混凝土抗压强度,按照式(8) 计算。

$ {f_{{\rm{cc}}}} = {f_{\rm{c}}}\left( { - 1.254 + 2.254\sqrt {1 + 7.94\frac{{{{f'}_{\rm{r}}}}}{{{f_{\rm{c}}}}}} - 2\frac{{{{f'}_{\rm{r}}}}}{{{f_{\rm{c}}}}}} \right) $ (8)

式中:fc为混凝土轴心抗压强度设计值;fr′为外包钢管对核心混凝土的有效约束应力,按照式(9) 计算。

$ {{f'}_{\rm{r}}} = \frac{{2{t_{\rm{s}}}{f_{\rm{y}}}}}{{D - 2{t_{\rm{s}}}}} $ (9)

式中:fy为钢材屈服强度;D为钢管外径;ts为钢管壁厚。

2.2 高温承载力计算方法

根据构件的受火时间,通过式(1)、式(5) 和式(6) 可以得到钢管、型钢的温度以及混凝土的等效温度,根据温度可得到高温下结构钢屈服强度折减系数和高温下混凝土抗压强度折减系数,进而可得到高温下钢管和型钢的屈服强度以及高温下混凝土的等效抗压强度。

高温下结构钢屈服强度折减系数[15]计算式为

$ {k_{{\rm{yT}}}} = \left\{ \begin{array}{l} 1.0\;\;\;\;\;\;\;\;\;\;\;\;\;\;\;\;\;\;\;\;\;\;\;\;\;\;\;\;\;\;\;\;\;\;\;\;\;\;\;\;\;\;\;\;\;\;\;\;\;\;\;\;\;\;\;\;\;\;\;\;\;\;\;\;\;\;\;\;\;\;\;\;\;\;\;\;\;\;\;20{\rm{℃}} \le T \le 300{\rm{℃}}\\ 1.24 \times {10^{ - 8}}{T^3} - 2.096 \times {10^{ - 5}}{T^2} + 9.228 \times {10^{ - 3}}T - 0.216\;8\;\;\;\;\;\;300{\rm{℃}} < T < 800{\rm{℃}}\\ 0.5 - T/2\;000\;\;\;\;\;\;\;\;\;\;\;\;\;\;\;\;\;\;\;\;\;\;\;\;\;\;\;\;\;\;\;\;\;\;\;\;\;\;\;\;\;\;\;\;\;\;\;\;\;\;\;\;\;\;\;\;\;\;\;\;\;\;\;800{\rm{℃}} \le T \le 1\;000{\rm{℃}} \end{array} \right. $ (10)

Lie[13]建议的高温下混凝土抗压强度折减系数计算式为

$ {k_{{\rm{c}}T}} = \left\{ \begin{array}{l} 1.0\;\;\;\;\;\;\;\;\;\;\;\;\;\;\;\;\;\;\;\;\;\;\;\;\;\;\;\;\;\;\;\;\;\;0{\rm{℃}} \le T \le 450{\rm{℃}}\\ 2.011 - 2.353\left( {\frac{{{\rm{T}} - 20}}{{1\;000}}} \right)\;\;\;\;\;\;450{\rm{℃}} \le T \le 874{\rm{℃}}\\ 0\;\;\;\;\;\;\;\;\;\;\;\;\;\;\;\;\;\;\;\;\;\;\;\;\;\;\;\;\;\;\;\;\;\;\;T > 874{\rm{℃}} \end{array} \right. $ (11)

在常温下钢管约束型钢混凝土柱抗压强度承载力计算公式的基础上,考虑构件中温度的不均匀分布及材料力学性能受温度的影响,得出高温下钢管约束型钢混凝土柱的承载力计算式

$ {N_{\rm{u}}}\left( T \right) = {A_{\rm{c}}}{f_{{\rm{cc}}}}\left( T \right) + {A_{\rm{b}}}{f_{\rm{b}}}\left( T \right) $ (12)
$ {f_{{\rm{cc}}}}\left( T \right) = {{f'}_{{\rm{c,eq}}}}\left( T \right)\left( { - 1.254 + 2.254\sqrt {1 + 7.94\frac{{{f_{\rm{r}}}\left( T \right)}}{{{{f'}_{{\rm{c,eq}}}}\left( T \right)}}} - 2\frac{{{f_{\rm{r}}}\left( T \right)}}{{{{f'}_{{\rm{c,eq}}}}\left( T \right)}}} \right) $ (13)
$ {f_{\rm{r}}}\left( T \right) = \frac{{2{t_{\rm{s}}}{f_{\rm{y}}}\left( T \right)}}{{D - 2{t_{\rm{s}}}}} = \frac{{2{t_{\rm{s}}}{k_{{\rm{y}}T}}{f_{\rm{y}}}}}{{D - 2{t_{\rm{s}}}}} $ (14)
$ {{f'}_{{\rm{c,eq}}}}\left( T \right) = {k_{{\rm{c}}T}}{{f'}_{\rm{c}}} $ (15)
$ {f_{\rm{b}}}\left( T \right) = {k_{{\rm{y}}T}}{f_{\rm{b}}} $ (16)

式中:fcc(T)为高温下约束混凝土抗压强度,按式(13) 计算;fb(T)为高温下型钢屈服强度;Ab为型钢横截面面积;fc, eq′ (T)为高温下混凝土等效抗压强度;kcT为混凝土抗压强度折减系数,按照式(11) 计算,其中,混凝土等效温度按式(6) 计算;kyT为钢管和型钢屈服强度折减系数,按式(10) 计算,其中钢管温度按式(1) 计算,型钢温度按式(4) 和式(5) 计算,取翼缘端部和腹板中心温度的平均值。

2.3 有限元模型验证

目前尚未有针对钢管约束型钢混凝土柱抗火性能的试验研究报道,因此,用常温下钢管约束型钢混凝土柱受力性能试验对有限元模型进行验证。利用有限元软件ABAQUS建立分析模型,钢管、型钢和混凝土采用结构化网格划分,钢管和型钢因为厚度较小,采用四边形线性减缩积分壳单元(S4R), 混凝土部分采用实体单元(C3D8R)。型钢与混凝土之间通过内置区域(Embed)来考虑其相互作用,通过定义接触(interaction)来考虑钢管对混凝土的约束作用,法向方向钢管与混凝土之间采用硬接触,当界面之间为压力时则完全传递压力,当界面之间出现拉力时则允许两者分离,钢管和混凝土之间切向的粘结滑移采用库伦摩擦模型来模拟。模型分析结果与文献[16]中直径分别为200和240 mm的构件试验结果对比如图 6所示,两者吻合良好,说明有限元模型有良好的适用性。

图 6 荷载-位移关系曲线试验结果与有限元结果对比 Fig. 6 Comparisons between predicted and test axial displacement-force curves

利用上述建模方法建立高温下承载力分析模型,柱直径D为300 mm,钢管壁厚ts为3 mm,型钢采用HM200×150,长度L为900 mm,型钢屈服强度fy为285.4 N/mm2,钢管屈服强度fb为291 N/mm2,混凝土立方体抗压强度fcu为73.2 N/mm2。钢材的高温下应力-应变模型采用EN1993-1-2:2005[17]的模型,混凝土采用Lie[13]的混凝土高温应力-应变关系模型。单元划分与文献[10]中单元划分相同,如图 7所示,以便于温度场的导入。

图 7 ABAQUS有限元模型网格划分图 Fig. 7 Mesh of finite element model in ABAQUS

采用式(12)~(16) 对ISO834标准火灾作用下的轴心受压钢管约束型钢混凝土柱的强度承载力进行计算。公式和有限元结果对比如图 8所示。ISO834标准火灾作用下,计算公式结果与有限元结果均吻合很好(ISO834标准火灾作用下的混凝土温度须考虑混凝土温度不均匀系数[9]),说明公式可以较好地预测ISO834标准火灾作用下钢管约束型钢混凝土构件的强度承载力。

图 8 ISO834标准火灾作用下柱承载力预测 Fig. 8 Prediction of bearing capacity of columns in ISO-834 fire

3 火灾下构件承载力参数分析

由式(11)~(15) 可知,影响火灾下钢管约束型钢混凝土柱受力性能的因素包括构件截面尺寸、钢管厚度、混凝土强度和钢材强度,采用笔者提出的计算方法分析上述因素对构件受力性能的影响,具体参数如表 1所示。

表 1 钢管约束型钢混凝土柱耐火极限分析参数 Table 1 Parameters of fire resistance analysis of steel tube reinforced concrete columns

3.1 构件截面尺寸

在保证长径比恒定,含钢率不变的情况下分别取截面直径D为250、300、350、400 mm的构件进行承载力计算。由图 9(a)可以看出,随着构件直径的增大,其承载力逐渐增大。在0~0.5 h内,直径越大,其承载力降低速度越大,0.5 h以后,不同直径构件的承载力下降速度基本相同,相比0~0.5 h趋于平缓。这主要是因为钢管在0.5 h内温度可以达到800 ℃以上,其对混凝土的约束作用迅速降低,因而此阶段承载力变化速度最快。

图 9 截面尺寸和钢管壁厚对火灾下柱受力性能的影响 Fig. 9 Effect of dimensions and steel tube thickness on bearing capacity of columns

3.2 钢管厚度

在混凝土直径和内部型钢尺寸不变的情况下改变钢管的厚度,承载力计算结果如图 9(b)所示。可以发现,常温下增加钢管厚度可以提高构件的承载力,但是随着受火时间的增加,钢管厚度对承载力的影响逐渐降低,受火1 h后,不同钢管厚度的柱的承载力相同。原因是常温下随着钢管厚度的增加,其对核心混凝土的约束作用越好,进而提高构件承载力。受火时,随着钢管温度的增加,其对混凝土的约束作用逐步丧失,因而不同钢管厚度的构件其承载力逐渐趋于相同。

3.3 混凝土强度

利用公式对采用不同强度混凝土的柱进行火灾下承载力计算,结果如图 10(a)所示。由图 10(a)可见,提高混凝土强度有利于提高构件的承载力,且不同混凝土强度的柱在火灾下的承载力降低趋势相同,承载力的差值随受火时间的增加而逐渐减小。

图 10 混凝土强度和钢材强度对构件火灾下承载力的影响 Fig. 10 Effect of strength of concrete and steel on bearing capacity of columns

3.4 钢材强度

将钢管分别采用Q235、Q460、Q690钢材的钢管约束型钢混凝土柱进行火灾下承载力计算,结果如图 10(b)。由图 10(b)可见,钢材强度越高构件在火灾下承载力越高。随着受火时间的增加,采用不同强度钢材的钢管构件承载力差值逐渐减小。

4 耐火极限分析

构件在标准升温火灾条件下失去完整性、稳定性或绝热性所用的时间为建筑结构构件的耐火极限,一般以小时(h)计[15]。对于钢管约束型钢混凝土柱,根据《建筑构件耐火试验方法第1部分:通用要求》(GB/T 9978.1—2008) 规定,当构件轴向变形达到L/100 mm或构件的轴向变形速率达到0.003L mm/min(L为柱长,mm),认为其达到耐火极限。可能影响火灾下钢管约束型钢混凝土柱耐火极限的因素包括荷载比、构件截面尺寸、钢管厚度等,考虑上述因素对构件耐火极限的影响,建立有限元软件ABAQUS进行分析,具体参数如表 2所示。

表 2 耐火极限分析参数 Table 2 Parameters of fire resistance analysis

4.1 荷载比

利用ABAQUS有限元软件对长细比为3,壁厚为3 mm的钢管约束型钢混凝土柱进行耐火极限分析,结果见图 11(a)。从图中可见,柱的耐火极限受荷载比的影响较大,其随着荷载比的增大而明显降低,且大直径的柱受荷载比影响更严重。这主要是因为高温下钢管对混凝土的约束作用大大减小,导致混凝土抗压承载力大幅度降低,柱的承载力也远低于室温下,荷载比越大,施加在柱上的力越大,因而耐火极限也越短。

图 11 不同参数对柱耐火极限的影响 Fig. 11 Effect of different parameters on fire resistance of columns

4.2 截面尺寸

在保持长细比恒定,含钢率不变的情况下分别取截面直径D为250、300、350、400 mm的构件进行耐火极限分析,结果如图 11(b)所示。从图中可见,荷载比较小时,随着截面尺寸的增大,柱的耐火极限逐渐增加,当荷载比较大时,由于柱本身在常温下就处于较高的应力水平,导致耐火极限很小,此时截面尺寸对耐火极限的影响不明显。

4.3 钢管壁厚

在保证长细比、型钢含钢率不变的情况下改变构件中钢管的厚度,其对耐火极限的影响如图 11(c)所示。在确定荷载比下,随着壁厚的增加,柱的耐火极限逐渐降低。主要原因是,常温下约束混凝土的强度随钢管厚度的增加而增加,而在火灾下,钢管温度迅速升高而强度降低,导致其对混凝土的约束作用大大减弱。钢管越厚,混凝土强度的损失相比常温下越多,而荷载比不变,则耐火极限越短。

5 结论

通过理论分析和有限元模拟,对火灾下轴心受压钢管约束型钢混凝土柱的温度分布和极限承载力进行了研究,探究了构件受力性能受截面尺寸、钢管厚度、混凝土强度和钢材强度等因素的影响,同时采用有限元软件对荷载比、构件截面尺寸、钢管壁厚等因素对构件耐火极限的影响进行了分析,得出以下结论:

1) 提出的火灾下钢管约束型钢混凝土柱型钢的温度计算方法可以准确地进行温度计算。

2) 考虑温度对材料力学性能的影响后,常温下钢管约束型钢混凝土柱的极限承载力计算方法可以延伸到高温下使用。

3) 火灾下轴心受压钢管约束型钢混凝土柱的承载力随着构件截面尺寸、混凝土强度和钢材强度的增加而逐渐增加,但钢管壁厚的改变对于承载力并无太大影响。

4) 钢管约束型钢混凝土柱的耐火极限受荷载比的影响很大,构件的耐火极限随着荷载比的增加而大幅度下降。当荷载比较小时,耐火极限随着钢管壁厚的增加而减小,随着柱直径的增加而增加;当荷载比较大时,钢管壁厚和构件直径对耐火极限的影响很小。

参考文献
[1] 甘丹. 钢管约束混凝土短柱的静力性能和抗震性能研究[D]. 兰州: 兰州大学, 2012.
GAN D. Static and seismic behavior of steel tube confined concrete short column[D]. Lanzhou:Lanzhou University, 2012. (in Chinese)
[2] ZHOU X H, LIU J P. Seismic behavior and strength of tubed steel reinforced-concrete (SRC) short columns[J]. Journal of Constructional Steel Research, 2010, 66(7): 885–896. DOI:10.1016/j.jcsr.2010.01.020
[3] LIU J P, ABDULLAH J A, ZHANG S M. Hysteretic behavior and design of square tubed reinforced and reinforced concrete (STRC and/or STSRC) short columns[J]. Thin-walled Structures, 2011, 49(7): 874–888. DOI:10.1016/j.tws.2011.02.012
[4] 张素梅, 刘界鹏, 马乐. 圆钢管约束高强混凝土轴压短柱的试验研究与承载力分析[J]. 土木工程学报, 2007, 40(3): 24–31.
ZHANG S M, LIU J P, MA L. Axial compression test and analysis of circular tube confined HSC stub columns[J]. China Civil Engineering Journal, 2007, 40(3): 24–31. (in Chinese)
[5] HASS R. Zur praxisgerechten brandschutz-technischen beurteilung von stützen aus stahl und beton[R]. Institut für Baustoff, Massivbau und Brandschutz der Technischen Universitat Braunschweig, Heft 69, 1986.
[6] YU J T, LU Z D, XIE Q. Nonlinear analysis of SRC columns subjected to fire[J]. Fire Safety Journal, 2007, 42(1): 1–10. DOI:10.1016/j.firesaf.2006.06.006
[7] 韩林海, 郑永乾. SRC和RC柱的耐火性能及抗火设计方法[C]//第三届全国钢结构防火及防腐技术研讨会暨第一届全国结构抗火学术交流会, 福州, 2005: 21-56.
HAN L H, ZHENG Y Q. Fire performance and design method of SRC and RC columns[C]//The 3rd National Symposium on Fire Protection and Anticorrosion for Steel Structures, Fuzhou, 2005:21-56. (in Chinese)
[8] 宋天诣, 韩林海, 经建生. 型钢混凝土柱耐火性能的实验研究[C]//第四届全国钢结构防火及防腐技术研讨会暨第二届全国钢结构抗火学术交流会, 上海, 2007: 158-172.
SONG T Y, HAN L H, JING J S. Fire resistance of steel reinforced concrete columns[C]//The 4th National Symposium on Fire Protection and Anticorrosion for Steel Structures, Shanghai, 2007:158-172. (in Chinese)
[9] 刘发起. 火灾下与火灾后圆钢管约束钢筋混凝土柱力学性能研究[D]. 哈尔滨: 哈尔滨工业大学, 2014.
LIU F Q. Fire and post-fire behaviors of circular steel tube confined reinforced concrete columns[D]. Harbin:Harbin Institute of Technology, 2014. (in Chinese)
[10] 宋柯岩, 王卫永. 火灾下钢管约束型钢混凝土柱温度分布[C]//中国钢结构协会稳定与疲劳分会第十五届学术交流会暨教学研讨会, 昆明, 2016: 429-436.
SONG K Y, WANG W Y. Temperature distribution of tubed steel reinforced concrete columns in fire[J]. ISSF-2016, Kunming, 2016:429-436. (in Chinese)
[11] 钢管混凝土结构技术规范: GB 50936-2014[S]. 北京: 中国建筑工业出版社, 2014.
Technical code for concrete filled with steel tubular structures:GB 50936-2014[S]. Beijing:China Architecture & Building Press, 2014. (in Chinese)
[12] AIJ. Recommendations for design and construction of concrete-filled steel tubular structures[S]. Architectural Institute of Japan, 2008.
[13] LIE T T. Fire resistance of circular steel columns filled with bar-reinforced concrete[J]. Journal of Structural Engineering, ASCE, 1994, 120: 1489–1509. DOI:10.1061/(ASCE)0733-9445(1994)120:5(1489)
[14] 周绪红, 刘界鹏. 钢管约束混凝土柱的性能与设计[M]. 北京: 科学出版社, 2010.
ZHOU X H, LIU J P. Performance and design of steel tube confined concrete members[M]. Beijing: Science Press Ltd., 2010. (in Chinese)
[15] 李国强, 韩林海, 楼国彪, 等. 钢结构及钢-混凝土组合结构抗火设计[M]. 北京: 中国建筑工业出版社, 2006.
LI G Q, HAN L H, LOU G B. Fire resistance design of steel and steel-concrete composite structures[M]. Beijing: China Architecture & Building Press, 2006. (in Chinese)
[16] 王宣鼎. 钢管约束型钢混凝土短柱轴压及偏压力学性能研究[D]. 哈尔滨: 哈尔滨工业大学, 2014.
WANG X D. Research on axial and eccentric behavior of tubed steel reinforced concrete stub columns[D]. Harbin:Harbin Institute of Technology, 2014. (in Chinese)
[17] BS EN 1993-1-2:2005. Design of steel structures-Part 1-2, General rules structures fire design[S]. Brtish Standards Institution, 2005.