土木建筑与环境工程  2018, Vol. 40 Issue (4): 135-141   PDF    
废弃玻璃细骨料钢筋混凝土柱的受压性能
王凤池, 官爽, 孙畅, 贾世龙    
沈阳建筑大学 土木工程学院, 沈阳 110168
收稿日期:2017-09-18
基金项目:沈阳市科技计划(F12-173-9-00);辽宁省科技攻关计划(2011222007);辽宁省"百千万人才工程"项目(2015-57)
作者简介:王凤池(1970-), 男, 教授, 博士, 主要从事抗震减灾研究, E-mail:cefcwang@sjzu.edu.cn
摘要:为研究废弃玻璃细骨料对混凝土柱受力性能的影响,对6个普通骨料钢筋混凝土柱和12个废弃玻璃细骨料钢筋混凝土柱进行了静力受压试验。考虑废弃玻璃细骨料取代率、长细比和偏心距3个因素,分析了不同废弃玻璃细骨料掺量对钢筋混凝土柱的破坏形态、极限承载力、轴向位移、跨中挠度、混凝土应变和钢筋应变的影响。不论是轴心受压还是偏心受压,废弃玻璃细骨料钢筋混凝土柱破坏机理均与普通钢筋混凝土柱相似。掺量100%的废弃玻璃细骨料钢筋混凝土柱的正截面承载力较高。废弃玻璃细骨料钢筋混凝土柱的正截面应变符合平截面假定,采用中国相关规范计算试件的极限承载力,并将理论值与试验值进行对比,证明可以采用现行的国家规范对废弃玻璃细骨料钢筋混凝土柱进行正截面承载力计算。研究表明,废弃玻璃细骨料可以100%替代混凝土柱中普通砂,且抗压性能可以满足使用要求。
关键词废弃玻璃细骨料    钢筋混凝土柱    极限承载力    长细比    偏心距    
Compression behaviors of reinforced recycled glass fine aggregate concrete columns
Wang Fengchi, Guan Shuang, Sun Chang, Jia Shilong    
School of Civil Engineering, Shenyang Jianzhu University, Shenyang 100168, P. R. China
Received: 2017-09-18
Foundation item: Science and Technology Program of Shenyang (No.F12-173-9-00); Key Technologies R & D Program of Liaoning Province (No.2011222007); " Talents Project" of Liaoning Province (No.2015-57)
Author brief: Wang Fengchi(1970-), professor, PhD, main research interests:earthquake resistance and hazard mitigation, E-mail:cefcwang@sjzu.edu.cn.
Abstract: To study the influence of added waste glass fine aggregate on the performance of concrete column, compression static loading test was carried out on 6 reinforced normal aggregate concrete columns and 12 reinforced recycled glass fine aggregate concrete columns. Considering the replacement rate of recycled glass fine aggregate, slenderness ratio and eccentricity, the influence of different replacement rate of recycled glass aggregate on the failure modes, ultimate bearing capacity, axial displacement, cross lateral deflection, concrete strain and steel strain was analyzed. It is found that under both the eccentric compression or axial compression, the failure mechanism for reinforced recycled glass fine aggregate concrete column is similar with the normal reinforced concrete column. The ultimate bearing capacity is relatively high with 100% replacement of recycled glass fine aggregate. In addition, since it conforms to the plane section assumption, the ultimate bearing capacity of the specimens can be calculated according to the relevant domestic code. The results show that the waste glass fine aggregate can replace the general use of common sand in concrete column, without any influence on the performance.
Key Words: recycled glass fine aggregate    reinforced concrete columns    ultimate bearing capacity    slenderness ratio    eccentricity    

玻璃在建筑、化工、仪器设备以及日常生活等诸多领域用量的逐年增加,废弃玻璃所造成的“闪色污染”对环境造成了严重破坏。将废弃玻璃回收并破碎,取代混凝土中的砂石骨料,是解决废弃玻璃利用的新途径[1-2],不仅缓解了砂石的工程需求与资源匮乏之间日益突出的矛盾,也在某种程度上改善了混凝土的物理力学性能[3]

Craig等[4]对废弃玻璃取代天然骨料的最优取代率、粒径和碱硅反应(ASR)进行了研究。认为通过优化配合比并掺入适量粉煤灰能够取得理想的混凝土强度,并减轻潜在ASR。Ahmad等[5]研究了废弃玻璃作为粗骨料、细骨料和粉末骨料等3种废弃玻璃骨料用于混凝土的性能,研究表明,细骨料能阻止ASR的影响,能改善混凝土的耐久性。王凤池等[6]通过利用废弃玻璃等质量取代混凝土中的粗细骨料,研究了废弃玻璃取代率和取代形式对混凝土抗压强度和坍落度的影响。梁炯丰等[7]研究了玻璃骨料取代率对废弃玻璃细骨料混凝土的单轴受压应力应变曲线形状和抗压强度、峰值应变、弹性模量的影响。刘光焰等[8]对废弃玻璃混凝土的氯离子渗透性进行了研究,研究表明,与天然骨料混凝土相比,玻璃细骨料混凝土的抗氯离子扩散能力提高,玻璃粗骨料混凝土的抗氯离子扩散能力有所减弱。罗辉等[9]通过冻融循环试验,研究了使用废弃玻璃等质量取代混凝土中的天然骨料对混凝土抗冻性能的影响,表明冻融循环对玻璃混凝土抗压强度的影响小于普通混凝土。

学者们虽然对废弃玻璃骨料混凝土的基本力学性能和耐久性能做了大量研究[10-13],但对废弃玻璃骨料混凝土柱力学性能的研究尚少。本文设计了18个玻璃骨料混凝土钢筋混凝土柱,研究其在不同废弃玻璃细骨料掺量、不同长细比和不同偏心距下的偏压承载性能和变形性能。

1 试验设计
1.1 材料及力学性能

试验玻璃来源于沈阳市某玻璃加工厂的边角余料。将回收的废弃玻璃经人工淘洗、碾碎后,按一定级配(最大粒径为4 mm的筛网)筛选。试验玻璃细骨料细度模数为2.97,属于中砂,级配为Ⅱ级。玻璃细骨料基本特性如表 1所示。

表 1 玻璃细骨料基本特性 Table 1 Basic characteristics of glass fine aggregate

试验混凝土设计强度等级均为C40,正常养护28 d。水灰比为0.43,废弃玻璃细骨料取代天然河砂的取代率分别为0%、50%和100%。测定的不同玻璃骨料取代率混凝土抗压强度如表 2所示。

表 2 混凝土实测抗压强度和弹性模量 Table 2 Measured compressive strength and elastic modulus

试件纵筋选用HRB400级热轧带肋钢筋,箍筋选用HPB235级光圆钢筋,力学参数见表 3

表 3 钢筋的力学性能 Table 3 The mechanical properties of steel bars

1.2 试件设计及制作

废弃玻璃骨料钢筋混凝土柱试件截面尺寸为b×h=200 mm×200 mm, 保护层厚度c=25 mm。采用对称配筋,配筋率为1.13%。试件高度l分别取800、1 200 mm,对应的l1分别为400、800 mm。试件尺寸、骨料取代率、长细比、偏心距等见图 1表 4

图 1 试件的截面尺寸及配筋图 Fig. 1 Section Dimension and Reinforcement of Specimens

表 4 钢筋混凝土柱基本参数 Table 4 Basic parameters of reinforced concrete columns

考虑到偏心受压情况,将柱两端设计成牛腿形状。分别在受压试件的柱头两端预埋厚度为18 mm、截面尺寸为b×h=200 mm×300 mm的钢板。为防止试件在受压时钢板翘曲变形,在其中部4个角焊接上4根直径为18 mm的HRB335级螺纹钢筋。试件具体尺寸及配筋情况见图 1

1.3 测点布置

轴心受压试件的相邻两个侧面以试件的中心线为基准,在试件中部360 mm范围内依次粘贴3个混凝土应变片。偏心受压试件受拉侧,以试件的中心线为基准,在中部360 mm范围内依次粘贴3个应变片。受压侧受到牛腿的影响,须确保跨中至少有1个应变片。在试件侧面宽度六等分处,平行地粘贴5个混凝土应变片,如图 2(a)

图 2 应变片测点分布 Fig. 2 Measuring point distribution of strain gauge

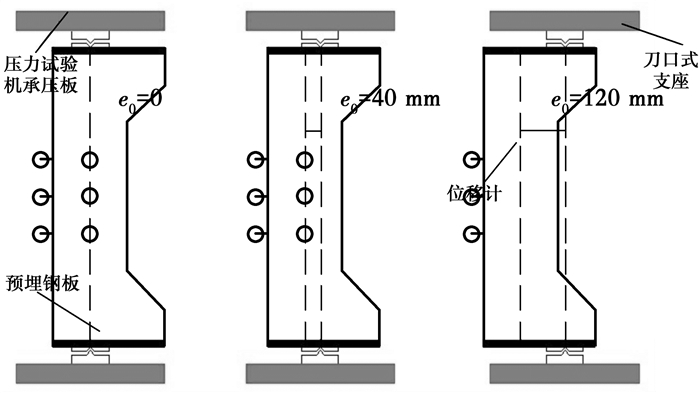
钢筋应变片的布置如图 2(b),在试件4根纵筋的跨中位置以及距跨中向上、向下各100 mm(柱高600 mm,在距跨中向上、向下各50 mm)处各粘贴1个应变片,跨中3个箍筋均各粘贴1个应变片。试件采用轴心、小偏心、大偏心3种加载情况,加载装置见图 3

图 3 加载装置 Fig. 3 Test setup

2 试验结果与分析
2.1 破坏现象

无论是轴心受压、小偏心受压还是大偏心受压,玻璃混凝土柱与普通混凝土柱的破坏形态类似,都经过了弹性变形阶段、微裂缝阶段、裂缝稳定发展阶段和最后的裂缝迅速发展阶段(图 4)。不同条件下的混凝土开裂荷载如表 5

图 4 大偏心受压柱的初始裂缝、极限裂缝及破坏形态 Fig. 4 The initial crack, limit crack and experimental phenomenon of large eccentric compression columns

表 5 开裂荷载 Table 5 cracking load

以玻璃混凝土大偏心受压长柱为例。玻璃掺量不同,开裂荷载不同(表 4)。随着玻璃掺量增加,开裂荷载增加。随着偏心距的增加,开裂荷载降低明显,这与普通混凝土是相同的。当达到开裂荷载时,在柱的跨中受拉区均出现了第1道横向水平裂缝,但裂缝宽度不同,普通混凝土柱为0.03 mm,而100%玻璃混凝土柱为0.07 mm。出现裂缝后受拉钢筋应变和混凝土压应变增长速率加快,裂缝条数随着荷载的增大而增多,裂缝基本等间距出现,普通混凝土柱裂缝间距约为100 mm,而100%玻璃混凝土柱间距略大,为110 mm;继续加载,两者均出现了典型的大偏心受压破坏特征。玻璃混凝土柱极限裂缝宽度略大于普通混凝土柱。

2.2 荷载轴向位移曲线

图 5是长细比为4的玻璃骨料钢筋混凝土柱在不同加载方式下的荷载与轴向位移曲线。轴心和小偏心受压时时,随着玻璃骨料掺量增加,极限荷载对应的位移逐渐减小。而大偏心受压时,100%玻璃骨料混凝土柱极限荷载对应的轴向位移最小,50%玻璃骨料混凝土柱的轴向位移最大。

图 5 荷载轴向位移曲线 Fig. 5 Load-axial displacement curves

2.3 荷载跨中挠度曲线

图 6(a)所示,轴心受压构件的跨中挠度变形较小,构件的极限荷载对应的挠度值均不大于1 mm,呈现了轴心受压的特征。而小偏心受压时(图 6(b)),普通混凝土柱荷载挠度曲线出现了较明显的下降段,具有脆性破坏特征;玻璃骨料钢筋混凝土柱则未出现较明显的下降段。但无论玻璃掺量多少,极限荷载对应的挠度值均很小,因此, 小偏心受压下玻璃骨料钢筋混凝土柱依旧为脆性破坏。而大偏心受压状态下(图 6(c)),普通钢筋混凝土柱、50%玻璃骨料钢筋混凝土柱、100%玻璃骨料钢筋混凝土柱挠度变化曲线基本相同,破坏荷载对应的挠度值明显大于小偏心下的挠度值,具有明显延性特征。

图 6 荷载跨中挠度曲线 Fig. 6 Load-Middle Span Deflection Curves

2.4 混凝土应力应变曲线

当长细比l0/h= 4时,混凝土的应力应变曲线如图 7。无论是轴压、小偏心受压还是大偏心受压,玻璃掺量对混凝土应力应变曲线均无明显影响。偏心受压时,加载初期曲线有明显的弹性段。小偏心受压时,偏心一侧的混凝土极限应变明显大于另一侧。相同应力下,受压侧普通钢筋混凝土柱的应变较50%玻璃骨料钢筋混凝土柱和100%玻璃骨料钢筋混凝土柱小。受拉侧100%、50%玻璃骨料钢筋混凝土柱的应变明显大于钢筋混凝土柱。而对于大偏心受压(图 7(c)),受压侧玻璃细骨料掺量对应力和应变影响不大,但受拉侧100%玻璃骨料钢筋混凝土、50%玻璃骨料钢筋混凝土的极限应变明显大于普通混凝土。

图 7 混凝土应力应变曲线 Fig. 7 Concrete stress-strain curve

2.5 纵向钢筋荷载应变曲线

当轴心受压柱(图 8(a))荷载从0增大到800 kN时,受压构件的荷载与钢筋应变成线性关系增大,此后钢筋的应变迅速增大,直到钢筋屈服。普通钢筋混凝土柱的应变大于玻璃骨料细骨料钢筋混凝土柱。对于小偏心受压柱(图 8(b)),在受压侧的钢筋极限应变最小,且钢筋荷载应变曲线均出现屈服下降段。而对于大偏心受压(图 8(c)),普通钢筋混凝土柱和50%玻璃骨料钢筋混凝土柱的钢筋屈服应变较接近,而100%玻璃骨料钢筋混凝土柱钢筋屈服应变较小;在受拉侧,钢筋荷载应变曲线基本重合。当加载至极限荷载时,玻璃骨料大偏心受压柱的纵向钢筋均已屈服。说明受压侧钢筋受到混凝土的影响,而受拉侧因混凝土开裂,钢筋应变基本相同。

图 8 钢筋荷载应变曲线 Fig. 8 Reinforced load-strain curve

3 受压正截面承载力分析

图 9为骨料取代率为50%时,不同长细比和偏心距下跨中不同点应变值。玻璃骨料钢筋混凝土柱正截面应变基本保持同一平面,可以采用《混凝土结构设计规范》(GB 50010—2010)[14](以下简称《规范》)中的相关公式计算柱正截面承载力。

图 9 跨中不同点应变值 Fig. 9 Strain values at mid span

对于轴心受压柱,不考虑与偏心受压构件正截面承载力计算具有相近可靠度的调整系数0.9,采用式(1)计算。

$ N \le \varphi \left( {{f_{\rm{c}}}A + f{'_{\rm{y}}}A{'_{\rm{s}}}} \right) $ (1)

式中参数含义见《规范》。

偏心受压时,根据加载方式,图 1中的l即为柱的计算长度l0。当l0/b≥5时,考虑P-δ二阶效应,偏心距增大系数ηns按照式(2)计算。

$ {\eta _{{\rm{es}}}} = 1 + \frac{1}{{1\;300\left( {\frac{{{M_2}}}{N} + {e_{\rm{a}}}} \right)/h0}}\left( {\frac{{{l_{\rm{c}}}}}{h}} \right){\zeta _{\rm{c}}} $ (2)

附加偏心距ea主要考虑施工等因素造成的偏差,试验已经基本上做到了对中准确,取ea=0 mm。控制截面在杆件长度的中点,M2/N等于试验设计的偏心距e0。其他符号含义参见《规范》。混凝土强度fc、钢筋强度fy(fy)及钢筋和混凝土的弹性模量EsEc的实测值见表 2表 3,承载力计算结果见表 6

表 6 试验和计算结果对比 Table 6 Test results and calculate data

可见,除个别外,试验值与理论计算值比较接近。因此,对于玻璃骨料钢筋混凝土受压柱而言,运用中国现行《混凝土结构设计规范》的有关公式计算其承载力是合适的。

5 结论

1) 玻璃骨料混凝土柱的受压破坏机理和形态与普通混凝土柱相似,玻璃骨料掺量100%的玻璃骨料混凝土柱的承载力较高。

2) 轴心和小偏心受压时,随着玻璃骨料掺量增加,极限荷载对应的位移逐渐减小。而大偏心受压时,100%玻璃骨料混凝土柱极限荷载对应的轴向位移最小。

3) 玻璃骨料混凝土柱受压构件正截面应变始终保持同一平面,符合平截面假定。按现行的国家《规范》对玻璃骨料混凝土柱进行正截面承载力计算,试验实测值与计算值较为接近。

4) 用废弃玻璃骨料替代天然骨料是可行的。由于取代细骨料可以避免碱骨料反应,因此,可以100%地替代普通砂,且性能满足要求。

参考文献
[1] NASSAR R U D, SOROUSHIAN P. Strength and durability of recycled aggregate concrete containing milled glass as partial replacement for cement[J]. Construction and Building Materials, 2012(29): 368–377.
[2] LEE G, LING T C, WONG Y L. Effect of crushed glass cullet sizes, casting methods and pozzolanic materials on ASR of concrete blocks[J]. Construction and Building Materials, 2011(25): 2611–2618.
[3] 刘光焰, 王晓峰. 废弃玻璃粗细骨料混凝土的性能和强度对比研究[J]. 混凝土, 2012(8): 58–61.
LIU G Y, WANG X F. Contrast study on the construction performance and strength of the concrete containing waste glass coarse and fine aggregate[J]. Concret, 2012(8): 58–61. (in Chinese)
[4] CRAIG P, CRAMER S M, RODOLFO V D L C. Potential for using waste glass in Portland cement concrete[J]. Journal of Materials in Civil Engineering, 1998, 10(4): 210–219. DOI:10.1061/(ASCE)0899-1561(1998)10:4(210)
[5] AHMAD S Y, XU A M. Value -added utilisation of waste glass in concrete[J]. Cement and Concrete Research, 2004, 34(1): 81–89. DOI:10.1016/S0008-8846(03)00251-5
[6] 王凤池, 王振伟, 张霓. 废玻璃集料对混凝土强度的影响[J]. 新型建筑材料, 2011, 38(11): 12–15.
WANG F C, WANG Z W, ZHANG N. Effects of waste aggregate on concrete strength[J]. New Building Materials, 2011, 38(11): 12–15. DOI:10.3969/j.issn.1001-702X.2011.11.003 (in Chinese)
[7] 梁炯丰, 郭立湘. 废弃玻璃细骨料混凝土单轴受压应力-应变全曲线试验研究[J]. 混凝土, 2014(7): 40–41.
LIANG J F, GUO L X. Experiamental study on complete stress-strain curve of waste glass fine aggregate concrete under uniaxial loading[J]. Concrete, 2014(7): 40–41. (in Chinese)
[8] 刘光焰, 王晓峰. 废弃玻璃骨料混凝土氯离子渗透性试验研究[J]. 混凝土, 2012(12): 15–16.
LIU G Y, WANG X F. Experimental research on the permeability of chloride ion of the concrete containing waste glass aggregate[J]. Concrete, 2012(12): 15–16. DOI:10.3969/j.issn.1002-3550.2012.12.006 (in Chinese)
[9] 罗辉, 王凤池, 陈锋. 玻璃混凝土抗冻融性能的试验研究[J]. 建筑技术开发, 2013, 40(4): 46–49.
LUO H, WANG F C, CHEN F. Experimental investigation of glass concrete's resistance to freezing and thawing[J]. Building Technique Development, 2013, 40(4): 46–49. (in Chinese)
[10] 刘数华, 徐志惠, 孙永波. 废弃玻璃粉在超高性能水泥基材料中的应用研究[J]. 混凝上与水泥制品, 2012(11): 77–79.
LIU S H, XU Z H, SUN Y B. The application research of waste glass powder in ultra high performance cement-based materials[J]. China Concrete and Cement Production, 2012(11): 77–79. (in Chinese)
[11] 杨凤玲, 嵇银行, 李玉寿. 玻璃骨料粒径对玻璃混凝上性能影响的因素[J]. 混凝土, 2012(8): 78–80.
YANG F L, JI Y H, LI Y S. Study on the influence of particle size of the glass aggregate on the performance of glass concrete[J]. Concrete, 2012(8): 78–80. (in Chinese)
[12] ALI E E, AL-TERSAWY S H. Recycled glass as a partial replacement for fine aggregate in self compacting concreted[J]. Construction and Building Materia1s, 2012, 35: 785–791. DOI:10.1016/j.conbuildmat.2012.04.117
[13] SACCANI A, BIGNOZZOI M C. ASR expansion behavior recycled glass fine aggregates in concrete[J]. Cement and Concrete Research, 2011, 40: 531–536.
[14] 混凝土结构设计规范: GB 50010-2010[S]. 北京: 中国建筑工业出版社, 2011.
Code for design of concrete structures: GB 50010-2010. [S]. Beijing: China Architecture and Building Press, 2011. (in Chinese)