b. 天津大学 天津市建筑物理环境与生态技术重点实验室, 天津 300072
b. Tianjin Key Laboratory of Architectural Physics and Environmental Technology, Tianjin University, Tianjin 300072, P. R. China
BIM技术是利用数字信息技术,通过建立虚拟三维建筑模型,仿真模拟建筑全寿命期所包含的各专业真实信息[1-2]。通过运用BIM技术对信息进行循环交换,即可实现建筑、结构、设备等多专业同平台的信息和设计集成[3]。照明是室内环境的重要组成要素[4-5]。LED(light emitting diode)作为新一代光源,以自身小、巧、灵的优势,带来了照明行业的变革[6]。照明会显著影响室内使用者的体验[7-10],因而越来越受到建筑师的重视,开始参与甚至主导照明设计。建筑照明专业参与BIM技术的必要性日益凸显。
目前,照明专业参与BIM技术处于起步阶段,BIM技术具有2种信息交换方法,用于实现建筑及其他专业同平台设计与模拟计算:一种是将信息转换成电子数据,保存为照明软件和BIM软件都兼容的“IFC(industry foundation class)”格式[11-15];另一种是照明软件作为核心建模软件的插件,通过插件与软件接口进行信息交换。这2种信息交换方法相对应照明软件仅有DIALux evo与ElumTools。DIALux evo 7.0及以上版本均提供BIM接口支持IFC格式导入,可与BIM技术的核心建模软件Revit进行单向信息交换,是第一个向BIM提供开放接口的照明模拟软件,即支持IFC格式导入。ElumTools是基于Revit API[16-17]开发的Autodesk Revit插件,通过Revit API读取Revit中的信息,是目前唯一一个集成在Revit上的照明模拟软件。文中把这2款软件作为精度测试对象。
测试标准根据国际照明委员会CIE发布的CIE171:2006—test cases to assess the accuracy of lighting computer programs(CIE171:2006)[18]。目前,使用CIE 171:2006测试用例,Labayrade等[19]评估了Velux Daylight Visualizer 2;Moraes等[20]评估了LightTool和Apolux;Rizki A. Mangkuto[21]评估了DIALux 4.12和DIALux evo 4.1版本;同时,DIALux evo和ElumTools的官网均已宣布运用CIE 171:2006进行了软件自测[22-23]。文中也采用CIE 171:2006,对目前最新版本DIALux evo 8.2(DIALux evo)和ElumTools 2019.07(ElumTools)在BIM技术平台Revit上运行时的计算精度进行评估测试。
1 模拟设置文中测试DIALux evo和ElumTools仿真模拟室内照明时的计算精度,不考虑天然采光的情况,选取CIE 171:2006的5.2至5.8测试用例[18],分别测试软件以下性能:点光源和面光源直接照度计算精度,光通量守恒和定向透射性能,漫反射面、遇遮挡时和不同反射率的间接照度计算精度。
模拟预先设置了4个方面:
1) 使用Revit 2019作为BIM技术的核心建模软件,建立测试用例中所用的三维建筑实体模型。按Revit 2019的IFC标准设置导出以.ifc为后缀的三维建筑实体模型文件后,再将文件按DIALux evo的IFC默认格式导入。ElumTools则直接通过Revit API读取Revit 2019三维建筑实体模型。
2) 按CIE 171:2006要求,设置特定的反射率或透射率,测试用例要求无反射照度,表面反射率为0%时,ElumTools表面反射率最低只能设置为1%。
3) 为保证一致性,同一个模拟实验,2款软件均采用相同的IES光源文件(ElumTools仅支持.ies格式的光源文件)。
4) 按CIE 171:2006要求,为排除其他因素导致光线损失对实验结果造成的影响[18],2款软件模拟的维护系数均设置为1.0。
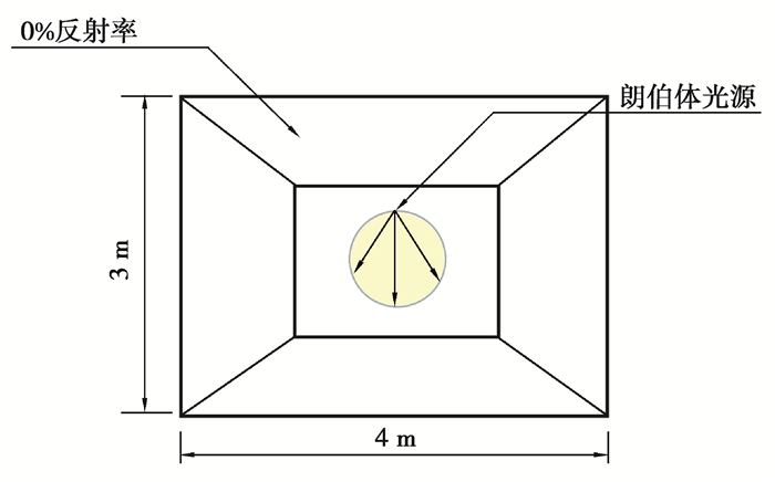
1.1 测试用例5.2:点光源直接照度计算精度用于评估软件“使用点光源时,水平面上的点接收的直接照度”的计算精度。模拟场景如图 1所示:水平面的尺寸为4 m×4 m,表面反射率为0%,中心点位于点光源正下方3 m处;点光源为朗伯体,垂直方向上的最大发光强度为1 000 cd。水平面上有10个计算点,编号为A~J,如图 2所示。CIE 171:2006理论值通过式(1)计算
| $ E = \frac{{{I_\theta }}}{{{d^2}}}{\rm{cos}}\;\theta , $ | (1) |
|
图 1 测试用例5.2模拟场景 Fig. 1 Simulation scenario of test case 5.2 |
|
图 2 测试用例5.2计算点位置 Fig. 2 Calculation point location of test case 5.2 |
式中:E为计算点X的直接照度,lx;Iθ为点光源在计算点X方向上的发光强度,cd;θ为光源光线相对于接收平面法线(计算点X)的入射角,rad;d为点光源和计算点X之间的距离,m。
1.2 测试用例5.3:面光源直接照度计算精度用于评估软件“使用面光源时,房间内表面上的点接收的直接照度”的计算精度。模拟场景和计算点位置,如图 3所示:房间的尺寸为4 m×4 m×3 m,内表面反射率为0%;面光源为朗伯体,位于天花板中心,尺寸为1 m×1 m,垂直方向上的最大发光强度为1 000 cd;房间内表面上共有14个计算点,编号为A~N。CIE 171:2006理论值通过式(2)计算
| $ E = M \times {F_{12}}, $ | (2) |
|
图 3 测试用例5.3模拟场景和计算点位置 Fig. 3 Simulation scene and calculation point location of test case 5.3 |
式中:E为计算点的直接照度,lx;M为面光源的发光强度,lm/m2;F12为计算面面积dS1与面光源面积S2之间的配置因子;其中,当面光源平行于计算面时,如图 4(a)所示,配置因子F12, H通过式(3)计算;当面光源垂直于计算面时,如图 4(b)所示,配置因子F12, V通过式(4)计算。
| $ {F_{12, H}} = \frac{1}{{2{\rm{ \mathsf{ π} }}}}\left[ {\frac{X}{{\sqrt {1 + {X^2}} }}{\rm{arctan}}\frac{Y}{{\sqrt {1 + {X^2}} }} + \frac{Y}{{\sqrt {1 + {Y^2}} }}{\rm{arctan}}\frac{X}{{\sqrt {1 + {Y^2}} }}} \right], $ | (3) |
| $ {F_{12, V}} = \frac{1}{{2{\rm{ \mathsf{ π} }}}}\left[ {{\rm{arctan}}Y - \frac{1}{{\sqrt {1 + {X^2}} }}{\rm{arctan}}\frac{Y}{{\sqrt {1 + {X^2}} }}} \right], $ | (4) |
|
图 4 测试用例5.3配置因子计算 Fig. 4 Configuration factor calculation of test case 5.3 |
式(3)和式(4)中,X=a/h;Y=b/h。
1.3 测试用例5.4:光通量守恒性能用于评估软件“保持光通量守恒”的能力(理论上,封闭房间内光源输出的光通量与各表面接收的总光通量相等)。封闭房间的尺寸为4 m×4 m×3 m,内表面反射率为0%;CIE 171:2006中指出,光源可任意选择[18];实验采用朗伯体点光源,光通量Φo为3 142 lm,位于房间中心;通过计算房间内各表面的平均照度,进而计算房间内总的光通量Φi,模拟场景如图 5所示。CIE 171:2006分析值通过式(5)计算
| $ {\mathit{\Phi} _i} = \sum {{E_n} \times {S_n}, } $ | (5) |
|
图 5 测试用例5.4模拟场景 Fig. 5 Simulation scenario of test case 5.4 |
式中:Φi为房间内总光通量,lm;En为房间内各表面的平均照度,lx;Sn为房间内各表面的面积,m2;理论上,Φi=Φo。
1.4 测试用例5.5:定向透射性能用于评估软件“计算房间内光源光线定向透射玻璃”的能力。模拟场景如图 6所示:房间的尺寸为4 m×4 m×3 m,内表面反射率为0%;屋顶中心开1 m×1 m的采光口,采光口深为200 mm,采光口的玻璃,透射率为96%;光源为点光源,光线为1组窄配光的平行光;光束瞄准采光口中心,入射角θ以10°为步长,由0°~80°变化。在有、无玻璃2种情况下,可通过式(5)分别计算室内总光通量Φi,进而通过式(6)计算定向透射率τθ。CIE 171:2006分析值通过式(6)计算
| $ {\tau _\theta } = {\mathit{\Phi} _{有玻璃}} \times {\mathit{\Phi} _{无玻璃}}, $ | (6) |
|
图 6 测试用例5.5模拟场景 Fig. 6 Simulation scenario of test case 5.5 |
式中:在光束入射角相同的情况下,τθ为光束的透射率;Φ有玻璃为采光口有玻璃时,房间内总光通量,lm;Φ无玻璃为采光口无玻璃时,房间内总光通量,lm。DIALux evo建模要求天花板有最小厚度的限制,无法获得入射角为80°时的照度值,也就无法计算此时的定向透射率。
1.5 测试用例5.6:不同面积漫反射面的间接照度计算精度用于评估软件“模拟光源照射在不同面积的漫反射表面时,经一次反射后,水平和垂直计算面上的点接收的间接照度”的计算精度。被照射面为漫反射面,反射后的光通量重新分布到空间的其他表面[3]。为分析漫反射面尺寸对光反射后的影响,文中选取以下2种工况进行评估(CIE 171:2006设置3种工况,第3种工况对应计算速度,文中未做评估)。
工况1:光源为面光源,光线为1组窄配光的平行光,光束与水平方向夹角为45°;漫反射面S2尺寸为0.5 m×0.5 m,反射率为80%,位于天花板下方;垂直计算面S1-V尺寸为4 m×3 m,表面反射率为0%,距离S2中心点2 m;水平接收面S1-hz尺寸为4 m×4 m,表面反射率为0%,位于地面以上3 m处,朝向S2,与S1-V相邻,模拟场景如图 7(a)所示。
|
图 7 测试用例5.6模拟场景 Fig. 7 Simulation scenario of test case 5.6 |
工况2:光源为面光源,光线为1组窄配光的平行光,光束与水平方向夹角为35°;漫反射面S2尺寸为4 m×4 m,反射率为30%,位于天花板下方;垂直计算面S1-V尺寸为4 m×2.5 m,表面反射率为0%,距离S2中心点2 m;水平接收面S1-hz尺寸为4 m×4 m,表面反射率为0%,位于地面以上3 m处,朝向S2,与S1-V相邻,模拟场景如图 7(b)所示。
S1-v和S1-hz不接收直接照度并且不反射光通量,但接收从漫反射面S2反射的一部分光通量。分别计算2种工况下,计算点接收的1次反射间接照度Ei,其在水平和垂直计算面上,共有14个,编号为A~N,具体位置如图 8所示,CIE 171:2006分析值通过式(7)计算
| $ {E_i} = {E_{{\rm{hz}}}} \times \rho \times {F_{12}}, $ | (7) |
|
图 8 测试用例5.6计算点位置 Fig. 8 Calculation point location of test case 5.6 |
式中:Ei为计算点的间接照度,lx;Ehz为漫反射面的平均照度,lx;ρ为漫反射面的反射率;F12为接收区dS1与漫反射面S2之间的配置因子,可通过式(3)和式(4)计算。因此,该测试用例可直接用配置因子F12的计算值评估。
1.6 测试用例5.7:遇遮挡时的间接照度计算精度用于评估软件“模拟光源照射在漫反射表面时,经1次反射后,遇垂直障碍物,水平和垂直计算面上的点接收的间接照度”的计算精度。模拟场景和计算点位置如图 9所示:光源为面光源,配光为1组窄配光的平行光,光束水平夹角为60°;漫反射面S2尺寸为4 m×3 m,反射率为60%,垂直于地面;垂直计算面S1-V尺寸为4 m×3 m,表面反射率为0%,平行于S2,距离4 m;水平接收面S1-hz尺寸为2.5 m×4 m,表面反射率为0%,朝向顶面,位于距顶面3 m处,与S1-V相邻;垂直障碍物尺寸为4 m×0.2 m×1 m, 表面反射率为0%,位于距S1-hz2.5 m,距S21.30 m处。CIE 171:2006分析值通过式(7)计算。
|
图 9 测试用例5.7模拟场景和计算点位置 Fig. 9 Simulation scene and calculation point location of test case 5.7 |
用于评估软件“模拟光源照射在封闭房间时,经过多次反射后,房间内不同反射率表面的平均间接照度”的计算精度。模拟场景如图 10所示,房间尺寸为4 m×4 m×4 m,各内表面具有均匀漫射和光谱中性的特点。光源为朗伯体点光源,位于房间的中心,光通量Φ为10 000 lm;为分析不同反射率的影响(各内表面的反射率ρ相同),模拟反射率从5%变化至95%。CIE 171:2006通过式(7)计算分析得出近似值
| $ {E_{{\rm{i, av}}}} = \frac{\mathit{\Phi} }{{{S_T}}} \times \frac{\rho }{{1 - \rho }}, $ | (7) |
|
图 10 测试用例5.8模拟场景 Fig. 10 Simulation scenario of test case 5.8 |
式中:Ei, av为房间平均间接照度,lx;Φ为进入房间的光通量,lm;ST为房间内表面积的总和,m2;ρ为房间内表面的反射率。2款软件都不能直接计算存在直接照度时的间接照度值,因此,通过计算某一反射率下的房间平均照度值减去反射率为0%时的房间平均照度值(即直接照度)得到。DIALux evo表面反射率无法设置为95%,故没有评估其反射率为95%时的数值。
2 结果与讨论 2.1 测试用例5.2模拟结果如图 11、表 1所示。2款软件计算值与CIE理论值相对误差极小:DIALux evo最大相对误差为-0.79%,ElumTools最大相对误差为-1.13%。
|
图 11 测试用例5.2计算结果统计 Fig. 11 Calculation result statistics of test case 5.2 |
| 表 1 测试用例5.2计算值与CIE理论值相对误差统计 Table 1 Relative error statistics of calculated value and CIE theoretical value in test case 5.2 |
模拟结果如图 12、表 2所示。2款软件绝大部分计算值与CIE理论值相对误差极小:DIALux evo相对误差在-1.19%~1.29%的范围内,ElumTools最大相对误差为4.04%,其余点的相对误差在-0.54%~1.19%的范围内,4.04%的误差出现在邻近光源的A点,配置因子较小,是计算间接照度时存在缺陷的主要原因[21]。
|
图 12 测试用例5.3计算结果统计 Fig. 12 Calculation result statistics of test case 5.3 |
| 表 2 测试用例5.3计算值与CIE理论值相对误差统计 Table 2 Relative error statistics of calculated value and CIE theoretical value in test case 5.3 |
DIALux evo模拟的房间内总光通量值3 180.8 1m,相对误差为0.09%;ElumTools模拟的房间内总光通量值3 216 lm,相对误差为2.4%;均超过光源本身的光通量。由于光通量是利用式(5)由各表面平均照度值换算得出,由此推断,照度的显示精度是导致误差的主要原因。
2.4 测试用例5.5模拟计算结果如图 13所示。DIALux evo模拟所得透射率始终在0.960~0.962之间,这是由于其假设透射率不随光束入射角发生变化[21]。ElumTools模拟所得透射率在0.59~1.60之间,光束入射角为10°、20°和80°时的误差较大,30°~70°之间的误差相对较小。综上所述,2款软件在涉及玻璃定向透射时,均为低计算精度。
|
图 13 测试用例5.5计算结果统计 Fig. 13 Calculation result statistics of test case 5.5 |
模拟计算结果如图 14、图 15和表 3、表 4所示。工况1(0.5 m×0.5 m漫反射面):2款软件模拟计算值接近于分析值,DIALux evo相对误差为-4.91%~5.56%;ElumTools最大相对误差出现在A点为-3.95%,其余点的相对误差为-2.25%~1.08%。工况2(4 m×4 m漫反射面):DIALux evo相对误差为-1.5%~2.39%;ElumTools最大相对误差出现在B点为11.89%,大部分点值相对误差在±5%以内。2种工况,ElumTools最大相对误差都出现在距离漫反射面S2(可视为光源)邻近的点,距离光源近的点配置因子较小,在配置因子小的位置,间接照度的模拟存在缺陷,再次验证测试用例5.3的推断结果。另外,IES光源文件描述平行光线的缺陷,也可能是相对误差大的原因。
|
图 14 测试用例5.6计算结果统计:工况1 Fig. 14 Calculation result statistics of test case 5.6: test condition 1 |
|
图 15 测试用例5.6计算结果统计:工况2 Fig. 15 Calculation result statistics of test case 5.6: test condition 2 |
| 表 3 测试用例5.6计算值与CIE分析值相对误差统计:工况1 Table 3 Relative error statistics of calculated value and CIE analysis value in test case 5.6: test condition 1 |
| 表 4 测试用例5.6计算值与CIE分析值相对误差统计:工况2 Table 4 Relative error statistics of calculated value and CIE analysis value in test case 5.6: test condition 2 |
模拟计算结果如图 16、表 5所示。DIALux evo相对误差为-9.77%~3.93%,ElumTools相对误差为-14.01%~8.87%,且两软件误差均无规律可言。有研究指出是CIE 171:2006给出的计算值可能不正确[24]。
|
图 16 测试用例5.7计算结果统计 Fig. 16 Calculation result statistics of test case 5.7 |
| 表 5 测试用例5.7计算值与CIE理论值相对误差统计 Table 5 Relative error statistics of calculated value and CIE analysis value in test case 5.7 |
模拟计算结果如图 17和表 6所示。DIALux evo在反射率为0.90时相对误差最大,为-1.29%;ElumTools相对误差为-7.70%~-42.33%,尤其反射率在0.8以上时误差较大。ElumTools反射率最低可设置值为1%,而测试用例5.8是以反射率为0%作为基准情况进行计算,导致相对误差较大。
|
图 17 测试用例5.8计算结果统计 Fig. 17 Calculation result statistics of test case 5.8 |
| 表 6 测试用例5.8计算值与CIE理论值相对误差统计 Table 6 Relative error statistics of calculated value and CIE analysis value in test case 5.8 |
| 表 7 DIALux evo与ElumTools的评估结果 Table 7 Evaluation results of DIALux evo and ElumTools |
|
注: 图中D代表DIALux evo; E代表ElumTools 图 18 2款软件相对误差对比 Fig. 18 Comparison of relative errors between two pieces of software |
对比2款软件的计算精度、计算点、面光源直接照度精度以及光通量守恒性能3个方面,2款软件均具有高精度;计算大面积漫反射、遇遮挡和不同反射率时的间接照度精度3个方面,DIALux evo计算精度优于ElumTools;计算小面积漫反射时的间接照度精度,ElumTools计算精度优于DIALux evo;计算定向透射性能,2款软件精度均比较低。
3 软件计算误差与精度解析 3.1 计算误差来源 3.1.1 显示精度DIALux evo照度计算值为100 lx以上时,显示整数位;100 lx以下时,显示3位有效数字;ElumTools照度计算值为10 lx以上时,显示整数位;10 lx以下时,显示2位有效数字;均与CIE 171:2006中的显示精度不一致。例如,测试用例5.2中,CIE显示的C点照度值为90.02 lx[18],2款软件计算后,DIALux evo显示的照度值为89.4 lx,显示3位有效数字,相对误差为-0.69%,ElumTools显示的照度值为89 lx,相对误差为-1.13%,误差的产生与显示精度有关。
3.1.2 IES光源文件测试用例5.5~5.7场景中,光源是具有指定角度的1组平行光。文中使用IES光源文件,用于描述模拟要求的平行光。在IES文件编写逻辑中,其描述平行光的方法有2种:1)编写1组垂直向下的等光强的配光曲线,按指定角度进行偏转,需要在IES文件中使用TILT行修改,修改数据复杂繁琐,在实际生产中不常使用;2)将IES文件中每根配光曲线,按指定角度、等光强编写,配光曲线数量越多越趋近于平行光,在实际生产中较多使用。文中选取第2种方法,同时加密配光曲线根数(根数由水平和垂直角度的个数共同决定,模拟水平角度的个数设置为361个,垂直角度的个数设置为181个),采用面光源使其表面更能趋近于均匀发光。但仍无法做到精准的描述平行光,存在一定误差。
3.1.3 CIE 171:2006技术报告的固有误差CIE 171:2006中的理论值、分析值,通过真实场景实验与经验公式修正计算得到,而真实场景测试存在不可控的误差。例如,在CIE实验中,反射率为0%的材质实际上选择的是真实场景中反射率小于5%的材质;真实场景测试时存在灯罩材质的反射;计算方法存在错误(如测试用例5.7的中配置因子的计算方法[24]),均会带来一定误差。
3.2 计算精度解析与建议 3.2.1 核心算法(光子映射算法与光能传递算法)1) ElumTools采用光能传递算法[25],假设场景中全部被照物表面看作为漫反射面,其表面材质会吸收一部分光线并向外反射一部分光线,物体最终的光照情况是周围物体互相漫反射的结果。故物体被照面漫反射光较少、直射光较多的区域(例如,测试用例5.3和5.6中计算点A的位置),物体表面反射率接近于1(例如,测试用例5.7房间内表面反射率设置为0.9和0.95时)或0(例如,模拟预先设置中,当测试用例要求无反射照度时,即表面反射率应为0%时,实际设置值为1%)时,计算精度均会受到影响。
2) DIALux evo采用光子映射算法[26-28],根据光的物理特性,模拟场景中光子的运动,使用预先计算的光子图来估算间接照度,使用蒙特卡洛光线跟踪达到最终的渲染效果。该算法不存在ElumTools使用的光能传递算法的缺陷,计算结果较为准确。
综上所述,光子映射算法更适合作为基于BIM技术的照明仿真模拟软件的核心算法。
3.2.2 信息交换方式(IFC与API)建筑室内照明模型包含建筑实体、材质和灯具与电气的完整信息。使用DIALux evo进行IFC数据流数据转换时:不包含光源信息(即IES文件);电气信息不能解析;模拟后信息不能回传。ElumTools通过Revit API接口只能读取有限数据,如不提供对材质反射率信息的访问权,通过获取材质的颜色信息换算反射率。模拟过程中能够规避信息交换方式导致的误差,可通过提升Revit API接口的性能,使其成为建筑与照明全信息的交换接口,以真正实现照明专业参与BIM技术。
4 结论对比2款软件的计算性能,DIALux evo明显优于ElumTools;对比BIM技术的参与程度上,ElumTools明显优于DIALux evo。这是因为2款软件所采用的核心算法与信息交换方式不同,建议今后基于BIM技术的室内照明仿真模拟软件采用计算精度更高的光子映射算法,能够提供建筑与照明全信息交换接口。
室内照明仿真模拟软件经过多年发展已能够做到计算结果准确和模拟效果趋近于真实[29]。基于BIM技术的室内照明仿真模拟软件发展仍然处于起步阶段,随着基于BIM技术的室内照明仿真模拟软件的广泛应用,可以更加精准、高效、完整地完成建筑设计、施工和管理。
| [1] |
Pezeshki Z, Ivari S A S. Applications of BIM:a brief review and future outline[J]. Archives of Computational Methods in Engineering, 2018, 25(2): 273-312. DOI:10.1007/s11831-016-9204-1 |
| [2] |
王宝令, 陈娜, 吕贺. BIM技术在我国建筑行业的应用及发展前景[J]. 沈阳建筑大学学报(社会科学版), 2018, 20(5): 470-475. WANG Baoling, CHEN Na, LV He. Application and development prospect of BIM technology in Chinese construction industry[J]. Journal of Shenyang University of Architecture (Social Sciences), 2018, 20(5): 470-475. (in Chinese) |
| [3] |
Santos R, Costa A A, Silvestre J D, et al. Informetric analysis and review of literature on the role of BIM in sustainable construction[J]. Automation in Construction, 2019, 103: 221-234. DOI:10.1016/j.autcon.2019.02.022 |
| [4] |
Fisk W J. Health and productivity gains from better indoor environments and their relationship with building energy efficiency[J]. Annual Review of Energy and the Environment, 2000(25): 537-566. |
| [5] |
Singhvi V, Krause A, Guestrin C, et al. Intelligent light control using sensor networks[C]//Proceedings of the 3rd international conference on Embedded networked sensor systems-SenSys'05, November 2-4, 2005. San Diego, California, USA. New York, USA: ACM Press, 2005: 218-229.
|
| [6] |
Nakazawa Y, Godo K, Niwa K, et al. Development of LED-based standard source for total luminous flux calibration[J]. Lighting Research & Technology, 2019, 51(6): 870-882. |
| [7] |
张迪.综合医院护士站光环境现状及优化设计研究[D].北京: 北京建筑大学, 2016. ZHANG Di. Research on the status quo and optimal design of the light environment of nurses' station in general hospital[D]. Beijing: Beijing University of Architecture, 2016.(in Chinese) |
| [8] |
Veitch J A, Newsham G R, Boyce P R, et al. Lighting appraisal, well-being and performance in open-plan offices:a linked mechanisms approach[J]. Lighting Research & Technology, 2008, 40(2): 133-151. |
| [9] |
Veitch J A, Newsham G R. Preferred luminous conditions in open-plan offices:research and practice recommendations[J]. Lighting Research and Technology, 2000, 32(4): 199-212. DOI:10.1177/096032710003200404 |
| [10] |
Someren K L, Philip Beaman C, Shao L. Users' experiences of lighting controls:a case-study[J]. Lighting Research & Technology, 2018, 50(7): 1091-1106. |
| [11] |
赖华辉, 邓雪原, 刘西拉. 基于IFC标准的BIM数据共享与交换[J]. 土木工程学报, 2018, 51(4): 121-128. LAI Huahui, DENG Xueyuan, LIU Xila. BIM data sharing and exchange based on IFC standard[J]. Journal of Civil Engineering, 2018, 51(4): 121-128. (in Chinese) |
| [12] |
谢明辉, 朱倩蓉. 基于IFC标准探讨国内BIM标准的统一[J]. 现代商业, 2018(26): 169-170. XIE Minghui, ZHU Qianrong. Discussion on the unification of domestic BIM standards based on IFC standards[J]. Modern Business, 2018(26): 169-170. (in Chinese) |
| [13] |
林佳瑞, 张建平. 面向我国绿色建筑评价的IFC适用性分析[J]. 图学学报, 2018, 39(4): 765-770. LIN Jiarui, ZHANG Jianping. Applicability analysis of IFC for green building evaluation in China[J]. Journal of Graphics, 2018, 39(4): 765-770. (in Chinese) |
| [14] |
陈远, 康虹, 范运昌. 基于IFC与gbXML标准的建筑信息模型与绿色建筑分析软件互操作性测试与评估[J]. 图学学报, 2018, 39(3): 530-537. CHEN Yuan, KANG Hong, FAN Yunchang. Interoperability test and evaluation of building information model and green building analysis software based on IFC and gbxml standards[J]. Journal of Graphics, 2018, 39(3): 530-537. (in Chinese) |
| [15] |
陈向上, 刘金旭. 基于IFC标准的造价模型在医院工程中的应用[J]. 建筑技术, 2019, 50(2): 213-216. CHEN Xiangshang, LIU Jinxu. Application of cost model based on IFC Standard in hospital engineering[J]. Building Technology, 2019, 50(2): 213-216. (in Chinese) |
| [16] |
陶婉婉. 基于二次开发方法的BIM模型数据提取方法研究[J]. 价值工程, 2019, 38(8): 159-161. TAO Wanwan. Research on BIM model data extraction method based on secondary development method[J]. Value Engineering, 2019, 38(8): 159-161. (in Chinese) |
| [17] |
李正农, 朱爱民, 吴红华, 等. 基于Revit的二次开发在脚手架设计中的应用研究[J]. 湖南大学学报(自然科学版), 2018, 45(9): 65-73. LI Zhengnong, ZHU Aimin, WU Honghua, et al. Application research of secondary development based on revit in scaffold design[J]. Journal of Hunan University (Natural Science), 2018, 45(9): 65-73. (in Chinese) |
| [18] |
Commission Internationale de l'Éclairage. CIE171: 2006-test cases to assess the accuracy of lighting computer programs[S]. Vienna (Austria): CIE, 2006.
|
| [19] |
Raphaël L, Henrik W J, Claus W J. An iterative workflow to assess the physical accuracy of lighting simulation programmes[J]. Light & Engineering, 2010, 18(2): 60-70. |
| [20] |
Moraes L N, Silva A S, Claro A. Evaluation of the software light tool and apolux according to protocols of technical report CIE 171: 2006[C]//Proceedings of Building Simulation 2013, International Building Performance Simulation Association; Aug 25-28, 2013. Chambéry, France, 2013: 1079-1086.
|
| [21] |
Mangkuto R A. Validation of DIALux4.12 andDIALux evo4.1 against the Analytical Test Cases of CIE 171:2006[J]. Leukos, 2016, 12(3): 139-150. DOI:10.1080/15502724.2015.1061438 |
| [22] |
DIAL GmbH. 2015b. DIALux evo-new calculation method[EB/OL].(2015-03-16)[2018-12-10]http://www.dial.de/DIAL/fileadmin/download/dialux/wissen/DIALux_evo-_New_calculation_method.pdf.
|
| [23] |
Lighting Analysts. ElumTools Help(2019, 2018, 2017, 2016)[EB/OL].[2019-11-12]http://www.elumtools.com/docs/2019/Default.htm.
|
| [24] |
Geisler-Moroder D, Dür A. Validation of radiance against CIE 171: 2006 and improved adaptive subdivision of circular light sources[C]//7th International RADIANCE Workshop; Oct 30-31, 2008. Fribourg, Switzerland. c2008.
|
| [25] |
John W, So ns. Radiosity:A Programmer's Perspective[M]. New York: Heart Consultants Limited, 2002.
|
| [26] |
Jensen H. Realistic image synthesis using photon mapping[M]. Natick Massachusetts: :A K Peters/CRC Press, 2001.
|
| [27] |
Suffern K. Ray tracing from the ground up[M]. Natick Massachusetts: .: A K Peters/CRC Press, 2016.
|
| [28] |
Cline D, Talbot J, Egbert P. Energy redistribution path tracing[J]. ACM Transactions on Graphics, 2005, 24(3): 1186-1195. DOI:10.1145/1073204.1073330 |
| [29] |
荣浩磊, 何佳明. 照明设计软件比较综述[J]. 照明工程学报, 2006, 17(4): 81-86. RONG Huolei, HE Jiaming. Comparing of software for lighting designing[J]. China Illuminating Engineering Journal, 2006, 17(4): 81-86. (in Chinese) |
2020, Vol. 43


