2. 江苏天舜金属材料集团有限公司, 江苏 扬中 212219
2. Jiangsu Tianshun Metal Materials Group Co., Ltd., Yangzhong 212219, Jiangsu P. R. China
建筑业节能降耗、绿色环保的要求使高强钢筋的工程应用逐渐增加。钢筋与混凝土共同工作的基本保证之一是钢筋与混凝土有粘结作用,开展外形变化的高强钢筋与混凝土粘结性能的研究,可为高强钢筋的工程应用标准制定提供参考。毛达岭等[1]研究了HRB500级高强钢筋与混凝土的粘结锚固性能,通过试验结果的回归分析得到粘结强度计算式。李艳艳[2],牛旭宁等[3]研究了600 MPa级高强钢筋与混凝土的粘结锚固性能,得出600 MPa级钢筋极限粘结强度的计算式。金星等[4]进行了HRB600钢筋与钢纤维高强混凝土的粘结性能试验,建立了与钢纤维体积率相关的粘结滑移本构关系模型。目前尚缺少对强度大于600 MPa的高强钢筋与混凝土的粘结性能研究。月牙纹钢筋的横肋间距是影响其与混凝土粘结锚固性能的因素,我国规定的钢筋最大横肋间距为0.7倍钢筋直径[5],国际标准[6]中规定钢筋的最大的横肋间距为0.8倍钢筋直径,英国标准规范[7]中规定钢筋的最大横肋间距为1.2倍钢筋直径。中国企业生产的630 MPa高强钢筋的横肋间距有所增大。增大横肋间距可使更多的粗骨料落入钢筋肋间,同时增大了钢筋肋间混凝土的受剪面积,可能对钢筋与混凝土的粘结强度有利。为了掌握横肋间距变化对630 MPa级钢筋与混凝土的粘结锚固性能的影响,研究高强钢筋与混凝土的粘结性能,文中采用梁式粘结试验对标准外形以及横肋间距增大的2种630 MPa级钢筋与混凝土的粘结锚固性能进行了试验,分析了混凝土保护层厚度、钢筋直径、锚固长度等因素对两类钢筋与混凝土粘结锚固性能的影响, 对比了不同肋间距钢筋与混凝土的锚固性能,为高强钢筋的工程应用提供了理论与实验依据。
1 试件制作 1.1 试验材料 1.1.1 混凝土试验采用混凝土的强度为C30、C35及C40,同时浇筑100 mm×100 mm×100 mm的立方体试块在同等条件下养护28 d,以测试混凝土的抗压强度。根据(GB/T50081—2002)《普通混凝土力学性能试验方法标准》[8]对混凝土立方体试块力学性能试验,各等级混凝土的配合比及其力学性能,如表 1所示。
| 表 1 混凝土配合比及立方体抗压强度 Table 1 Concrete mix proportion and cube compressive strength |
试验所用钢筋为外型符合(GB/T 1499.2—2018)《钢筋混凝土用钢第2部分:热轧带肋钢筋》[5]的630 MPa级高强钢筋(简称T63)及横肋间距增大,公称直径不变的630 MPa级高强钢筋(下简称为TB63),其横肋间距对比如表 2所示。钢筋直径选16 mm、22 mm、25 mm 3种,钢筋的力学性能,如表 3所示。
| 表 2 钢筋横肋间距对比 Table 2 Comparison of spacing between transverse ribs of reinforcement |
| 表 3 钢筋力学性能 Table 3 Mechanical properties of reinforcement |
梁式试验方法参照FILEM-FIP-CEB[9]中建议的梁式粘结试验,试件的制作主要包括测试钢筋的加工,粘接钢筋应变片,预埋钢铰制作以及非受力钢筋的制作。其中两段梁体内粘结长度分别选为5 d、7 d、10 d,在每段钢筋粘结区段分别交叉布置5个、7个、10个钢筋应变片,下侧、左侧和右侧保护层厚度均为20 mm。架力筋和腰筋均采用HRB400级钢筋,直径10 mm。箍筋为HPB300级钢筋,直径8 mm,间距为50 mm,每个梁式粘结试件配开口箍筋12个,环形箍筋10个。考虑钢筋横肋间距、锚固长度、钢筋直径及混凝土强度等因素对粘结性能的影响,设计了4组试件,每组3个试件共计42个试件,高强钢筋与混凝土梁式粘结试件各参数的组合情况,如表 4所示。
| 表 4 试件参数及分组 Table 4 Test piece parameters and grouping |
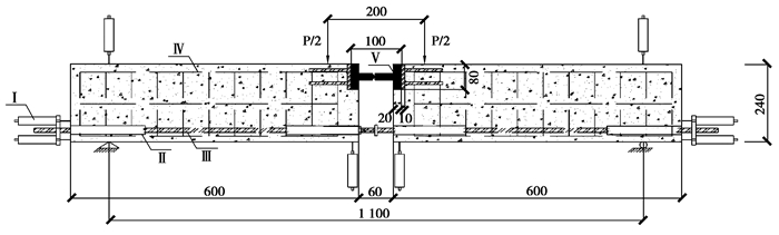
梁式试件的尺寸均为150 mm×240 mm×1 260 mm,整根钢筋通长开槽,在粘结长度内贴钢筋应变片,试件内钢筋无粘结部分通过PVC管套筒来隔离。梁式试验在两段半梁自由端、加载端,加载端底部设置位移计以测试加载端、自由端滑移值及梁的挠度。具体位置及试件尺寸,如图 1所示。
|
图 1 梁式试验装置示意图 Fig. 1 Schematic diagram of beam test device |
试验通过电液伺服作动器及反力门架进行加载,加载设备通过计算机进行控制,可自动绘制荷载位移曲线,其最大量程为1 000 kN,数据采集使用DH3820高速静态应变采集仪和位移计。为便于分析钢筋产生滑移后粘结滑移关系,根据(GB/T 50152—2012)《混凝土结构试验方法标准》[8]采用力位移方法控制加载方案,加载初期按照力控制加载,速率为0.1 kN/s,钢筋端部出现滑移(即梁两侧自由端滑移)后按照相对滑移控制加载,速率为0.3 mm/min。当自由端一侧粘结滑移破坏或者滑移达到3 mm后或荷载下降至峰值荷载的70%以下,或加载端混凝土劈裂,试验结束。
2 试验结果及分析 2.1 试验现象及破坏形态梁式试件破坏形态有3种,分别为混凝土劈裂破坏、钢筋滑移破坏、混凝土劈裂与钢筋滑移破坏,同组试件的破坏形态相同,标准肋间距和加大肋间距的试件当其它参数相同时,破坏形态相同,没有例外,各试件的破坏形态如表 4所示。
1) 混凝土劈裂破坏。共6组试件发生此类破坏,如图 2所示。加载过程中,当荷载达到峰值荷载时,混凝土突然开裂,表现出明显的脆性,自由端未发生明显滑移。这是由于钢筋直径较大时,混凝土的相对保护层厚度较小,横向约束较弱,在荷载作用下,试件内部的环向拉应力达到混凝土的抗拉强度时,试件内部开裂,裂缝迅速扩展至试件表面,试件劈裂。
|
图 2 混凝土劈裂破坏 Fig. 2 Splitting failure of concrete |
2) 钢筋滑移破坏。有4组试件发生此类破坏,如图 3所示。试件破坏时,试件表面未发现明显的可见裂缝,自由端滑移较大,可以看出试件产生了较大的挠度,试件达到极限荷载后荷载下降,自由端滑移达3 mm,停止试验。这是由于混凝土相对保护层厚度较大,横向约束较强,混凝土受到的环向拉应力产生的细小裂缝难以到达试件表面。同时,由于混凝土强度较低,随着荷载增大,肋间混凝土齿被逐渐剪坏,钢筋滑移量增大。
|
图 3 滑移破坏 Fig. 3 Slip failure |
3) 混凝土劈裂与钢筋滑移破坏。有4组试件发生此类破坏,如图 4所示。此类试件在破坏时,一肢梁的底部发现肉眼可见的细小裂缝,裂缝沿钢筋轴向呈直线形状,同时测到该肢自由端发生较大滑移,另一肢梁加载端有大块混凝土脱落,脱落出一个扇面形的凹坑,漏出内部钢筋。
|
图 4 混凝土劈裂与钢筋滑移破坏 Fig. 4 Concrete splitting and steel slip failure |
钢筋应力及粘结应力的计算采用如下公式:
| $ {{\sigma _{\rm{s}}} = \frac{{4{P_{\rm{s}}}}}{{{\rm{ \mathsf{ π} }}{d^2}}}, } $ | (1) |
| $ {\tau = \frac{{{P_{\rm{s}}}}}{{{\rm{ \mathsf{ π} }}d\;{l_a}}}, } $ | (2) |
式中:Ps为作用在钢筋上的拉力;σs为钢筋拉应力;τ为平均粘结应力;la为钢筋粘结长度,mm;d为钢筋的直径,mm。
为分析TB63与T63钢筋粘结应力的情况,表 5列出了所有试件平均粘结应力的对比情况。采用Grubbs检验法,取置信概率为95%,若存在异常值则剔除,取剩下数据的平均值。
| 表 5 2类钢筋与混凝土粘结强度对比 Table 5 Comparison of bond strength between two kinds of reinforcement and concrete |
由表 5可知,配有2类不同钢筋类型试件的粘结应力比值均在1左右,采用数理统计方法计算出τ1/τ2=1的置信概率为95%,考虑到试验过程中不可避免的误差,可以认为横肋间距增大不影响T63钢筋与混凝土的粘结强度。从变形钢筋与混凝土的粘结机理分析,横肋间距增加,有利于提高两者的粘结强度,增大横肋间距可使更多的粗骨料落入钢筋肋间,同时增大了钢筋肋间混凝土的受剪面积,可能对钢筋与混凝土的粘结强度有利。进一步增加横肋间距使比值达国外标准,是否也增大高强钢筋与混凝土的粘结力,尚待进一步的试验验证。
2.2.2 影响粘结强度的因素分析试验主要从混凝土的强度、钢筋直径以及锚固长度等因素对两类钢筋与混凝土的粘结性能进行了对比与分析。
1) 混凝土强度。锚固长度为7 d,钢筋直径为16 mm,混凝土的强度分别为C30、C35、C40的两类试件的试验结果,如图 5所示。
|
图 5 粘结强度与混凝土抗压强度的关系 Fig. 5 The relationship between bond strength and compressive strength of concrete |
由图 5可知,两类钢筋与混凝土的粘结强度随混凝土强度的增大而增大,主要是因为随着混凝土强度的提高,钢筋与混凝土间的化学粘结力以及机械咬合力也随之增大, 同时混凝土强度增大导致钢筋肋前的混凝土齿难以被剪断,肋前混凝土破坏所需的荷载也会增大。
2) 钢筋直径。锚固长度为7 d,混凝土强度为C30,钢筋直径分别为16、22、25 mm的两类试件的试验结果,如图 6所示。可以看出,随着钢筋直径的增大,两类钢筋与混凝土间的粘结强度总体上是呈下降趋势。
|
图 6 粘结强度与钢筋直径的关系 Fig. 6 The relationship between bond strength and reinforcement diameter |
3) 锚固长度。试验主要采用了5 d、7 d、10 d 3种不同的锚固长度,直径均为16 mm,混凝土强度均为C30的试件的试验结果,如图 7所示。
|
图 7 粘结强度与相对锚固长度的关系 Fig. 7 The relationship between bond strength and relative anchorage length |
可以看出,两类钢筋与混凝土的粘结强度总体上是随着相对锚固长度的增大而减小的。这是因为粘结长度较短的试件,其内部粘结应力分布比较均匀,高粘结应力区所占的比例较大,故平均粘结应力也较大。对于粘结长度较长的试件,随着锚固长度的增加其内部的粘结应力分布越不均匀,高粘结应力区占比较小,故平均粘结应力较小。
上述试件与普通变形钢筋与混凝土粘结锚固各因素的影响大致相同,说明高强钢筋和变肋钢筋与混凝土的粘结锚固的机理基本相同。
2.2.3 平均粘结应力滑移关系曲线根据试验数据可得出各个试件的平均粘结应力滑移关系曲线,按破坏形式可将曲线分为3类,如图 8所示。加载端的滑移值是指梁跨中设置的与钢筋位置重合的位移计所测的2个半梁底部的相对分开值,自由端1、自由端2分别对应梁左半肢、右半肢的自由端。
|
图 8 部分试件的平均粘结应力滑移关系曲线 Fig. 8 Average bond stress slip curve of some specimens |
可以看出,在加载初期,两类钢筋加载端的滑移均随着粘结应力的增大近似地呈线性增长,而自由端未产生滑移,当荷载增加到一定值后,自由端也逐渐开始产生滑移。对于钢筋滑移破坏的试件,当荷载达到极限荷载后,荷载开始下降,加载端和自由端的滑移急速增长,直到发生钢筋滑移破坏,试验停止。对于劈裂破坏的试件,加载初期,加载端的滑移量随着荷载的增大而增大,达到极限荷载时,加载端混凝土保护层突然裂开,试验停止,荷载无下降段。两类钢筋与混凝土的平均粘结应力滑移曲线的形状、走势以及试件的破坏形态一致,说明横肋间距增大不改变T63钢筋的平均粘结滑移曲线特征。
2.2.4 钢筋应变锚固位置关系曲线图 9给出了部分试件在不同钢筋应力下,粘结区钢筋应变随锚固位置变化的分布规律,靠近加载端的第1个应变片所处的位置为坐标原点。ϕ16的钢筋间隔16 mm布置1个应变片,ϕ22的钢筋间隔22 mm布置1个应变片,最后1个应变片位置靠近自由端。从图 9可以看出:
|
图 9 部分试件钢筋应变锚固位置曲线 Fig. 9 Strain anchor position curve of some specimens |
1) 钢筋的应变值从加载端到自由端逐渐减小,随着钢筋应力的增大,加载端的应变变化较大,自由端应变变化较小。说明越靠近加载端,粘结应力越大,而自由端的应力较小。
2) 在钢筋直径、钢筋横肋间距相同的情况下,混凝土强度越大,同一荷载下加载端应变越小。表明随混凝土强度提高,钢筋与混凝土间的粘结应力增大,故相同荷载下钢筋应变较小。
3) 在混凝土强度、钢筋直径、锚固长度均相同的情况下,标准外形的钢筋在同一荷载下的应变值与横肋间距增大的钢筋的应变值差值在4%左右,认为横肋间距增大对同一荷载下钢筋的应变值无较大影响。
3 结论1) 横肋间距增大对T63钢筋与混凝土的粘结锚固性能无显著影响。通过对两类钢筋的粘结强度进行对比,发现横肋间距增大的TB63钢筋与混凝土的粘结强度与标准外形的T63钢筋的比值近似为1,方差为0.001 8。
2) 两类钢筋与混凝土的粘结强度随混凝土强度、钢筋直径、锚固长度变化规律基本一致,说明高强钢筋和变肋高强钢筋与混凝土的粘结锚固的机理基本相同。
3) 横肋间距增大不改变T63钢筋的平均粘结滑移曲线特征。两类钢筋与混凝土间得平均粘结应力滑移曲线的形状、走势一致。
4) 标准外形的钢筋在同一钢筋应力下加载端应变值与横肋间距增大的钢筋的应变值的差值在4%左右。横肋间距增大对钢筋的应变值影响不明显。
综上所述,建议工程中采用增大肋间距的新型高强钢筋时,可用现行相关标准确定钢筋的锚固长度。
| [1] |
毛达岭. HRB500钢筋粘结锚固性能的试验研究[D].郑州: 郑州大学, 2004. MAO Daling. Experimental study on bond anchorage performance of HRB500 steel bar[D]. Zhengzhou: Zhengzhou University, 2004. (in Chinese) http://cdmd.cnki.com.cn/article/cdmd-10459-2004114811.htm |
| [2] |
李艳艳, 苏恒博. 600MPa钢筋粘结锚固性能试验研究[J]. 建筑结构, 2017, 47(24): 93-97. LI Yanyan, SU Hengbo. Experimental research on bond-anchorage property of 600MPa steel bars[J]. Building Structure, 2017, 47(24): 93-97. (in Chinese) |
| [3] |
牛旭宁. 600MPa级热轧带肋钢筋粘结锚固性能试验研究[D].天津: 河北工业大学, 2015. NIU Xuning. Bond-anchorage capability experimental research on 600MPa hot-ribbed steelbar[D]. Tianjin: Hebei University of Technology, 2015. (in Chinese) http://cdmd.cnki.com.cn/Article/CDMD-10080-1017873701.htm |
| [4] |
金星. HRB600钢筋与钢纤维高强混凝土粘结性能试验研究[D].郑州: 郑州大学, 2017. JIN Xing. Bond properties between HRB600 steel bar and steel fiber reinforced high-strength concrete[D]. Zhengzhou: Zhengzhou University, 2017. (in Chinese) http://cdmd.cnki.com.cn/Article/CDMD-10459-1017141926.htm |
| [5] |
中华人民共和国国家质量监督检验检疫总局.钢筋混凝土结构用钢第2部分: 热轧带肋钢筋GB/T 1499.2-2018[S].北京: 中国标准出版社, 2018. General Administration of Quality Supervision, Inspection and Quarantine of the People's Republic of China. Steel for the reinforcement of concrete-Part 2: Hot rolled ribbed bars GB/T 1499.2-2018[S]. Beijing: China Standard Press, 2018. (in Chinese) |
| [6] |
Technical Committee. 2015 Steel for the reinforcement of concrete-Part 2: Ribbed bars ISO.ISO6935-2[S]. Switzealand: ISO, 2015.
|
| [7] |
The British Standards Institution. Steel for the reinforcement of concrete. Weldable reinforcing steel. Bar, coil and decoiled product. Specification[S]. London, UA: BSI British Standards, 2005.
|
| [8] |
中华人民共和国住房和城乡建设部.普通混凝土力学性能试验方法标准GB 50081-2002[S].北京: 中国建筑工业出版社, 2003. Housing and urban-rural construction in the People's Republic of China. Standard for test method of mechanical properties on ordinary concrete GB 50081-2002[S]. Beijing: China Building Industry Press, 2003. (in Chinese) |
| [9] |
Rilem F C. Tentative recommendation-bond test for reinforcing steel[J]. Materials and Structures, 1973, 6(32): 97105. |
2020, Vol. 43


