太阳能资源丰富的地区往往昼夜温差大,导致采暖建筑室内夜间热稳定性变差。通过建筑围护结构对日间太阳辐射能进行储存,而在夜间向室内释放,既降低采暖能耗,又解决了太阳能与采暖需求在时序上匹配的问题。相变材料储能密度大、热效率高[1],应用于建筑围护结构储能时,能有效降低室内温度波动、提高室内舒适度,降低建筑采暖负荷[2-5]。这些优良特性使得相变蓄能围护结构成为了研究热点。肖伟[6]提出了一种与太阳能空气集热器结合的相变蓄能地板采暖系统。日间,空气经过太阳能空气集热器加热,输送至相变地板的空气夹层,加热地板中的相变材料实现蓄热;夜间,室内空气流经空气层将相变材料释放的热量带出,给室内供暖。刘馨等[7-8]把装有相变材料的塑料管横架于苯板与石膏板之间,使太阳能空气集热器加热后的热空气横掠塑料管,熔化相变材料蓄热,构成了一种结合太阳能空气集热器的相变墙采暖系统,并对该系统的储热特性进行了分析。这2个系统都能提高室内夜间温度,改善房间热舒适性,但与房间尺寸相近的风道过长。沿流动方向,热风的温度不断降低,与相变材料的温差越来越小,使得靠近热风出口处的相变材料熔化少、利用率低。
文中提出了一种利用太阳能空气集热器提供的热气流作为热源的“热风式相变储能模块”,如图 1所示。蓄热时,热风进入模块内的管道,加热管间相变材料使其熔化实现储能;放热时,热量通过模块与室内空气的接触面向室内释放,相变材料凝固。该模块化结构可根据建筑围护结构特征进行串联或并联安装,文中实验分析该相变蓄能模块的蓄、放热特性。
|
图 1 热风式相变储能模块及其单元 Fig. 1 Hot air phase change thermal storage module |
应用于建筑围护结构中的相变材料应该满足:1)合适的相变温度;2)相变潜热大;3)导热系数大;4)无过冷现象;5)熔化凝固循环过程中性质稳定、体积变化小;6)价格便宜,无毒、无腐蚀、无泄漏、对环境无污染等[9-11]。目前,国内外用于建筑围护结构中的相变材料主要包括石蜡、脂肪酸类有机相变材料和结晶水合盐类无机相变材料。有机相变材料的相变温度范围和熔化潜热较大、化学性质稳定、体积变化小,但导热系数较低;无机相变材料熔化潜热大、导热系数较高,但体积变化大,对大多数金属有腐蚀。综合考虑上述因素,选用癸酸(脂肪酸)作为相变蓄能材料,其主要物性参数如表 1所列。
| 表 1 癸酸的热物性 Table 1 Thermal properties of decanoic acid |
取图 1中相变储能模块的一个单元(l=500 mm,w=50 mm,δ=12 mm)为研究对象。采用1 mm厚的不锈钢薄板焊接成扁盒状容器封装癸酸,其中心穿过1根φ8×1 mm的铜管作为热风管道。单元外表面(包括两端)包裹10 mm厚的橡塑保温材料。在储能单元水平放置和竖直放置2种条件下进行实验,装置如图 2所示。单元水平放置时,热风右侧进左侧出;竖直放置时,热风上进下出。为了简化实验,用电加热器模拟太阳能空气集热器,将空气加热到稳定的温度后送入蓄热单元的铜管内。蓄热时,开启风机、加热器、阀门等,热风从铜管内流过,单元蓄热;放热时,关闭风机、电加热器,单元向室内放热。
|
图 2 实验系统 Fig. 2 Schematic diagram of test system |
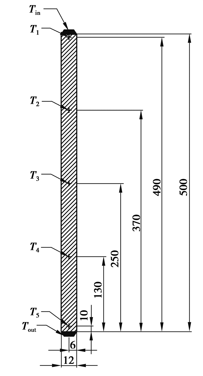
采用T型热电偶测温。铜管的进出口各设置1对热电偶用于测量热风的进、出口温度;沿热风流动方向均匀地在相变材料内设置5对热电偶测量蓄热和放热过程中癸酸的温度。热电偶在蓄热单元宽度方向上与铜管中心的距离为15 mm,与热风出口侧容器边缘的距离,如图 3所示。由于热电偶的体积相对于相变材料很小,热电偶对相变过程的影响可以忽略。
|
图 3 测点布置 Fig. 3 Temperature measuring points |
实验的不确定度由式(1)[15]计算:
| $ U=\pm \sqrt{\left(\frac{\delta T_{\mathrm{TC}}}{\Delta T_{\mathrm{TC}}}\right)^{2}+\left(\frac{\delta T_{\mathrm{CJ}}}{\Delta T_{\mathrm{CJ}}}\right)^{2}+\left(\frac{\delta q_{\mathrm{v}}}{\Delta q_{\mathrm{v}}}\right)^{2}} \times 100 \%, $ | (1) |
式中,δTTC为热电偶的温度测量误差,℃;ΔTTC为实验中的温度变化范围,℃;δTCJ为数据采集仪的温度补偿误差,℃;ΔTCJ为实验中的温度范围,℃;δqv为空气流量计的测量误差,L/min,Δqv为空气流量计的测量范围,L/min。
经标定,所用T型热电偶的绝对测量误差为±0.2 ℃;数据采集仪(Agilent 34970A)的温度补偿误差为±0.2 ℃;气体流量计测量范围为0~25 L/min,测量误差为±0.5 L/min。按式(1)计算得到实验的不确定度为±2.1%。
3 实验结果与分析 3.1 蓄热过程中的热特性图 4给出了蓄热过程中,相变储能单元水平放置时,癸酸温度随时间的变化。热风进口温度为49.8~51.9 ℃,速度为9.39~9.91 m/s;室内空气温度为11.4~12.6 ℃。蓄热初期,癸酸处于固态,温度从初始温度开始迅速上升,这一阶段是显热蓄热过程。随着蓄热的进行,癸酸温度逐渐达到熔化温度并发生相变,当其完全熔化变成液态后温度仍然持续上升,进入液相显热蓄热过程。
|
图 4 单元水平放置时癸酸的温度变化(蓄热过程) Fig. 4 Temperature variation of decanoic acid in horizontal module (in melting) |
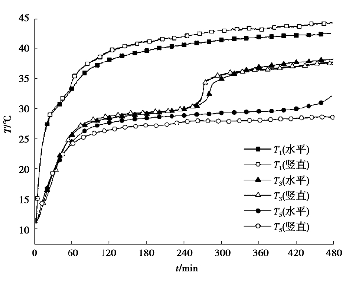
T1位置热风温度高,换热温差大,癸酸在短时间内完成相变过程,成为液体,该曲线没有明显的定温阶段。T2、T3位置癸酸的相变蓄热曲线则明显存在一个“平台期”,即定温熔化过程。在测点位置的癸酸完全熔化后,进入液相显热蓄热阶段,液态癸酸的温度进一步升高。由于局部自然对流加强以及液相癸酸比热容较低,在相变完成后温度上升速率较大。在480 min时,T4、T5处的癸酸基本熔化。可见,沿热风流动方向,由于热风与癸酸之间的换热温差逐渐减小,癸酸发生相变所需的时间逐渐增加。另一方面,在液相显热蓄热阶段,由于相变储能单元整体温度较高,其表面与环境之间换热增强,故癸酸温度上升变得缓慢。相变储能单元竖直放置时,相变材料各测点温度随时间的变化趋势与水平放置时相同。
图 5比较了相同实验条件下,相变储能单元水平放置和竖直放置时,蓄热过程中癸酸的温度变化。
|
图 5 单元水平和竖直放置时癸酸的温度变化(蓄热过程) Fig. 5 Comparison of the temperature variation of decanoic acid in horizontal and vertical modules (in melting) |
蓄热初期,水平放置条件下单元内的癸酸与竖直放置的温度相近,升温速率相同。随着癸酸不断熔化,癸酸温度变化受到放置方式的影响:单元水平放置时T1的温度低于竖直放置,T3的温度由低于竖直放置逐渐变化为高于竖直放置,T5的温度一直高于竖直放置。水平放置时,T5在480 min末刚好熔化,而竖直放置时T5尚未发生相变。可见,模块的放置方式影响着癸酸的相变程度和蓄热量。
3.2 放热过程中的热特性图 6给出了放热过程中,相变储能单元水平放置时,癸酸温度随时间的变化。室内空气温度为10.4~11.6 ℃。
|
图 6 单元水平放置时癸酸的温度变化(放热过程) Fig. 6 Temperature variation of decanoic acid in horizontal module (in freezing) |
放热初期,液态癸酸与室内空气之间存在较大温差,热量从单元内液态癸酸通过单元壁面向室内散发,癸酸温度迅速降低。当癸酸的温度降至30 ℃时,癸酸开始凝固,温度变化趋缓。当癸酸完全凝固后,由于蓄热单元与室内环境仍然存在温差,癸酸温度进一步降低,最终趋于室温。T1、T5温度变化趋势一致,没有明显的定温凝固放热时段(即“平台期”)。T2、T4温度变化趋势也一致,凝固放热时间持续了3 h左右,T3凝固放热时间最长。可见,储能单元水平放置时,由于端部换热影响,癸酸是由两端向中间凝固。
图 7比较了相同实验条件下,相变储能单元水平放置和竖直放置时,放热过程中癸酸温度的变化。
|
图 7 单元水平和竖直放置时癸酸的温度变化(放热过程) Fig. 7 Comparison of the temperature variation of decanoic acid in horizontal and vertical modules (in freezing) |
放热初期,单元水平放置与竖直放置时的温度变化速率因蓄热终了时液态癸酸温度不同而不同。癸酸凝固过程中,单元水平放置时T1的温度变化率高于竖直放置。这是由于单元竖直放置时,相变导致癸酸的体积变化在单元顶部形成了一个小空腔,削弱了热传递。而单元水平放置时,两端的癸酸直接与导热系数大的不锈钢板接触,使单元端部的热传递更强烈。单元水平放置时,T3的凝固时间长于竖直放置。单元水平放置的T5经过短时间的相变后进入固相区显热放热,而竖直放置的T5因未熔化而始终处于显热放热状态。
3.3 改进结构的热特性从3.1节可知,当相变储能单元竖直放置时,在480 min末时T5位置的癸酸仍未发生相变,相变蓄热材料未得到充分利用。为此,对原模块的换热结构进行了改进,即将直管换为S型铜管,以增大热风与蓄热材料间的换热面积,如图 8所示。由于铜管长度增加导致的癸酸体积变化很小(-0.06%),可忽略癸酸体积变化对蓄热量的影响。图 9(a)、9(b)给出了相同实验条件下,相变储能原单元(直管)和改进单元(弯管)中,癸酸在蓄热、放热过程中的温度变化。蓄热过程中,改进单元各测点的温度均高于原单元,熔化所需时间缩短,T5位置的癸酸在480 min末时也完成了相变。这是由于弯管换热结构不仅具有更大的换热面积,同时亦可强化铜管外壁侧液相癸酸的自然对流。放热过程中,改进单元各点的温度变化与原单元相比变化不大,在720 min末时,各点的温度几乎不再变化。所以,S型弯管强化了原模块的蓄热过程,但对放热过程影响不大。
|
图 8 改进的相变储能单元(S型铜管) Fig. 8 Improved phase change thermal storage module (S pipe) |
|
图 9 不同单元中癸酸的温度变化 Fig. 9 Temperature variation of decanoic acid in different modules |
文中提出了一种以癸酸作为相变材料的热风式相变储能模块,选取了该模块的一个单元为实验对象,分别测量了蓄放热过程中,单元竖直放置时和水平放置时癸酸的温度变化,得到了该模块的蓄放热特性。实验发现:相同条件下,模块水平放置的癸酸熔化率比竖直放置高。为热风式相变储能模块在实际应用中的安装布置提供了参考。在以上研究的基础上,将原模块中的直铜管改为S型铜管,增大了换热面积。结果表明,改进单元中的癸酸相变更加完全,储能效果更好。
| [1] |
Jeong S G, Jeon J, Cha J, et al. Preparation and evaluation of thermal enhanced silica fume by incorporating organic PCM, for application to concrete[J]. Energy and Buildings, 2013, 62: 190-195. DOI:10.1016/j.enbuild.2013.02.053 |
| [2] |
Kuznik F, David D, Johannes K, et al. A review on phase change materials integrated in building walls[J]. Renewable and Sustainable Energy Reviews, 2011, 15(1): 379-391. DOI:10.1016/j.rser.2010.08.019 |
| [3] |
Tyagi V V, Kaushik S C, Tyagi S K, et al. Development of phase change materials based microencapsulated technology for buildings: a review[J]. Renewable and Sustainable Energy Reviews, 2011, 15(2): 1373-1391. DOI:10.1016/j.rser.2010.10.006 |
| [4] |
Charvát P, Klimeš L, Ostry M. Numerical and experimental investigation of a PCM-based thermal storage unit for solar air systems[J]. Energy and Buildings, 2014, 68: 488-497. DOI:10.1016/j.enbuild.2013.10.011 |
| [5] |
Li M, Wu Z S, Tan J M. Heat storage properties of the cement mortar incorporated with composite phase change material[J]. Applied Energy, 2013, 103: 393-399. DOI:10.1016/j.apenergy.2012.09.057 |
| [6] |
肖伟, 王馨, 张群力, 等. 结合太阳能空气集热器的定形相变蓄能地板采暖系统实验研究[J]. 太阳能学报, 2008, 29(11): 1319-1323. Xiao W, Wang X, Zhang Q L, et al. Experimental study on underfloor air supply system with air solar collector and shape-stabilized pcm[J]. Acta Energiae Solaris Sinica, 2008, 29(11): 1319-1323. (in Chinese) DOI:10.3321/j.issn:0254-0096.2008.11.001 |
| [7] |
刘馨, 冯国会, 黄凯良, 等. 太阳能空气集热器与相变墙复合采暖系统试验研究[J]. 土木工程学报, 2010, 43(S2): 430-434. Liu X, Feng G H, Huang K L, et al. Experiment research for compositing solar energy air collector and phase change wall heating system[J]. China Civil Engineering Journal, 2010, 43(S2): 430-434. (in Chinese) |
| [8] |
刘馨, 冯国会, 黄凯良. 太阳能空气集热器和相变储能墙复合采暖系统分析[J]. 储能科学与技术, 2015, 4(6): 632-637. Liu X, Feng G H, Huang K L. Integration of solar air collector with phase change material wall for a heating system[J]. Energy Storage Science and Technology, 2015, 4(6): 632-637. (in Chinese) DOI:10.3969/j.issn.2095-4239.2015.06.012 |
| [9] |
Memon S A. Phase change materials integrated in building walls: a state of the art review[J]. Renewable and Sustainable Energy Reviews, 2014, 31: 870-906. DOI:10.1016/j.rser.2013.12.042 |
| [10] |
Moulahi C, Trigui A, Karkri M, et al. Thermal performance of latent heat storage: phase change material melting in horizontal tube applied to lightweight building envelopes[J]. Composite Structures, 2016, 149: 69-78. DOI:10.1016/j.compstruct.2016.04.011 |
| [11] |
Soares N, Costa J J, Gaspar A R, et al. Review of passive PCM latent heat thermal energy storage systems towards buildings' energy efficiency[J]. Energy and Buildings, 2013, 59: 82-103. DOI:10.1016/j.enbuild.2012.12.042 |
| [12] |
王源霞. 太阳能通风结合相变墙体在夏热冬暖地区的应用研究[D]. 广州: 华南理工大学, 2012. Wang Y X. Adaptation of solar ventilation combined with phase change wallboard in hot summer and warm winter region[D]. Guangzhou: South China University of Technology, 2012. (in Chinese) |
| [13] |
Mezaki, Reiji; Mochizuki, Masafumi; Ogawa, Kohei (2000). Engineering Data on Mixing (1st ed. ). Elsevier Science B.V. p. 278. ISBN 0-444-82802-8.
|
| [14] |
Sigma-Aldrich Co., Decanoic acid. Retrieved on 2014-06-15.
|
| [15] |
Zhou D, Zhao C Y. Experimental investigations on heat transfer in phase change materials (PCMs) embedded in porous materials[J]. Applied Thermal Engineering, 2011, 31(5): 970-977. DOI:10.1016/j.applthermaleng.2010.11.022 |
2022, Vol. 45


