2. 南昌工程学院 江西省精密驱动与控制重点实验室, 南昌 330099;
3. 重庆大学 机械传动国家重点实验室, 重庆 400044
2. Jiangxi Province Key Laboratory of Precision Drive & Control, Nanchang Institute of Technology, Nanchang 330099, P. R. China;
3. The State Key Laboratory of Mechanical Transmissions, Chongqing University, Chongqing 400044, P. R. China
插电式四驱混合动力汽车具有良好的动力性、操纵稳定性和通过性,除此之外,针对前桥使用AMT的插电式四驱混合动力汽车,其单独电机后桥驱动可以弥补AMT换挡过程中的动力中断[1],针对前桥使用CVT的插电式四驱混合动力汽车,单独的电机后桥驱动可以合理避开低速阶段CVT(continuously variable transmission)不够经济且冲击较大的弊端。基于以上优点,插电式四驱混合动力汽车越来越受市场青睐。
能量管理策略是插电式混合动力汽车具有良好能耗性能和排放性能的基础,也是插电式混合动力汽车的核心技术之一[2-4]。插电式四驱混合动力汽车具有多个可以独立或协同工作的动力部件,且控制变量较多,因此其能量管理策略的制定是一项复杂的工程[5]。
目前插电式混合动力汽车能量管理策略分为基于规则的能量管理策略和基于优化算法的能量管理策略。前者控制简单、开发成本低且实时性好,目前已用于实际车辆控制,但是该类控制策略依赖专家经验,不具有良好的工况适应性[6]。后者包括基于全局优化算法的能量管理策略和基于瞬时优化算法的能量管理策略。全局优化算法能量管理策略一般需要已知行驶工况,且难以应用于实时控制[7-9]。相比于全局优化算法能量管理策略,以极小值原理为代表的瞬时优化算法在提高算法计算效率的基础上可得到近似全局最优解[10-11]。因此极小值原理控制算法在求解混合动力汽车能量管理优化问题方面得到了广泛应用。例如:Xie等[12]首先通过马尔科夫链模型对车速进行预测,在此基础上采用基于极小值原理优化算法对并联式插电式混合动力汽车转矩进行了分配。Kim等[13]针对功率分流式混合动力汽车,提出了基于自适应的极小值原理能量策略。Zheng等[14]针对燃料电池混合动力公交车,在构建公交车行驶工况和预估公交车车站停顿时间的基础上,提出了基于极小值原理的能量管理策略。杜光乾等[15]针对增程式城市客车,采用极小值原理求解其能量管理优化问题,并获得了近似于全局优化控制策略的优化效果。虽然极小值原理分别在并联式混合动力汽车、分流式混合动力汽车、燃料电池混合动力汽车和增程式混合动力汽车等的能量管理上进行了应用,但是在具有更多控制变量、能量管理更为复杂的插电式四驱混合动力汽车上的应用还比较少。
笔者将以前桥使用CVT的插电式四驱混合动力汽车为研究对象,在建立能量管理优化问题模型的基础上,采用极小值原理求解该能量管理优化问题,最后将其优化效果与基于CD-CS(charge depleting, 电量消耗;charge sustaining,电量保持)模式规则控制策略的优化效果进行对比。
1 动力系统结构与建模 1.1 插电式四驱混合动力系统结构插电式四驱混合动力汽车前桥采用并联式构型,后桥由后驱电机和主减速器组成,其动力系统结构示意图如图 1所示。前桥由发动机、ISG(integrated starter and generator)电机和CVT组成,发动机与ISG电机通过湿式离合器C1相连,ISG电机与CVT通过换向离合器相连;后桥由后驱电机单独驱动,动力经主减速器和差速器后传至车轮。该插电式四驱混合动力汽车的基本参数如表 1所示。
|
图 1 插电式四驱混合动力系统结构示意图 Fig. 1 Structure diagram of plug-in 4WD hybrid system |
| 表 1 插电式四驱混合动力汽车的基本参数 Table 1 Parameters of plug in 4WD hybrid electric vehicle |
动力系统模型主要应用于能量管理策略开发以及能量管理策略经济性能的评价,因此采用准静态建模技术进行模型的推导。
整车车轮处总的驱动力为
| ${F_{\rm{w}}}(t) = mg{f_{\rm{r}}}\cos (\alpha (t)) + mg\sin (\alpha (t)) + \frac{{{c_{\rm{d}}}A}}{{21.15}}v{(t)^2} + m\frac{{{\rm{d}}v(t)}}{{{\rm{d}}t}}, $ | (1) |
式中:m为整车质量;g为重力加速度;fr为滚动阻力系数;cd为风阻系数;A为迎风面积;α(t)和v(t)分别为坡度和车辆行驶速度。
整车车轮处需求转矩和需求功率为
| $\left\{ {\begin{array}{*{20}{l}} {{T_{\rm{w}}}(t) = {F_{\rm{w}}}(t) \cdot r, }\\ {{P_{\rm{w}}}(t) = {F_{\rm{w}}}(t) \cdot v(t){\rm{。}}} \end{array}} \right.$ | (2) |
式中r为车轮半径。
动力系统间的转矩和角速度关系描述为
| $\left\{ {\begin{array}{*{20}{l}} {\left( {{T_{\rm{e}}}(t) + {T_{{\rm{ISG}}}}(t)} \right) \cdot {i_{{\rm{CVT}}}} \cdot {i_{\rm{f}}} + {T_{\rm{m}}}(t) \cdot {i_{\rm{r}}} = {T_{\rm{w}}}(t), }\\ {{\omega _{\rm{e}}}(t) = {\omega _{{\rm{ISG}}}}(t) = {\omega _{\rm{w}}}(t) \cdot {i_{{\rm{CVT}}}} \cdot {i_{\rm{f}}}, }\\ {{\omega _{\rm{m}}}(t) = {\omega _{\rm{w}}}(t) \cdot {i_{{\rm{r}}}}{\rm{。}}} \end{array}} \right.$ | (3) |
式中:Te(t)、TISG(t)和Tm(t)分别为发动机、ISG电机和后驱电机的转矩;ωe(t)、ωISG(t)和ωm(t)分别为发动机、ISG电机和后驱电机的角速度;iCVT、if和ir分别为CVT、前主减速器和后主减速器的速比。
电池功率表示为
| $\left\{ {\begin{array}{*{20}{l}} {{P_{\rm{b}}}(t) = {P_{{\rm{bi}}}}(t) + {P_{{\rm{bm}}}}(t), }\\ {{P_{{\rm{bi}}}}(t) = \left\{ {\begin{array}{*{20}{l}} {{P_{{\rm{ISG}}}}(t)/{\eta _{{\rm{ISG}}}}}&{{P_{{\rm{ISG}}}}(t) \geqslant 0, }\\ {{P_{{\rm{ISG}}}}(t) \cdot {\eta _{{\rm{ISG}}}}}&{{P_{{\rm{ISG}}}}(t) < 0{\rm{。}}} \end{array}} \right.}\\ {{P_{{\rm{bm}}}}(t) = \left\{ {\begin{array}{*{20}{l}} {{P_{\rm{m}}}(t)/{\eta _{\rm{m}}}}&{{P_{\rm{m}}}(t) \geqslant 0, }\\ {{P_{\rm{m}}}(t) \cdot {\eta _{\rm{m}}}}&{{P_{\rm{m}}}(t) < 0{\rm{。}}} \end{array}} \right.} \end{array}} \right.$ | (4) |
式中:Pb(t)、Pbi(t)、Pbm(t)、PISG(t)和Pm(t)分别为电池功率、ISG电机产生的电池功率、后驱电机产生的电池功率、ISG电机输出功率和后驱电机输出功率;ηISG和ηm分别为ISG电机效率和后驱电机效率,电机效率是电机模型中重要的组成部分,其精度对整车的仿真有着重要的影响[16]。通过对ISG电机和后驱电机进行特性试验,从而分别获得ISG电机和后驱电机的电机效率实验数据,如图 2和图 3所示。
|
图 2 ISG电机效率模型 Fig. 2 Efficiency model of the ISG motor |
|
图 3 后驱电机效率模型 Fig. 3 Efficiency model of the rear drive motor |
根据发动机的性能试验获得发动机转速、转矩和瞬时油耗之间的稳态数据,然后采用数值方法对上述稳态数据进行拟合得到瞬时油耗的二维插值表,如图 4所示。
|
图 4 发动机瞬时油耗数值模型 Fig. 4 Instantaneous fuel consumption model of engine |
搭载CVT的插电式四驱混合动力系统的能量管理策略可简化为双自由度的控制问题,该问题可描述为“以电池荷电状态SOC(以下用SOC表示)为系统的状态变量,以后驱电机转矩Tm(t)和ISG电机转矩TISG(t)为系统的控制变量,以发动机的燃油消耗最小为优化目标”的优化问题。目标函数表示为
| $J = \min \left( {\int\limits_0^{{t_{\rm{f}}}} {{{\dot m}_{\rm{f}}}} \left( {{{{S}}_{{\rm{OC}}}}(t), u(t), t} \right){\rm{d}}t} \right), $ | (5) |
式中:
| $u(t) = \left[ {{T_{\rm{m}}}(t), {T_{{\rm{ISG}}}}(t)} \right]{\rm{。}}$ | (6) |
系统状态方程为
| ${{\dot S}_{{\rm{OC}}}}(t) = f\left( {{S_{{\rm{OC}}}}, u(t), t} \right) = - \frac{{I\left( {{S_{{\rm{OC}}}}, u(t)} \right)}}{{{Q_{\rm{b}}}}}, $ | (7) |
| $I\left( {{S_{{\rm{OC}}}}, u(t)} \right) = \frac{{{V_0}(t) - \sqrt {{V_0}{{(t)}^2} - 4{R_{\rm{i}}}(t){P_{\rm{b}}}(t)} }}{{2{R_{\rm{i}}}(t)}}, $ | (8) |
| ${P_{\rm{b}}}(t) = {T_{\rm{m}}}(t){n_{\rm{m}}}(t){\eta _{\rm{m}}}^{ - {\mathop{\rm sgn}} \left( {{T_{\rm{m}}}(t)} \right)} + {T_{{\rm{ISG}}}}(t){n_{{\rm{ISG}}}}(t){\eta _{{\rm{ISG}}}}^{ - {\mathop{\rm sgn}} \left( {{T_{{\rm{ISG}}}}(t)} \right)}{\rm{。}}$ | (9) |
式中:Tm(t)和TISG(t)分别为后驱电机和ISG电机输出扭矩,N·m;nm(t)和nISG(t)分别为后驱电机和ISG电机的转速,rad/s;ηm和ηISG分别为后驱电机和ISG电机效率;I(SOC, u(t))为电池电流,A;Pb(t)为电池的充放电功率,W;Qb为电池的初始电量, A·h;Ri(t)为电池内阻,Ω;V0(t)为电池的开路电压,V。
约束条件为
| $\left\{ {\begin{array}{*{20}{l}} {{T_{{\rm{m}}\min }}(t) \leqslant {T_{\rm{m}}}(t) \leqslant {T_{{\rm{m}}\max }}(t), }\\ {{T_{{\rm{ISG}}\min }}(t) \leqslant {T_{{\rm{ISG}}}}(t) \leqslant {T_{{\rm{ISG}}\max }}(t), }\\ {{T_{{\rm{e}}\min }}(t) \leqslant {T_{\rm{e}}}(t) \leqslant {T_{{\rm{e}}\max }}(t), }\\ {0 \leqslant {\omega _{\rm{m}}}(t) \leqslant {\omega _{{\rm{m}}\max }}(t), }\\ {0 \leqslant {\omega _{{\rm{ISG}}}}(t) \leqslant {\omega _{{\rm{ISG}}\max }}(t).}\\ {0 \leqslant {\omega _{\rm{e}}}(t) \leqslant {\omega _{{\rm{e}}\max }}(t), }\\ {{P_{\rm{b}}}(t) \in \left[ {{P_{{\rm{b}}\min }}(t), {P_{{\rm{b}}\max }}(t)} \right], }\\ {{S_{{\rm{OC}}\min }} \leqslant {S_{{\rm{OC}}}}(t) \leqslant {S_{{\rm{OC}}\max }}, }\\ {{S_{{\rm{OC}}}}\left( {{t_{\rm{f}}}} \right) \geqslant 0.255{\rm{。}}} \end{array}} \right.$ | (10) |
式中:Tm min(t)和Tm max(t)分别为后驱电机最小转矩和最大输出转矩;TISG min(t)和TISG max(t)分别为ISG电机的最小转矩和最大输出扭矩;Te min(t)和Te max(t)分别为发动机最小输出转矩和最大输出转矩;ωm max(t)、ωISG max(t)和ωe max(t)分别为后驱电机、ISG电机和发动机的最大角速度;Pb min和Pb max分别为电池的最大充电功率和最大放电功率;SOC min和SOC max分别为电池荷电状态的下限值和上限值。
2.2 Hamilton函数构建针对上述优化问题,采用极小值原理进行求解,构建Hamilton函数为
| $H(x, u, \lambda , t) = {\dot m_f}(t) + \lambda (t)\frac{{I(t)}}{{{Q_{\rm{b}}}}} = {\dot m_{\rm{f}}}(t) + \lambda (t) \cdot \frac{{{V_0}(t) - \sqrt {{V_0}{{(t)}^2} - 4{R_{\rm{i}}}(t){P_{\rm{b}}}(t)} }}{{2{R_i}(t){Q_{\rm{b}}}}}{\rm{。}}$ | (11) |
式中λ(t)为拉格朗日乘子。
正则方程为
| $\dot \lambda (t) = - \frac{{\partial H\left( {{S_{{\rm{OC}}}}, u, \lambda , t} \right)}}{{\partial {S_{{\rm{OC}}}}}} = - \frac{{\lambda (t)}}{{{Q_{\rm{b}}}}} \cdot \frac{{\partial (I(t))}}{{\partial {S_{{\rm{OC}}}}}}{\rm{。}}$ | (12) |
忽略电池荷电状态对电池内阻和电动势的影响,则可求解得
| $\lambda (t) = \lambda \left( {{t_0}} \right) = {\lambda _0}{\rm{。}}$ | (13) |
边界条件为
| $\left\{ {\begin{array}{*{20}{l}} {{S_{{\rm{OC}}}}\left( {{t_0}} \right) = 0.95, }\\ {{S_{{\rm{OC}}}}\left( {{t_{\rm{f}}}} \right) = 0.25{\rm{。}}} \end{array}} \right.$ | (14) |
目标函数取最小值也就是Hamilton函数取的极小值,而Hamilton函数取极小值的条件为
| $H\left[ {{x^*}(t), {\lambda ^*}(t), {u^*}(t)} \right] = {\min\limits_{u \in R}}\ H\left[ {{x^*}(t), {\lambda ^*}(t), u(t)} \right], $ | (15) |
式中R为控制变量的容许可达集。
最优控制变量为
| ${u^*} = \arg \ {\min \limits_{u \in R}}H[x(t), \lambda (t), u(t)]{\rm{。}}$ | (16) |
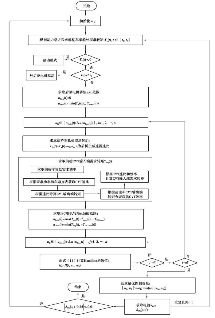
基于极小值原理控制策略采用循环迭代的方法对后驱电机和ISG电机的输出转矩进行合理寻优,以使整车油耗最小,其具体的求解流程如图 5所示。
|
图 5 控制策略求解流程 Fig. 5 Solution flow of control strategy |
首先初始化整车参数和拉格朗日因子λ0,然后通过整车动力学方程求解整车车轮处的需求转矩,如果该需求转矩小于零,则整车进入制动模式,整车会根据需求转矩大小和SOC大小,选择再生制动模式、混合制动模式或机械制动模式。如果需求转矩大于等于零,且车速小于车速v0时,整车处于起步或低速运行阶段,此时整车仅由后驱电机驱动行驶。除上述情况之外,整车采用极小值原理进行后驱电机、ISG电机和发动机的转矩分配,具体步骤为
1) 根据整车车轮处的需求转矩,求取后驱电机输出转矩u1的取值范围[u1min, u1max]。
| $\left\{ {\begin{array}{*{20}{l}} {{u_{1\min }}(t) = 0,}\\ {{u_{1\max }}(t) = \min \left( {\frac{{{T_{\rm{w}}}(t)}}{{{i_{\rm{r}}}}}, {T_{{\rm{m}}\max }}(t)} \right){\rm{。}}} \end{array}} \right.$ | (17) |
2) 以步长Δu对后驱电机输出转矩在其取值范围内进行离散。
| ${u_{1i}} \in \left[ {{u_{1\min }}(t):\Delta u:{u_{1\max }}(t)} \right], i = 1, 2, \cdots , n{\rm{。}}$ | (18) |
3) 针对每一个离散后的后驱电机输出转矩值u1i,求取前桥车轮处的需求转矩Tfw(t)。
| ${T_{{\rm{fw}}}}(t) = {T_{\rm{w}}}(t) - {u_{1{\rm{i}}}} \cdot {i_{\rm{r}}}{\rm{。}}$ | (19) |
4) 求取前桥CVT输入端处的需求转矩Treq(t)。
首先根据前桥车轮处的需求转矩求取前桥车轮处需求功率,然后通过该需求功率和车速查表获取CVT的速比值,在已知CVT速比的基础上,求取CVT输出端处的需求转矩,通过CVT输出端处的需求转矩和CVT速比查表获取CVT效率,最后通过CVT速比和效率求取CVT输入端处的需求转矩。
5) 根据CVT输入端处的需求转矩,求取ISG电机输出转矩u2的取值范围[u2min, u2max]。
| $\left\{ {\begin{array}{*{20}{c}} {{u_{2\min }}(t) = \max \left( {{T_{{\rm{req}}}}(t) - {T_{{\rm{e}}\max }}, - {T_{{\rm{ISG}}\max }}} \right), }\\ {{u_{2\max }}(t) = \min \left( {{T_{{\rm{req}}}}(t), {T_{{\rm{ISG}}\max }}(t)} \right){\rm{。}}} \end{array}} \right.$ | (20) |
6) 以步长Δu对ISG电机输出转矩在其取值范围内进行离散。
| ${u_{2j}} \in \left[ {{u_{2\min }}(t):\Delta u:{u_{2\max }}(t)} \right]{\rm{。}}$ | (21) |
7) 根据算式(7)计算每个候选控制变量(u1i, u2j)所对应的Hamilton函数值H(t, u1i, u2j),直至j和i循环结束。
8) 求取最优控制变量。
| ${\left[ {{u_1}, {u_2}} \right]^*} = {\mathop{\rm argmin}\nolimits} \left( {H\left( {t, {u_{1i}}, {u_{2j}}} \right)} \right){\rm{。}}$ | (22) |
9) 根据最优控制变量,求取状态值SOC(t, u*)。
10) 判断|SOC(tf)-0.25|≤0.01是否满足,如果满足,则循环结束;否则重新选取λ0,直至满足条件为止。
3 仿真结果分析在matlab/simulink仿真平台下建立整车系统仿真模型,SOC的初始值为0.95,循环工况选择10个重复的NEDC工况,如图 6所示。按照图 5所示流程进行求解,从而获得基于极小值原理控制策略的仿真结果,将该仿真结果与基于CD-CS模式规则控制策略的仿真结果进行对比。
|
图 6 循环工况 Fig. 6 The drive cycle |
图 7为基于CD-CS模式规则控制策略与基于极小值原理控制策略下的SOC变化曲线。由图可知,基于极小值原理控制策略的SOC随着行驶距离的增加而降低,到达行驶终点时SOC达到最小值,而基于CD-CS模式规则控制策略下SOC先下降,后保持,电量在行驶过程中没有合理使用。
|
图 7 两种控制策略下的SOC变化曲线 Fig. 7 The SOC change curve under two control strategies |
两种控制策略下的发动机工作点如图 8所示。由图可知,基于极小值原理控制策略的发动机工作点基本处于发动机的经济工作区域,而基于CD-CS模式规则控制策略的发动机工作点则大多远离发动机的经济工作区域。
|
图 8 两种控制策略下的发动机工作点 Fig. 8 The engine operating point under two control strategies |
两种控制策略下的累积油耗曲线如图 9所示,10个NEDC工况下,基于CD-CS模式规则控制策略和基于极小值原理控制策略下燃油消耗量分别为3 178.70 g和2 284.90 g,SOC的终止值分别为0.253 5和0.250 0。在进行结果比较前,需先对这两种控制策略的油耗进行SOC修正,按照SAEJ1711规定的方法,本研究通过仿真该插电式四驱混合动力汽车在CS阶段的油耗与电耗值,获得针对该插电式四驱混合动力汽车在电池SOC等于0.25附近时油耗与电耗的关系,通过对仿真结果拟合,获得油耗和电耗关系为:
| $\Delta {m_{{\rm{fel }}}} = 5.839\;7 \cdot \Delta {S_{{\rm{OC}}}}, $ | (23) |
|
图 9 两种控制策略下的累积油耗曲线 Fig. 9 The cumulative fuel consumption curve under two control strategies |
式中:Δmfel为油耗的变化值;ΔSOC为起始电池SOC变化值。
因此,根据式(23),对基于CD-CS模式规则控制策略和基于极小值原理控制策略的燃油消耗量经过SOC修正后分别为3 178.68 g和2 284.90 g。转换成百公里油耗后,分别为4.01 L和2.88 L。因此与基于CD-CS模式规则控制策略相比,基于极小值原理控制策略的百公里油耗降低了28.18%。
4 结语以提高插电式四驱混合动力汽车整车燃油经济性为目标,根据该插电式四驱混合动力系统的结构特点,设计了以后驱电机和ISG电机输出转矩为控制变量的极小值原理控制策略。
建立系统仿真模型,依据基于极小值原理控制策略求解流程对能量管理优化问题进行求解,将获得的结果与基于CD-CS模式规则控制策略的仿真结果进行对比,结果表明:提出的控制策略能够合理分配后驱电机、ISG电机和发动机转矩,与CD-CS模式规则控制策略相比,提出的控制策略使整车百公里油耗降低了28.18%。
| [1] |
Huang X D, Li X F, Zhao K G, et al. Study of combined energy supervisory control strategy on axis-split four wheel drive hybrid electric vehicle[C]//Proceedings of the 29th Chinese Control Conference, July 29-31, 2010, Beijing, China. IEEE, 2010: 4933-4938.
|
| [2] |
杨业, 张幽彤, 张彪, 等. 基于等效因子优化的插电式混合动力客车自适应能量管理策略[J]. 汽车工程, 2020, 42(3): 292-298, 306. Yang Y, Zhang Y T, Zhang B, et al. Adaptive energy management strategy for plug-in hybrid ElectricBus based on equivalent factor optimization[J]. Automotive Engineering, 2020, 42(3): 292-298, 306. (in Chinese) |
| [3] |
曾育平, 秦大同. 基于近似极小值原理的插电式混合动力汽车实时控制策略研究[J]. 汽车工程, 2017, 39(9): 1004-1010. Zeng Y P, Qin D T. A study on real-time control strategy for a plug-in hybrid electric vehicle based on approximate pontryagin's minimum principle[J]. Automotive Engineering, 2017, 39(9): 1004-1010. (in Chinese) |
| [4] |
王洋洋, 刘庆伟, 罗哲, 等. 插电式混合动力汽车等效燃油消耗最小能量管理策略研究[J]. 汽车技术, 2020(5): 8-12. Wang Y Y, Liu Q W, Luo Z, et al. Research on equivalent fuel consumption minimization strategy for a plug-in hybrid electric vehicle[J]. Automobile Technology, 2020(5): 8-12. (in Chinese) |
| [5] |
钱立军, 邱利宏, 辛付龙, 等. 插电式四驱混合动力汽车能量管理控制策略及其优化[J]. 农业工程学报, 2015, 31(13): 68-76. Qian L J, Qiu L H, Xin F L, et al. Energy management control strategy and optimization for plug-in 4WD hybrid electric vehicle[J]. Transactions of the Chinese Society of Agricultural Engineering, 2015, 31(13): 68-76. (in Chinese) DOI:10.11975/j.issn.1002-6819.2015.13.010 |
| [6] |
曾育平. 计及温度效应的插电式混合动力汽车实时优化控制策略[D]. 重庆: 重庆大学, 2015. Zeng Y P. Integrated temperature effect and real-time energy management strategy of plug-in hybrid electric vehicle[D]. Chongqing: Chongqing University, 2015. (in Chinese) |
| [7] |
王钦普, 游思雄, 李亮, 等. 插电式混合动力汽车能量管理策略研究综述[J]. 机械工程学报, 2017, 53(16): 1-19. Wang Q P, You S X, Li L, et al. Survey on energy management strategy for plug-in hybrid electric vehicles[J]. Journal of Mechanical Engineering, 2017, 53(16): 1-19. (in Chinese) |
| [8] |
Zeng Y P, Cai Y, Chu C B, et al. Integrated energy and catalyst thermal management for plug-in hybrid electric vehicles[J]. Energies, 2018, 11(7): 1761. DOI:10.3390/en11071761 |
| [9] |
Moura S J, Fathy H K, Callaway D S, et al. A stochastic optimal control approach for power management in plug-in hybrid electric vehicles[J]. IEEE Transactions on Control Systems Technology, 2011, 19(3): 545-555. DOI:10.1109/TCST.2010.2043736 |
| [10] |
Tulpule P, Marano V, Rizzoni G. Energy management for plug-in hybrid electric vehicles using equivalent consumption minimisation strategy[J]. International Journal of Electric and Hybrid Vehicles, 2010, 2(4): 329. DOI:10.1504/IJEHV.2010.034985 |
| [11] |
Onori S, Tribioli L. Adaptive Pontryagin's Minimum Principle supervisory controller design for the plug-in hybrid GM Chevrolet Volt[J]. Applied Energy, 2015, 147: 224-234. DOI:10.1016/j.apenergy.2015.01.021 |
| [12] |
Xie S B, Li H L, Xin Z K, et al. A Pontryagin minimum principle-based adaptive equivalent consumption minimum strategy for a plug-in hybrid electric bus on a fixed route[J]. Energies, 2017, 10(9): 1379. DOI:10.3390/en10091379 |
| [13] |
Kim N, Jeong J, Zheng C H. Adaptive energy management strategy for plug-in hybrid electric vehicles with pontryagin's minimum principle based on daily driving patterns[J]. International Journal of Precision Engineering and Manufacturing-Green Technology, 2019, 6(3): 539-548. DOI:10.1007/s40684-019-00046-z |
| [14] |
Zheng C H, Cha S W. Real-time application of Pontryagin's Minimum Principle to fuel cell hybrid buses based on driving characteristics of buses[J]. International Journal of Precision Engineering and Manufacturing-Green Technology, 2017, 4(2): 199-209. DOI:10.1007/s40684-017-0025-y |
| [15] |
杜光乾, 谢海明, 卢紫旺, 等. 基于极小值原理的增程式客车能量管理问题规律分析[J]. 重庆理工大学学报(自然科学), 2018, 32(3): 10-17. Du G Q, Xie H M, Lu Z W, et al. Analysis for the energy management problem of extended-range electric city buses based on pontryagin's minimum principle[J]. Journal of Chongqing University of Technology (Natural Science), 2018, 32(3): 10-17. (in Chinese) |
| [16] |
林歆悠, 孙冬野, 邓涛. 基于极小值原理的混联混合动力客车能量管理策略优化[J]. 汽车工程, 2012, 34(10): 865-870. Lin X Y, Sun D Y, Deng T. Energy management strategy optimization for a series-parallel hybrid electric bus based on pontryagin's minimum principle[J]. Automotive Engineering, 2012, 34(10): 865-870. (in Chinese) DOI:10.3969/j.issn.1000-680X.2012.10.001 |
2022, Vol. 45


