多高层框架结构中,对水平荷载的分析计算,通常采用反弯点法或D值法(改进的反弯点法),反弯点法的适用条件是梁柱的线刚度之比ib/ic≥3[1-2];抗震设计中有三个原则,其中之一就是强柱弱梁[3]。这两个问题的计算分析似乎存在着矛盾,让很多人模糊不解,造成设计概念的混淆。本文为此作一探讨,旨在抛砖引玉,澄清概念。
一、 梁柱线刚度比ib/ic≥3框架在水平荷载作用下,节点将同时产生转角θ和侧移δ(图 1)。根据分析,梁柱线刚度比ib/ic≥3时,节点的转角θ很小,它对框架的内力影响不大。为了简化计算,通常忽略不计,即假定θ=0[1]。实际上,这就等于把框架横梁简化成了线刚度无穷大的刚性梁,使得同一层的各节点水平位移相等[4]。这样简化的误差一般不超过5%。梁柱线刚度比ib/ic≥3是反弯点法应用的基本条件[5-6]。
|
图 1 水平荷载作用下框架变形 |
反弯点是指弯矩为零的点(图 2)。当梁的线刚度为无限大时,柱两端完全无转角,反弯点在柱中点。当梁柱线刚度之比超过3(即ib/ic≥3)时,柱端的转角很小,反弯点接近中点,可假定就在中点。对于底层柱,由于底端固定而上端有转角,反弯点向上移,通常假定反弯点在距底端2h/3高度处[7-8]。
|
图 2 反弯点 |
框架结构所受水平荷载主要是风荷载和地震作用。一般先要把作用在每个楼层上的水平荷载根据柱子的刚度分配到各榀框架,再根据反弯点的位置进行平面框架的内力分析,得出框架内力(图 3)。
|
图 3 反弯点法 |
对层数不多的框架,柱刚度比较小,梁刚度较大。如果满足ib/ic≥3的条件,可采用反弯点法计算水平荷载下内力;但在高层建筑中,底部柱子截面—般较大,多数情况下不能满足ib/ic≥3条件,用反弯点法计算的内力误差较大。日本武藤清教授提出了用修正柱的抗侧移刚度和调整反弯点高度的方法,修正后的柱侧移刚度用D表示,故称为D值法。该方法的计算步骤与反弯点法相同,因而计算简便、实用,精度比反弯点法高。D值法在本质概念上仍是反弯点法。D值法在规则框架中使用效果较好[9-10]。
二、 强柱弱梁目前工程设计概念认为,强地震作用下要求结构处于弹性状态是没有必要的,也不经济。通常做法是在中等烈度的地震作用下允许结构某些杆件屈服,出现塑性铰,使结构刚度降低,塑件变形加大。当塑性铰达到一定数量时,结构会出现“屈服”现象,即能承受的地震作用不再增加或增加很少,而结构变形迅速增加。如果结构能维持承载能力而又具有较大的塑性变形能力,就称为延性结构,它的性能可以用图 4所示荷载—位移曲线描述[2][10]。在地震区所有工程都应当设计成延性结构。大量震害调查和试验证明,经过合理设计,钢结构和钢筋混凝土框架都可以达到较大的延性。
|
图 4 延性结构的荷载—位移曲线 |
要设计延性框架结构,必须合理设计各个构件,控制塑性铰出现错位,防止构件过早剪坏,使构件具有一定延性。同时也要合理设计节点区及各部分连接和锚固,防止节点连接的脆性破坏。在抗震措施上,强柱弱梁是高层建筑框架设计的重要原则之一[2-3]。
(一) 强柱弱梁框架的设计原则在强震时,结构会进入弹塑性阶段,可能会在梁和柱的某些部位出现塑性铰。在框架结构中,塑性铰可能出现在梁上,也可能出现在柱上。一般来说,塑性铰出现在梁上较为有利,如图 5。在梁端出现的塑性铰数量可以很多而结构不至于形成机动体系,每一个塑性铰都能吸收和耗散一部分地震能量。此外,梁是受弯构件,而受弯构件处理得当能够具有较好的延性。如果塑性铰出现在柱中,很容易形成机动体系。
|
图 5 框架塑性铰出现状况 |
抗震设计时,控制节点附近梁端和柱端的承载力设计值,使柱的受弯承载力高于梁的受弯承载力,这样就可以控制柱的破坏不至于发生在梁破坏之前,破坏时形成延性较好的梁铰型机构,这就是强柱弱梁的设计原则。强柱弱梁也就是控制塑性铰的位置[2]。
(二) 弯矩调幅要实现“强柱弱梁”一般是对梁端进行弯矩调幅。当梁端负弯矩求得后,可以考虑梁端由于塑性变形而产生的内力重分布,将梁端弯矩予以降低,同时相应加大梁的跨中弯矩,采用调幅系数β,将调幅后的梁端弯矩叠加相应简支梁弯矩M0即可得到梁的跨中弯矩,如图 6所示[4][11]。梁端弯矩调幅后,不仅可以减少梁端配筋数量,达到方便施工的目的,而且还可以提高柱的安全储备,以满足“强柱弱梁”的设计原则[3]。
|
图 6 框架梁在竖荷载在作用下的弯矩调幅 |
从表观分析来看,反弯点法的应用条件ib/ic≥3与强柱弱梁虽然是强调的两个问题,但在概念上存在着矛盾。尤其是弯矩调幅后两端弯矩设计值减小,不仅减少了梁端截面的强度,也可能减少梁的刚度。深层次分析表明:这两者并不矛盾,而是“貌离神合”。这主要是由梁、柱的受力特点决定的[1][11]。
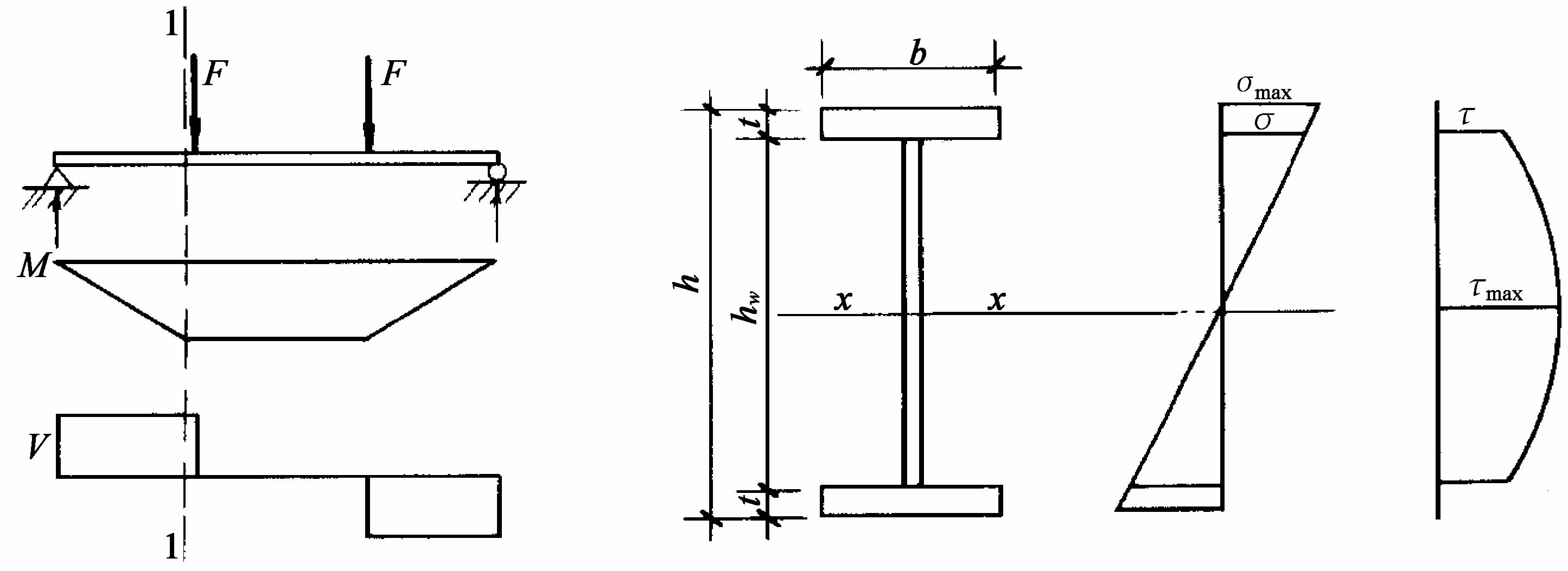
(一) 梁、柱的受力特点与ib/ic≥3梁是最基本、不可或缺的结构形式或构件,主要承受垂直于轴线的荷载,以受弯为主,受剪次之[9][12]。梁所承受荷载效应一般是不均匀的,无论是弯矩M,还是剪力V;即便是在同一截面上,其应力分布也不均匀,如图 7。因此,梁的承载能力往往要按照“木桶效应”决定于最短的那块木板了。一般地,为了制作加工和运输安装的方便,梁通常设计成等截面的,因而材料强度得不到充分发挥,截面尺寸往往很大[13]。柱是以受压为主的构件,虽有偏心作用,但截面上应力分布于梁相比,是相当均匀的,如图 8。所以柱材料的强度发挥比较充分,从这点意义上说,柱截面一般可以设计得比较小[11]。
|
图 7 梁的荷载效应 |
|
图 8 柱的荷载效应 |
构件截面刚度取决于截面尺寸及分布,通常条件下,梁的线刚度比柱大得多,要满足ib/ic≥3还是比较容易的。钢结构缀板式格构式的计算模型就是框架,甚至规定缀板线刚度与柱肢线刚度之比应大于6[12][14]。退一步讲,即便是高层框架中底部柱子截面比较大,不能满足ib/ic≥3,可将反弯点法改进形成D值法。
(二) 梁、柱的受力特点与塑性铰强柱弱梁的设计原则使我们义无反顾地选择梁铰机制。其实在深层次意义上,梁铰机制对于结构抗震还有三大好处:一是塑性铰的数量柱子只允许出现一个塑性铰;梁可允许在两端和跨中依次出现3个塑性铰,此时梁为瞬变体系,稍有位移仍可为结构[2]。二是塑性铰的耗能能力 ,梁截面应力分布不均匀,材料强度发挥不充分,在塑性铰形成过程中,耗散地震能量能力大;三是塑性铰的耗能潜力塑性铰其实是一个区域,梁的荷载效应分布不均匀,即便在某个截面形成了塑性铰,但该截面附近仍然存在弹性区,在塑性铰的发展过程中,耗散地震能量潜力大[4]。
(三) 弯矩调幅所应注意的问题在钢筋混凝土框架设计中,弯矩调幅系数一般对现浇框架取0.8~0.9、对装配式框架取0.7~0.8[1]。钢结构框架通常采用节点构造来实现[9]。弯矩调幅时,应该强调三点:(1)只有竖向荷载作用下的梁端弯矩可以调幅,水平荷载作用下的梁端弯矩是不允许调幅的。(2)必须先将竖向荷载作用下产生的梁端弯矩调幅后,再与水平荷载产生的梁端弯矩进行组合。(3)弯矩调幅一般只是针对钢筋混凝土结构,钢结构中的强柱弱梁是通过其他的构造措施来实现的[12][15]。
四、 结语综上所述,在框架结构的教学和工程设计中,必须首先从受力机理出发,澄清结构概念,才能够正确分析框架结构各种受力工况下的内力状态,将结构推向深入、细化[16];同时贯穿“设计应使施工方便”这一工程设计理念,保证结构的安全和施工的便宜[13][17]。
| [1] | 同济大学《多层及高层房屋结构设计》编写组编. 多层及高层房屋结构设计[M]. 上海: 上海科学技术出版社, 1982 . |
| [2] | 包世华, 方鄂华. 高层建筑结构设计[M]. 北京: 清华大学出版社, 1985 . |
| [3] | 中华人民共和国住房和城乡建设部.建筑抗震设计规范GB50011-2010[S].中国建筑工业出版社.2010. |
| [4] | 赵西安. 高层建筑结构使用设计方法[M]. 2版.上海: 同济大学出版社, 1992 . |
| [5] | 彭伟. 高层建筑结构设计原理[M]. 成都: 西南交通大学出版社, 2004 . |
| [6] | 宋天齐. 多高层建筑结构设计[M]. 2 版.重庆: 重庆大学出版社, 2003 . |
| [7] | 吕西林. 高层建筑结构[M]. 2版.武汉: 武汉理工大学出版社, 2003 . |
| [8] | 霍达. 高层建筑结构设计[M]. 高等教育出版社, 2004 . |
| [9] | 赵风华, 高福聚. 建筑钢结构设计[M]. 高等教育出版社, 2006 . |
| [10] | 高福聚. 多层与高层建筑结构设计[M]. 中国石油大学出版社, . |
| [11] | 高福聚, 徐玉平, 刘锡良. 浅议结构形式的历史发展及其衍生关系[J]. 工业建筑 , 2010 . |
| [12] | 周学军, 高福聚, 等. 钢结构设计规范50017-2003应用指导[M]. 山东: 山东科学技术出版社, 2004 . |
| [13] | 高福聚. 钢结构实践教学指南[M]. 中国石油大学出版社, 2014 . |
| [14] | 中华人民共和国建设部.钢结构设计规范GB50017-2003[S].北京:中国计划出版社.2003. |
| [15] | 中华人民共和国建设部、冶金工业部.钢结构设计规范GB17-88[S].北京:中国计划出版社.1989. |
| [16] | 高福聚. 钢结构原理与设计[M]. 中国石油大学校内编印教材, 2011 . |
| [17] | 高福聚, 申成军. 钢结构工程施工[M]. 北京: 北京理工大学出版社, 2015 . |
2015, Vol. 24

