2025, 47(5):1-11. DOI: 10.11835/j.issn.2096-6717.2024.124
摘要:随着参数化设计的兴起,建筑构件的复杂性不断增加,传统的建造方法难以满足需求,在此背景下,建筑机器人成为重要的生产工具。由于单个机器人的臂展通常不超过3 m,无法胜任大尺度建筑构件的生产任务,因此,常通过外部轴来扩展机器人的工作范围。然而外部轴与机器人的耦合控制及其运动学解算成了关键挑战,主要技术难点包括:定制化建筑机器人、自动求解外部轴、固定轴关节以及特定的运动模式控制。提出针对这些难点的解决方案,详细介绍相关的基本概念和算法,并将这些机器人学原理与算法流程封装到建筑师常用的Grasshopper插件中,形成FURobot软件平台。该平台不仅有效解决了上述问题,还降低了建筑师的使用门槛,提升了生产效率。最后,通过仿真试验验证了算法和软件的有效性。
2025, 47(5):12-22. DOI: 10.11835/j.issn.2096-6717.2024.058
摘要:尺寸质量检测是成品房屋交付前的必要步骤,但传统人工检测方法耗时费力。随着利用陆地激光扫描仪进行自动化尺寸质量检测得到更多关注,室内多视角点云自动化配准变得更加重要。在室内布置标靶的效率偏低,且成品房屋室内有大量重复结构,不适合仅依赖自然几何基元或俯视图进行无标靶配准,提出一种基于深度学习的室内多视角点云自动化配准方法:利用PointAF神经网络对扫描点云数据进行语义分割,再进行实例分割,得到不同结构的点云实例;利用门实例进行两两配准,计算变换参数,通过基于重叠置信度和冲突约束的评价函数去除错误匹配,并使用基于生成树的顺序配准方法完成多视角配准。在验证和对比实验中,利用2套成品房屋共21站扫描点云数据,验证了所提方法的有效性和精度。
2025, 47(5):23-37. DOI: 10.11835/j.issn.2096-6717.2024.121
摘要:建筑业高度依赖人工操作,是典型的劳动密集型产业,但建筑业正面临着日益严重的安全管理压力和劳动力短缺问题。建筑机器人的使用能有效缓解这些问题,避免从业人员直接参与危险繁重的施工作业,提高施工现场的自动化与管理水平。然而,现阶段建筑机器人的自主化水平有限,自动化的建造方式难以覆盖建筑业生产活动的每一种工艺,这决定了未来的智能建造将长期高度依赖人机协作的生产模式。梳理建筑机器人技术基础和研究前沿,回顾新一代智能建筑机器人发展历程,结合施工场景特点,总结出4类典型人机协作模式:操作员控制模式强调人工主导的实时交互、指挥员执行模式通过远程指令实现高风险任务自动化、协作员互助模式结合机器高效性与人工灵活性、人体增强模式通过外骨骼机器人提升工人作业能力。指出当前建筑机器人仍面临环境适应性不足、通信稳定性差、跨平台协同困难等挑战,并对未来应重点关注的研究方向提出建议。
2025, 47(5):38-43. DOI: 10.11835/j.issn.2096-6717.2025.003
摘要:针对钢-混凝土结构界面脱空自动化检测难题,设计了一种融合图像和声纹特征识别的爬壁机器人。首先介绍该爬壁机器人的底盘、磁吸装置、电源系统、驱动系统、图传和声纹等模块。其次,对硬件控制系统进行重点说明,通过受力分析和试验测试,确定了钕铁硼永磁体提供吸附力的方案。最后,详细阐述了图像和声纹特征识别软件部分的构成与功能,其中,图像采集部分采用基于香橙派平台的图像传输解决方案,声纹识别模块由前端、中端和后端3层架构构成:前端搭载叩击和录音设备,用于激发和采集声纹;开发了声纹识别微信小程序中端,实现声纹噪声去除和有效特征提取;后端通过腾讯云和微信小程序配合,识别声纹数据并将结果返回给微信小程序。设计的融合图像和声纹特征识别的磁吸爬壁机器人能实现图像和声纹的协同采集与分析,为钢-混凝土结构界面脱空自动化检测提供有效的解决方案。
2025, 47(5):44-55. DOI: 10.11835/j.issn.2096-6717.2024.095
摘要:针对建筑设施人工巡检方式效率低下、成本高昂、存在安全隐患等问题,提出一种基于软件机器人(robotic process automation,RPA)技术的建筑设施虚拟巡检系统方案。首先,基于BIM数据构建动态的数字孪生建筑模型更新算法,与现场设施运行状态形成实时虚实映射关系;然后,设计多模态深度学习设备缺陷检测网络,对设备缺陷实现自动高精度检测;最后,基于软件机器人技术架构实现异构系统间的无缝集成和智能调度算法的运用。在实验场景中初步验证了该一体化软件机器人巡检系统的性能,结果表明:基于软件机器人技术架构的虚拟巡检机器人系统对设施缺陷检测的精度达到97%以上,优于单模态检测方法;与传统方式相比,其作业效率提高了62.3%以上,运维人力需求则降低至60%~80%,具有一定的工程应用价值。
2025, 47(5):56-66. DOI: 10.11835/j.issn.2096-6717.2025.019
摘要:二次电缆敷设是变电工程二次安装施工过程中的重要环节。目前二次电缆敷设依然以人工施工为主,缺乏有效的机械化施工手段,存在工作量大、工艺流程复杂、效率低、人力需求量大和成本高等问题。以牵缆机器人在二次电缆敷设中的应用为背景,针对四轮牵缆机器人在电缆敷设中的定位问题,提出利用相机观测固定于电缆沟墙面的ArUco码来矫正惯性导航位姿的定位方案,以解决基于视觉和激光传感器建图定位、实时差分定位等定位方式不能实现牵缆机器人在电缆沟环境中较高精度定位的问题。该方法在四轮牵缆机器人运动过程中识别预先布置在电缆沟墙面上的ArUco码,并根据其在相机平面中的位姿筛选特定帧,通过识别ArUco码计算位姿信息来修正惯性导航位姿,实现对四轮牵缆机器人的位姿修正。结果表明,该方法能实现四轮牵缆机器人在电缆沟中的实时准确定位,提升变电站二次电缆敷设施工过程中的智能化程度,提高变电站施工效率和质量。
2025, 47(5):67-76. DOI: 10.11835/j.issn.2096-6717.2024.063
摘要:随着城市轨道交通的不断发展,盾构隧道的建设需求和数量不断增加。盾构隧道壁后注浆是控制地层扰动和管片错台等工程问题的关键技术,对保障盾构施工和地表建筑安全都十分重要。为实现壁后注浆检测的自动化和智能化,针对传统探地雷达(ground penetrating radar,GPR)人工检测效率低的缺点,提出可实现壁后注浆质量GPR自动化快速检测的车架随行式机构,并详细说明了机构的硬件组成、工作模式和主要参数。针对不同工况开展的系列模型试验获得了超60万条高质量带标签的A扫描数据,基于A扫描和B扫描两种试验数据类型和训练策略得到具有优异性能的壁后注浆厚度智能识别模型。提出基于“云-边-端”架构的壁后注浆智能化检测方法,并开发了基于部分“云-边-端”架构的GPR-AI Master平台,实现对人工智能模型的云上部署和快速应用。提出基于车架随行式检测机构和智能分析结果的动态反馈机制,实现对隧道掘进的全过程守护。根据16个不同盾构隧道工程的应用结果,验证了智能检测方法的效果。
2025, 47(5):77-85. DOI: 10.11835/j.issn.2096-6717.2024.074
摘要:围岩结构面是影响全断面岩石隧道掘进机(TBM)的掘进效率与安全性的关键地质因素之一,探索快速、准确、环境适应性强的TBM隧道围岩结构面识别方法具有重要意义。提出一种基于多目视觉摄像与图像识别技术的围岩结构面识别方法。采用双目相机,通过固定机位拍摄大面积裸露围岩的彩色与深度图像,根据双目相机位置与拍摄角度等参数,修正深度图像,以克服图像畸变问题;采用精细边界刻画(CED)方法对围岩结构面精细识别。该方法在传统卷积神经网络基础上增设了图像数据的正向传播与反向细化双路径,在反向细化路径中不断强化对图像局部边界的捕捉,捕捉图像中结构面与常规围岩像素的差异,进而刻画围岩结构面边界。依托青岛地铁6号线TBM施工隧道,采集427组现场围岩的彩色与深度图像,通过对比模型识别以及结构面的实际形态,进一步验证方法的准确性。
2025, 47(5):86-96. DOI: 10.11835/j.issn.2096-6717.2023.148
摘要:针对修建在高原恶劣环境下的隧道洞门墙病害频发及传统人工病害检测方法效率低下、危险性高等问题,提出基于无人机图像与深度学习的高原区隧道洞门墙病害检测方法。首先使用无人机航拍采集新疆某高原地区隧道洞门墙病害图像,建立多病害语义分割数据集;随后以语义分割模型DeeplabV3+为基础,提出以MobileNetV2作为主干特征提取网络的改进模型TP-DeeplabV3+,以减少模型参数;采用Focal Loss作为损失函数,以解决病害图像中的类别不平衡问题;添加CA注意力机制,以提升模型分割性能;最后提出病害量化方法。结果表明,TP-DeeplabV3+在测试集上可以达到88.37%和94.93%的mIoU和mPA,模型体量压缩了88.83%;提出的病害量化方法对于病害覆盖率的绝对误差不超过0.3%,相对误差维持在7.31%以下。相比传统方法,该方法安全、准确地实现了高原恶劣环境下的隧道洞门墙智能化检测。
2025, 47(5):97-109. DOI: 10.11835/j.issn.2096-6717.2024.086
摘要:为了应对当前建筑外墙饰面砖频繁脱落造成的公共安全隐患,通过归纳总结饰面砖缺陷的形成机理发现,空鼓缺陷为外墙饰面砖脱落的前奏。基于无人机搭载红外热成像相机,通过开展空鼓缺陷检测室内试验,研究无人机的最佳观测姿态,揭示无人机旋翼工作对外墙温度的影响规律,探讨空鼓缺陷特征参数对识别效果的影响,提出一种用于外墙饰面砖空鼓识别的温差阈值。结果表明:当无人机距外墙的距离为2~3 m、立面观测角度为-30°~30°、平面观测角度为-15°~15°时,观测效果最佳;无人机旋翼会使外墙降温增速10%;空鼓尺寸越大、埋深越浅、厚度越大,识别效果越好;黑色和红色饰面砖内的空鼓缺陷温度偏高,淡黄色饰面砖内的空鼓缺陷温度偏低。在此基础上开展室外试验,通过与可见光图像识别方法进行对比,验证了所提出检测阈值的有效性,为建筑饰面砖空鼓缺陷的识别提供了新途径。
2025, 47(5):110-117. DOI: 10.11835/j.issn.2096-6717.2025.001
摘要:3D打印混凝土具有灵活、低碳、快速、无模板施工的优势,但界面黏结问题可能导致打印层结合不紧密,影响强度。交叠打印路径可减少该缺陷并增强层间黏结,提高抗压强度。对于钢纤维增强水泥基材料,钢纤维的分布方向易受打印路径的影响,交叠路径下的3D打印钢纤维增强水泥基材料的抗压强度研究尚不充分。采用平行路径和螺旋交叠路径两种3D打印方式,通过改变荷载与路径方向的夹角和螺旋交叠角制作钢纤维增强水泥基立方体试块,探究上述参数对其抗压强度的影响规律。结果表明:在X-Y平面内,平行路径抗压强度随荷载方向与路径方向夹角的变化先增后降,但均小于现浇试件;在X-Y平面内,当纤维的分布方向与加载方向平行时,抗压强度最大(X方向),当纤维的分布方向与加载方向垂直时,抗压强度最小(Y方向);30°、90°螺旋交叠路径在X、Y、Z方向的抗压强度明显高于平行路径;相比平行打印,螺旋交叠结构减小了力学各向异性;螺旋交叠的打印方式可作为提升构件抗压强度的有效措施。
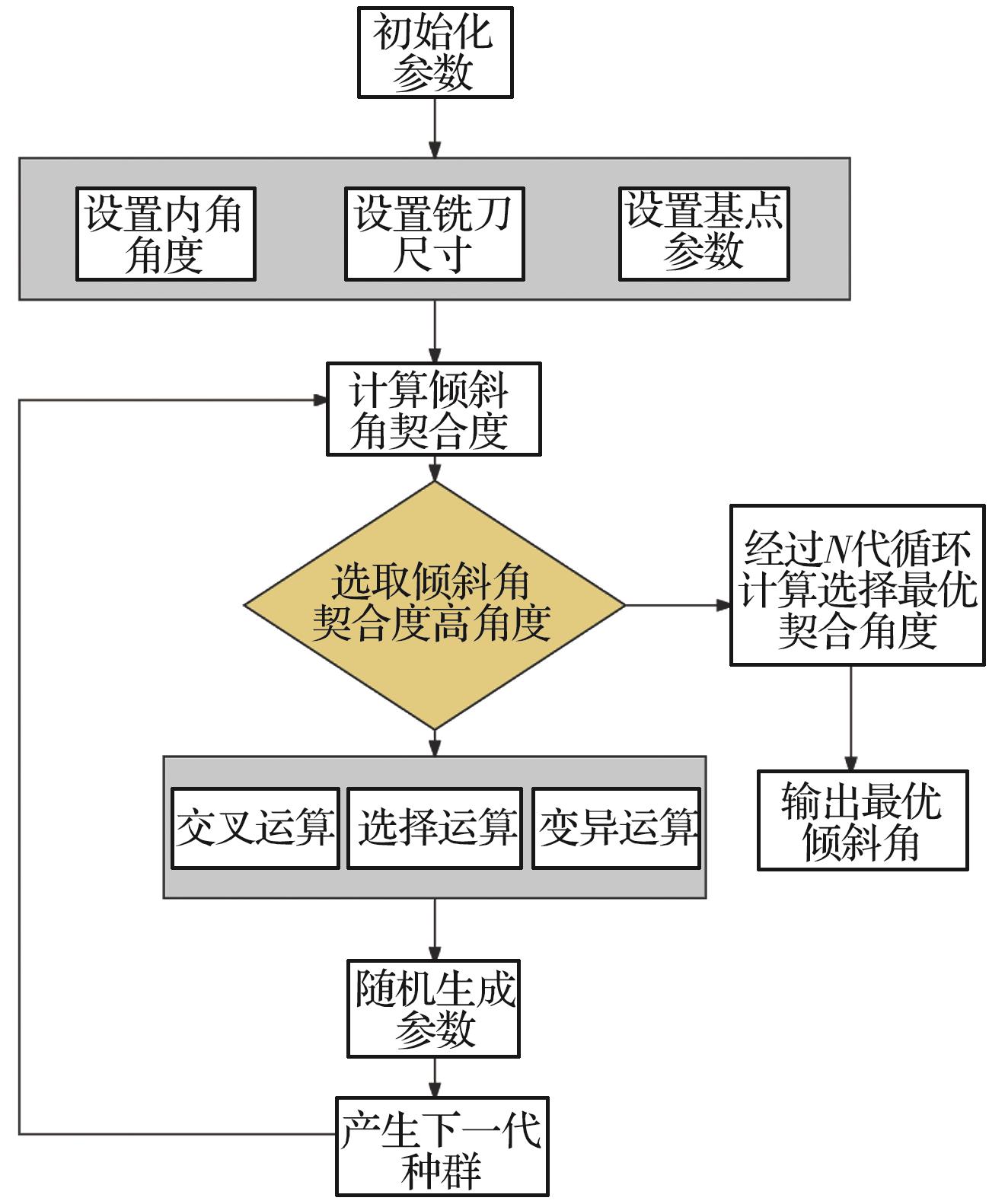
2025, 47(5):118-124. DOI: 10.11835/j.issn.2096-6717.2024.084
摘要:对于智能建造中的机械臂木结构建造,榫卯木构铣削过程中产生的内角残留问题严重影响木构加工精度。针对这一问题,提出一种基于遗传算法的内角残留去除精加工技术,并开发高度集成化的木构加工装置。借助可视化编程技术对工具适配进行标准程序开发,将已有木构加工技术与机械臂运动系统相结合,构建木构协同加工系统。最后选取木结构中的卯结构进行建造实验。结果表明:基于遗传算法的内角残留去除技术能精准切除残留内角,有效解决铣削技术圆弧形内角残留问题,提出的木构协同加工系统能高效、高精度地完成建造任务。通过实际建造验证了数字建造技术的可行性及适用性。
2025, 47(5):125-134. DOI: 10.11835/j.issn.2096-6717.2023.102
摘要:为了揭示三轴压缩下砂岩的细观破裂规律,以砂岩室内三轴压缩试验为基础,结合非均质晶质模型(grain-based model, GBM)和矩张量理论模拟砂岩内部裂纹衍生、声发射事件及破裂强度发展特征,推导砂岩内微裂纹衍生过程、声发射响应特征规律,从细观尺度上综合分析裂纹以及声发射事件的时空演化过程。结果表明:在三轴压缩下,砂岩起裂阶段微裂纹在试样内部随机分布,位移场呈水平层状分布;随着载荷的增加,微裂纹增多,并逐渐贯通成两条宏观裂纹,位移场偏移且非均质性明显;裂纹在孕育期发展缓慢,当达到发展期时,裂纹以极高的非线性速率增长,其发展顺序为晶间拉伸裂纹、晶间剪切裂纹、晶内拉伸裂纹、晶内剪切裂纹;试样内部拉伸裂纹占比达83.2%,以拉伸破坏为主;试样声发射事件数与裂纹条数呈负指数关系,单次声发射事件产生一条微裂纹次数占比为75.60%,声发射事件数、微裂纹数与破裂强度近似呈正态分布。
2025, 47(5):135-144. DOI: 10.11835/j.issn.2096-6717.2023.088
摘要:岩石的裂隙孔洞等缺陷极易引发其局部破坏,对施工安全与运营维护产生不利影响。利用岩石力学测试系统对不同岩桥长度的双圆孔洞凝灰岩进行单轴压缩试验,配合声发射(acoustic emission,简称AE)监测系统对试验全过程进行声发射监测,进行岩石变形破坏过程的声发射特征研究。基于声发射能量、振铃计数、上升时间与幅值的比值(RA)/振铃计数与持续时间的比值(AF)、b值等特征参数,分析不同岩桥长度对岩石破坏的影响,并对其损伤演化特征的前兆信息进行探索。结果表明:声发射参数随时间呈阶段性变化,岩石失稳破坏前有明显异常响应特征;随着岩桥长度的增加,AE能量由群震型向孤震型转变,AE振铃计数经历了平静期、活跃期和突增区,AE RA/AF值对局部细小裂纹扩展较敏感,AE b值随时间经历了上升期、波动期及下降期,总体呈减小趋势;声发射各参数均存在岩石破坏前兆,将AE累计能量、AE累计振铃计数、AE累计RA/AF值的突增点和AE b值的最低点作为“临界破坏前兆点”D,预警时效序列为:AE累计RA/AF值>AE累计振铃计数>AE累计能量>AE b值。
2025, 47(5):145-154. DOI: 10.11835/j.issn.2096-6717.2024.054
摘要:重力坝服役期间,渗流会对大坝稳定及应力产生不利影响,研究重力坝在渗流作用下的可靠度具有重要意义。将响应面法与随机有限元法结合,提出考虑渗流作用的重力坝稳定与应力高效可靠度分析方法。依托某水电站工程,通过敏感性分析,确定影响重力坝抗滑稳定与应力的关键不确定性参数;基于响应面法构建渗流作用下重力坝抗滑稳定安全系数的功能函数,计算多破坏模式的失效概率并与不考虑渗流作用的结果进行对比分析;采用概率失效分析方法定量分析关键不确定性参数对重力坝失效概率的影响。结果表明:考虑渗流作用计算得到的失效概率较高,忽略渗流作用会导致低估重力坝失效概率;比较3种失效模式,坝踵拉裂与沿坝基面滑动失稳最容易发生,其次是坝趾压坏。
2025, 47(5):155-166. DOI: 10.11835/j.issn.2096-6717.2025.006
摘要:复合地层盾构掘进过程中,盾构机常会由于空间姿态偏移而与管片发生复杂相互作用,使得管片各部位发生多维变形响应,管片上浮位移和错台超限。为探明施工过程中管片结构响应及其衍生机制,建立多源荷载耦合作用三维数值计算模型,计算分析管片空间变形分布及其过程演化特性,通过现场三维激光雷达测试揭示管片变形演化模式,并对数值计算结果进行校验。结果表明,施工过程中管片“斜鸭蛋”状长轴变形增量的64%发生在完全脱出盾尾前,管片各部位纵向旋转角均值增量的50%发生在管片完全脱出盾尾后,而环向旋转角增量的44%发生在逐渐脱出盾尾阶段。管片环向位移持续发展主要由盾壳环向旋转引起,在管片完全脱出盾尾后,其径向位移发展及形状改变主要受其自身环向位移改变的影响,其纵向位移的进一步发展主要受盾壳纵向偏转的影响。三维激光雷达点云测量能精确地定量评估施工过程中管片长轴和短轴变形及长轴夹角的变化。
冯太彬,刘珂源,雷啸天,蒋思维,陈卉丽,张兵峰,麻润杰,陶志刚
2025, 47(5):167-176. DOI: 10.11835/j.issn.2096-6717.2023.074
摘要:在多年风化作用和自重应力的影响下,大足石刻北山168窟的石窟壁和顶板位置出现了大量裂缝,导致洞窟顶部围岩的稳定性变差,面临失稳坍塌的风险,为了对平顶石窟顶板破碎围岩进行有效加固,针对现场地质情况,采用悬吊锚杆加固方式。首先通过现场调查确定顶板裂缝的分布规律,分析石窟顶板开裂的主要原因;然后利用新奥法思想,在考虑最不利围岩受力的情况下计算锚杆的锚固长度;最后利用数值模拟手段,分析悬吊锚杆加固方法在降雨条件下石窟顶板的位移变化及应力情况。结果表明:在悬吊锚杆加固下,其顶板各个方向位移均不超过1 mm;石窟洞口位置及靠近洞内位置的应力较为集中,最大拉应力小于砂岩的抗拉强度值,顶板围岩处于稳定状态;悬吊锚杆加固中锚固段承受拉应力,平均所受轴力为31 kN,受力情况较好。从加固前后的监测曲线可以看出,悬吊锚杆加固方式减少了裂缝的波动值,可以认为在悬吊锚杆加固下石窟保持稳定状态。
2025, 47(5):177-185. DOI: 10.11835/j.issn.2096-6717.2023.089
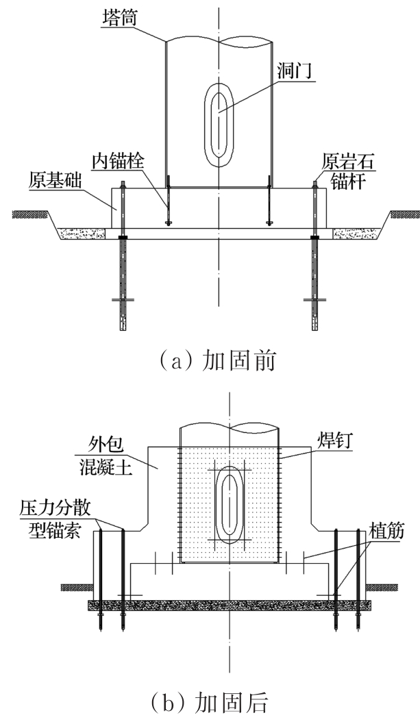
摘要:针对风机运行期间所受荷载的复杂性,依托威海某风电机组基础加固项目,提出一种系统监测方法,结合现场环境,评估加固基础的性能提升效果。从施工阶段到运行阶段,采集加固基础的塔筒应变、焊钉应变及锚索轴力等数据,研究风机加固基础在不同工况下的受力响应,并开展相关性分析,探讨基础加固后的性能提升效果及荷载传递机理。结果表明:加固区中各构件受力响应具有趋势相似性与幅值差异性,受力改善效果明显且均具有较大的安全度;该加固方法利用外包混凝土和焊接焊钉改变了结构受力边界,增加了底层塔筒的约束刚度,使上部传递荷载重新分配,实现剪力的分担与传递,保证塔筒与混凝土共同变形。基于此加固方案提出的系统监测评估方法可以有效、及时地掌握加固系统各构件的受力状态,保证后续风电机组运行安全。该加固方案改善了基础、岩石锚杆及法兰的受力状态,基础整体受力性能得到保证。
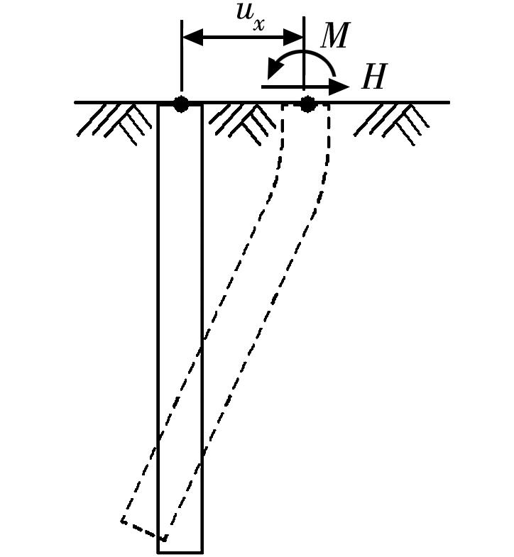
2025, 47(5):186-198. DOI: 10.11835/j.issn.2096-6717.2024.072
摘要:大直径嵌桩式重力锚利用嵌固桩的侧向承载作用来增加抗滑力,能减小重力锚体积,降低基坑开挖量和对原状地基的扰动,提高锚碇抵抗地质灾害的能力。然而,锚碇基底摩擦力和嵌固桩侧向承载力的联合抗滑机制尚不清楚,且缺乏可供设计使用的实用方法。针对中风化石英砂岩地基上的大直径嵌桩式重力锚碇,运用三维实体弹塑性数值分析手段,采用岩石力学中考虑高孔隙砂岩体积压缩屈服的帽盖模型及库伦接触-摩擦单元,分析4根不同桩长的大直径嵌固桩侧向承载力以及单桩和群桩重力锚基底摩阻力与嵌固桩的耦合效应,揭示重力锚嵌固桩侧向基岩反力分布形态和摩阻力随主缆拉力的演化规律,考察嵌固桩长度以及平面布置形式对该类重力锚抗滑稳定性的影响。结果表明:重力锚嵌固桩可承担锚碇总抗滑力的70%~80%,极限荷载下锚碇基底实际摩阻力只达到最大摩阻力的2/3;嵌桩式重力锚的抗滑稳定性系数能达到悬索桥规范要求,而锚碇位移能控制在跨度的1/10 000之内;嵌桩式重力锚的失稳主要由锚碇后部扩底式嵌固桩周围基岩局部屈服破坏引起;与传统重力锚相比,大直径嵌桩式重力锚可以减小锚碇自重达20%以上。
2025, 47(5):199-207. DOI: 10.11835/j.issn.2096-6717.2023.078
摘要:支座强迫位移法是一种在钢主梁桥合龙施工中使用的控制方法,可以大范围调整桥梁合龙口的位置和转角,然而对于该方法在结构体系转换前后对桥梁线形和内力的影响,目前尚未有详尽的理论研究。针对这一问题,以均布荷载下悬臂施工的三跨连续梁桥为研究对象,基于欧拉梁挠曲微分方程,采用积分法分别求解支座强迫位移法分步合龙成桥和一次成桥两种状况下三跨连续梁桥的挠曲线闭合解。结果表明,两种状况下得到的梁挠曲函数完全相同,证明在弹性状态下采用强迫位移法合龙的梁式桥梁可以实现理想的一次成桥效果。同时,结合某三跨连续钢桁梁桥合龙的工程实例,对比应用支座强迫位移法合龙前后实测的桥梁线形数据和施工过程有限元计算结果发现,二者吻合良好,验证了支座强迫位移法的实桥合龙控制效果和工程应用价值。
2025, 47(5):208-217. DOI: 10.11835/j.issn.2096-6717.2023.080
摘要:桥梁拉索动力响应监测数据中存在大量低质量数据,现有的监测数据检测研究集中于时域波形异常的明显异常数据,然而监测数据中还存在时域波形正常但频域特征混乱的数据,这类数据无法准确地反映桥梁拉索动力特性。针对该问题,将现有的异常数据检测拓展为数据质量评价,同时对明显异常数据和频域混乱数据进行检测。采用卷积神经网络(CNN)和数据频域特征建立桥梁拉索动力响应监测数据质量评价方法,实施流程包括:采用快速傅里叶变换(FFT)将时域数据序列转化为功率谱密度函数(PSDF),利用格拉姆角场(GAF)方法对PSDF序列进行可视化,进而搭建CNN模型,对监测数据质量进行自动化评价。以某斜拉桥的拉索加速度监测数据为例开展应用研究,结果表明,与时域序列检测方法相比,PSDF序列检测方法能够更好地区分正常与频域混乱数据,评价准确率更高;利用两个传感器监测数据建立的CNN模型对所有26个传感器监测数据质量评价准确率均在94%以上;此外,将该评价模型应用于另一座类似桥梁的监测数据质量评价中,准确率也达到95%。
2025, 47(5):218-228. DOI: 10.11835/j.issn.2096-6717.2024.044
摘要:为分析地铁车辆段运行对上盖建筑振动与室内二次结构噪声的影响,基于FE-SEA混合法,以某地铁车辆段上盖建筑为依托,建立轨道-盖板-上盖建筑耦合模型,开展地铁振动作用下不同频域范围内上盖建筑振动与室内二次结构噪声分析,揭示上盖建筑振动产生机理,探究上盖建筑振动与噪声传播规律。结果表明:采用FE-SEA混合法分析预测上盖建筑振动及室内结构噪声准确性较高;受固有频率影响,上盖建筑各楼板主频振动位于31.5~50 Hz的低频段内;车致上盖建筑振动Z振级在第9层衰减至最低水平,随着楼层的增加,振动出现放大现象;各典型房间二次结构噪声声压主要集中于20~80 Hz范围内,随着楼层的增加,不同典型房间的A声级均出现先减小后增大的现象;施加隔振支座可以起到较好的减振效果,能有效降低结构的自振频率,并降低上盖结构对高于这一频率的振动响应。
2025, 47(5):229-236. DOI: 10.11835/j.issn.2096-6717.2024.050
摘要:以某三塔悬索桥为背景,建立桥梁有限元计算模型,采用非线性时程分析方法计算悬索桥中塔塔梁间不同弹性索刚度下桥梁的地震响应,研究中塔塔梁间设置弹性索对三塔悬索桥地震响应的影响;分析设置柔性中央扣后悬索桥的地震响应,并与无中央扣的情况进行对比;根据地震作用下三塔悬索桥柔性中央扣的受力特点,提出采用弹塑性减震装置作为三塔悬索桥中央扣,并分析不同弹塑性中央扣参数下桥梁的地震响应,研究弹塑性中央扣对三塔悬索桥地震响应的影响;探讨不同纵向减震体系下三塔悬索桥的减震效果。结果表明:中塔处塔梁间设置弹性索对中塔地震受力不利;柔性中央扣是地震作用下悬索桥的易损构件,可采用弹塑性减震装置作为悬索桥中央扣;弹塑性中央扣能有效控制三塔悬索桥的纵向地震位移,并改善中塔地震内力;采用弹性索和弹塑性中央扣组合减震体系后,悬索桥位移减小更明显,且中央扣减弱了弹性索对中塔内力的不利影响,弹塑性中央扣应用于三塔悬索桥中能有效提升桥梁的抗震性能。
2025, 47(5):237-244. DOI: 10.11835/j.issn.2096-6717.2023.066
摘要:在强震或近场地震动作用下,传统隔震支座桥梁存在支座残余位移和桥墩内力响应大的问题。受科学馆重力井曲面设施的启发,提出一种基于重力井曲面的变刚度摩擦摆支座,其曲面由内部的球面和外部的重力井曲面构成。首先,基于理论推导,建立其水平剪切方向的恢复力模型。其次,设计并制作了一个足尺变刚度摩擦摆支座试件,并对其进行拟静力试验,以进一步探究其滞回特性和力学性能。摩擦材料采用抗压性能优越的改性超高分子量聚乙烯。最终,通过数值模拟,比较研究重力井曲面摩擦摆支座和球形支座的动力特性。结果表明:变刚度双摩擦摆支座上下滑动面呈不对称滑动现象;改性超高分子量聚乙烯摩擦材料可以满足支座对摩擦垫局部应力大的需求。此外,与普通球形双摩擦摆支座相比,重力井曲面摩擦摆支座能够大幅减小地震动作用下的内力需求,且具有与小半径球面摩擦摆支座相似的优越的自复位性能。
您是本站第 4754718 访问者 
通信地址:重庆市沙坪坝区沙正街174号,重庆大学A区 邮编:400044
电话:023-65111322;023-65111863 E-mail:xuebao@cqu.edu.cn
版权所有:土木与环境工程学报(中英文) ® 2026 版权所有