2. 武汉理工大学 资源与环境工程学院, 武汉 430070
2. School of Resources and Environmental Engineering, Wuhan University of Technology, Wuhan 430070, China
据国土资源部统计,中国铁矿石储量居世界第5位。截至2010年,国内查明的铁矿石储量646亿t,资源远景储量超过2 000亿t,其中基础储量213亿t,资源量433亿t[1-3]。虽然铁矿石储量丰富,但是铁矿石资源的特点是贫矿为主,组分复杂,质量不高[4]。随着钢铁工业的快速发展,国内钢铁企业对铁矿石的需求量日益增长,中国已经成为世界上最大的铁矿石进口国,与此同时国际铁矿石价格不断攀升,铁矿石供给已经成为制约钢铁工业发展的关键问题。这使得原来被认为难以处理的铁矿石具有了开发价值,其中高磷鲕状赤铁矿就是典型代表。我国铁矿石资源储量的1/9为鲕状赤铁矿,其中高磷鲕状赤铁矿的储量约为30~40亿t,因此对这一资源的研究和开发利用具有重大意义[5]。
鲕状赤铁矿矿物成分比较复杂,且嵌布粒度很细,还经常与含磷矿物及绿泥石包裹共生,常规的选矿方法很难达到钢铁工业对铁矿石含铁量和含磷量的要求[6]。因此,目前高磷鲕状赤铁矿提铁降磷成为世界范围内公认的难题。
国内外对该种矿石已经进行了很多研究工作。姜涛[7]等将鲡状铁矿破碎湿磨后采用螺旋溜槽分级一摇床分选一稀硫酸洗涤的方法,能获得品位62%、P含量低于0.06%的铁精矿,但铁回收率低,仅为52%左右;纪军[8]等进行了分散选择性聚团脱泥2反浮选脱磷工艺的试验研究,通过适当调整药剂制度和流程结构,可以使铁精矿中磷含量降到0.25%以下, 铁回收率达到90.57%,但铁精矿品位只有50%左右;王成行[9]等采用弱磁选工艺,通过调整最佳焙烧磁选条件,得到品位和回收率分别为58.40%和87.86%的最终铁精矿,精矿中的磷含量高达0.71%。
综上所述,对于高磷鲕状赤铁矿采用传统的选矿方法难以得到令人满意的结果。笔者以鄂西某高磷鲕状赤铁矿为研究对象,采用还原焙烧-弱磁选的选别工艺,确定还原焙烧-弱磁选的最佳条件,并对所得的精矿进行微生物脱磷试验研究,为该类矿石的有效利用提供新的途径。
1 矿石性质 1.1 矿石组成及化学成分分析试验所用鲕状赤铁矿采自湖北鄂西某地,样品呈樱桃色,其原矿X射线衍射分析结果和主要化学成分分析结果分别见图 1和表 1。
|
图 1 原矿X射线衍射分析结果 H—赤铁矿;Q—石英;C—绿泥石;L—伊利石;K—高岭石;F—方解石 |
| 表 1 原矿化学成分分析 |
由图 1和表 1所示,并且结合光学显微镜和扫描电镜综合分析可知,铁矿石中铁矿物主要为赤铁矿,其次是褐铁矿,偶见磁铁矿;脉石矿物主要为石英,其次为绿泥石、伊利石、胶磷矿、白云石、方解石和高岭石等。矿石呈樱桃色,赤铁矿以集合体形式产出,与绿泥石、胶磷矿等矿物关系密切,嵌布粒度极细,为典型的高磷鲕状赤铁矿。
矿石中TFe含量较低,为43.50%,有害元素磷含量较高,为0.85%。杂质SiO2和Al2O3含量较高,CaO和MgO含量均较低。
1.2 矿石磷物相分析原矿磷元素物相分析结果如表 2所示。从表中可见,矿石中有害元素磷主要以胶磷矿形式存在,占全部磷含量的94.83%;其余磷元素存在于铁矿物和难溶性盐之中。
| 表 2 原矿磷物相分析 |
还原焙烧-弱磁选是由还原焙烧和弱磁选两部分工艺所组成[10-11]。还原焙烧是一种用热化学处理弱磁性矿物的方法,它能使脉石矿物的磁性在不发生变化的情况下,弱磁性的氧化铁矿物转变为强磁性的氧化铁矿物。经过还原焙烧的矿石即可用最有效、最经济的弱磁选方法处理,使强磁性的氧化铁矿物和脉石矿物得到有效的分离,从而获得较好的分选指标。
高磷鲕状赤铁矿加热到一定的温度时,在适量的还原剂C的作用下可被还原成磁铁矿,化学反应方程式如下[12]:
| $ {{\rm{3F{e_2}}}}{{\rm{O}}_3} + {\rm{C = 2F}}{{\rm{e}}_3}{{\rm{O}}_4} + {\rm{CO, }} $ | (1) |
| $ {{\rm{3F{e_2}}}}{{\rm{O}}_3} + {\rm{CO = 2F}}{{\rm{e}}_3}{{\rm{O}}_4} + {\rm{C}}{{\rm{O}}_2}。$ | (2) |
由于活性炭含碳量高,焙烧过程中产生的灰分少,所以本研究利用活性炭作为还原剂焙烧赤铁矿。
2.2 还原焙烧-弱磁选试验方法还原焙烧在KSY-12-16S型箱式电阻炉中进行,试验时先将高磷鲕状赤铁矿和活性炭按照一定比例混合均匀,然后装填入自制的耐高温金属容器中,用盖将金属容器密封,待电阻炉温度升至所需温度时放入装有样品的金属容器,达到设定的反应时间后取出金属容器,并进行快速冷却处理,再用XMQ-ϕ150 mm×50 mm锥型球磨机进行磨矿,得到磁选需要的矿石粒度,最后用XCGS-73型磁选管在磁场强度为636.6 kA/m进行磁选分选,从而得到铁精矿。还原焙烧-弱磁选工艺流程如图 2所示。
|
图 2 还原焙烧-弱磁选工艺流程 |
本试验采用正交试验方法研究还原焙烧-弱磁选的工艺条件。在还原焙烧-弱磁选过程中,考察了焙烧温度、焙烧时间、还原剂比例以及磨矿粒度等4个因素的相互影响,各因素选取水平见表 3。
| 表 3 正交试验因素水平表 |
试验设计4因素4水平,采用正交设计L16(44)进行试验,试验结果见表 4,还原焙烧-弱磁选精矿品位极差分析和方差分析分别见表 5和表 6。还原焙烧-弱磁选回收率极差分析和方差分析分别见表 7和表 8。
| 表 4 还原焙烧-弱磁选正交试验结果 |
| 表 5 还原焙烧-弱磁选精矿品位极差分析 |
| 表 6 还原焙烧-弱磁选精矿品位方差分析 |
| 表 7 还原焙烧-弱磁选回收率极差分析 |
| 表 8 还原焙烧-弱磁选精矿品位方差分析 |
由表 5和表 6分析可知,对精矿品位影响因素主次顺序依次为焙烧温度>焙烧时间>还原剂比例>磨矿粒度。焙烧温度是影响高磷鲕状赤铁矿还原焙烧-弱磁选精矿品位的显著因素。分析后最佳水平为A4B2C4D4,即焙烧温度900 ℃、焙烧时间25 min、还原剂配比6%、磨矿粒度95.08%。
由回收率的极差分析和方差分析表 7和表 8可得,影响回收率的因素的主次顺序依次为焙烧温度>焙烧时间>还原剂比例>磨矿粒度。K值越大越好,所以有利于回收率的最佳水平为A4B3C4D3,即焙烧温度900 ℃、焙烧时间35 min、还原剂配比6%、磨矿粒度93.37%。焙烧温度对回收率影响非常显著,其他3个因素不显著。
然而,选择还原焙烧方案时,对显著性因子应该选择其最好的水平,因为其水平变化会造成指标的显著不同,而不显著因子可以在一定范围内选择水平,实际中常可根据降低成本、节能降耗、操作方便等因素来考虑其水平的选择。由于试验过程中能源的消耗主要发生在焙烧阶段,在不太影响试验效果的情况下节约焙烧时间对于工业化应用是非常重要的。因此该试验的最佳方案选择精矿品位分析中得出的条件,即焙烧温度900 ℃、焙烧时间25 min、还原剂配比6%、磨矿粒度95.08%。
2.4 验证试验根据正交实验结果的极差分析和方差分析,该高磷鲕状赤铁矿还原焙烧-弱磁选的最佳试验方案为焙烧温度900 ℃、焙烧时间25 min、还原剂配比6%、磨矿粒度-0.074 mm95.08%,安排验证试验,得到的试验结果为精矿铁品位57.25%,回收率90.20%。精矿中磷的品位仍然为0.85%,没有发生变化。精矿的X射线衍射分析如图 3所示。从图 3中可以看出,磁选精矿的主要成份为磁铁矿、磁性赤铁矿(γ-Fe2O3)和石英,磁性赤铁矿是由磁化焙烧生成的磁铁矿在高温下冷却处理时氧化生成,具有与磁铁矿相似的磁性。
|
图 3 精矿X射线衍射分析结果 H—赤铁矿;M—赤铁矿;Q—石英 |
微生物黑曲霉是曲霉属真菌中的一个常见种,广泛分布于世界各地的粮食、植物性产品和土壤中。黑曲霉是公认安全的微生物,具有多种活性强大的酶系,它是重要的工业菌种,在发酵、医药、食品、饲料工业及粮食储藏等方面均有重要的作用,可生产淀粉酶、酸性蛋白酶、纤维素酶、果胶酶、葡萄糖氧化酶、柠檬酸、葡糖酸和没食子酸等[13]。
将细菌应用于矿石的浸出国内外已取得一定的研究进展[14-15],但是将真菌应用于矿石的脱磷研究目前还较少。研究者认为,微生物的脱磷作用主要取决于其分泌有机酸的能力[16-17]。黑曲霉主要分泌柠檬酸、草酸等,这些有机酸一方面使培养液的pH下降,另一方面还与Ca2+、Mg2+、Fe2+、Fe3+、Al3+等离子以多种形式结合,使难溶性磷释放出来,并且溶解出来的磷又能被黑曲霉的生长所利用[18-19]。除此之外,有研究表明,黑曲霉本身也直接参与了脱磷作用,真菌在生长过程中产生的大量菌丝和胞外大分子物质对难溶性磷的晶格结构的某些化学键有破坏作用,使得被包裹中的磷暴露出来得到溶解[20-21]。
3.2 黑曲霉脱磷试验方法本试验采用从武汉理工大学校园周边土壤中分离得到的一株黑曲霉。黑曲霉对高磷鲕状赤铁矿的还原焙烧-弱磁选精矿采用PKO无磷培养基培养:蔗糖10 g/L,(NH4)2SO4 0.5 g,NaCl 0.1 g,MgSO4·7H2O 0.1 g,KCl 0.2 g,MnSO4微量(约0.004 g),FeSO4微量(约0.002 g),蒸馏水1 000 mL,pH 6.0。培养条件:摇床温度30 ℃,摇床转速150 r/min,浸出液初始pH=6.0。矿浆质量分数分别为1%、2%、4%。每3 d测一次铁精矿磷品位,计算脱磷率,每天监测矿浆的pH,浸出脱磷的周期为12 d。
黑曲霉的生长曲线采用生物量称干重法试验方法,以生物量为纵坐标,以微生物培养时间为横坐标进行作图,所得曲线即为黑曲霉菌的生长曲线。试验结果如图 4。黑曲霉菌在培养基中的迟滞期在0~1 d,对数生长期在第3~6天,生物量增长迅速;在生物培养生长6 d后进入稳定期,生物量基本达到最大值。
|
图 4 黑曲霉的生长曲线 |
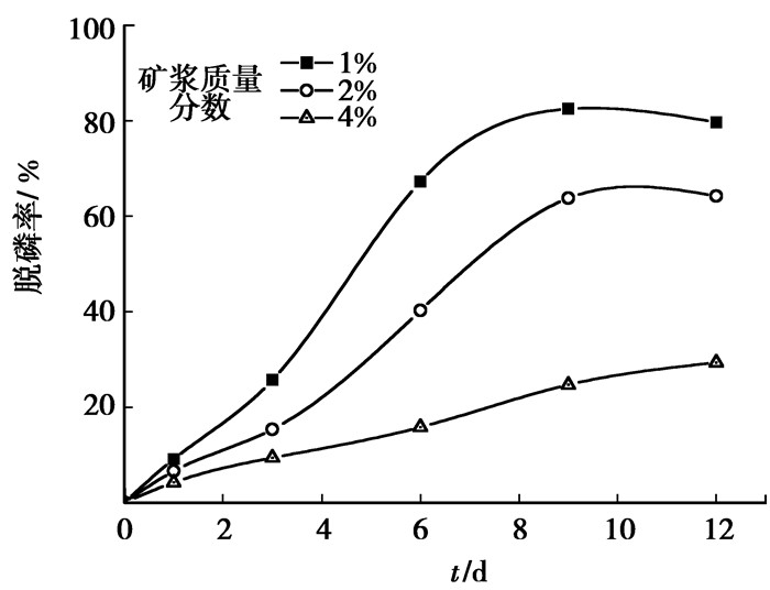
黑曲霉脱磷过程中的矿浆pH变化情况和脱磷率变化情况见图 5和图 6所示。由图 5可知,脱磷过程初期由于黑曲霉大量繁殖,分泌的柠檬酸和草酸使得溶液中的pH急剧下降,第3~6天微生物的生长达到对数生长期,这时黑曲霉菌株的活性最高。然后随着微生物的逐渐衰亡,所产生的有机酸因为脱磷作用被铁精矿所消耗,脱磷体系的pH因此逐渐上升,在第10天后变化幅度较小,基本保持稳定。
|
图 5 黑曲霉脱磷体系pH随时间变化曲线 |
|
图 6 黑曲霉浸出脱磷率随时间变化曲线 |
由图 6可知,黑曲霉对铁精矿在不同矿浆浓度条件下的脱磷均能取得一定的作用,在较低的矿浆浓度下脱磷效果非常好,并且在8 d较短的周期内就能实现79.68%的脱磷率,使得矿石中的磷含量降低到0.17%。随着矿浆浓度的提高,矿石中磷的总量增加但是供微生物生长的其他能源物质没有增加,矿石中磷的脱除需要微生物分泌更多的有机酸,而增大的矿浆浓度中矿石的杂质含量也随之增加,中和了黑曲霉生长过程中分泌的有机酸,使得矿浆体系pH下降幅度减小,同时作用于单个矿粒的微生物平均数量下降,因此黑曲霉的脱磷率随着矿浆浓度的增加而降低。
4 结论对湖北鄂西某高磷鲕状赤铁矿进行还原焙烧-弱磁选试验研究,采用黑曲霉对所获得的精矿进行微生物脱磷试验探索,取得主要结论如下:
1) 正交试验结果表明,在试验条件范围内还原焙烧-弱磁选过程中各因素影响的主次顺序为:焙烧温度>焙烧时间>还原剂比例>磨矿粒度。较佳试验条件为:焙烧温度900 ℃、焙烧时间25 min、还原剂配比6%、磨矿粒度-0.074 mm95.08%,在此条件下磁选获得铁精矿品位57.25%,回收率90.20%。
2) 黑曲霉对铁精矿中的磷具有较强的脱除能力,在较低的矿浆质量分数下脱磷率为79.68%,矿石中含磷量由0.85%降低到0.17%。此研究为微生物用于铁矿石脱磷提供了理论依据。
| [1] |
何洋, 王化军, 原文龙, 等.
某贫细鲕状赤铁矿直接还原磁选新工艺[J]. 矿冶工程, 2011, 31(5): 43–45, 49.
HE Yang, WANG Huajun, YUAN Wenlong, et al. Beneficiation of microfine low-grade oolitic hematite ore by direct reduction-magnetic concentration process[J]. Mining and Metallurgical Engineering, 2011, 31(5): 43–45, 49. (in Chinese) |
| [2] |
王贵成.
我国铁矿资源安全现状综合评价[J]. 矿业研究与开发, 2011, 31(5): 121–124.
WANG Guicheng. Synthetic evaluation on the current situation of China's iron mineral resources security[J]. Mining Research and Development, 2011, 31(5): 121–124. (in Chinese) |
| [3] |
许满兴.
中国鲕状赤铁矿资源的特征与开发利用[J]. 烧结球团, 2011, 36(3): 24–27.
XU Manxing. Characteristics of oolitic hematite resources in China and its development and utilization[J]. Sintering and Pelletizing, 2011, 36(3): 24–27. (in Chinese) |
| [4] |
刘安荣, 唐云, 张覃, 等.
鲕状赤铁矿焙烧磁选酸浸工艺研究[J]. 金属矿山, 2010, 45(3): 48–52.
LIU Anrong, TANG Yun, ZHANG Qin, et al. Research on the process of roasting magnetic separation-acid leaching for oolitic hematite ore[J]. Metal Mine, 2010, 45(3): 48–52. (in Chinese) |
| [5] | Yu Y F, Qi C Y. Magnetizing roasting mechanism and effective ore dressing process for oolitic hematite ore[J]. Journal of Wuhan University of Technology:Materials Science Edition, 2011, 26(2): 176–181. DOI:10.1007/s11595-011-0192-6 |
| [6] |
杨大伟, 孙体昌, 杨慧芬, 等.
鄂西高磷鲕状赤铁矿直接还原焙烧同步脱磷机理[J]. 北京科技大学学报, 2010, 56(8): 968–974.
YANG Dawei, SUN Tichang, YANG Huifen, et al. Dephosphorization mechanism in a roasting process for direct reduction of high-phosphorus oolitic hematite in west Hubei Province, China[J]. Journal of University of Science and Technology Beijing, 2010, 56(8): 968–974. (in Chinese) |
| [7] | 姜涛, 郭宇峰, 邱冠周, 等. 一种由含磷鲕状赤铁矿制备炼铁用铁精矿的方法: 中国, CN200710034838. 2[P]. 2007-10-17. |
| [8] |
纪军.
高磷铁矿石脱磷技术研究[J]. 矿冶, 2003, 12(2): 33–37.
JI Jun. Study on dephosphorization technology for high-phosphorus iron ore[J]. Mining & Metallurgy, 2003, 12(2): 33–37. (in Chinese) |
| [9] |
王成行, 童雄, 孙吉鹏.
某鲕状赤铁矿磁化焙烧磁选试验研究[J]. 金属矿山, 2009, 44(5): 57–59.
WANG Chenghang, TONG Xiong, SUN Jipeng. Research on the magnetizing roasting and magnetic separation of an oolitic hematite ore[J]. Metal Mine, 2009, 44(5): 57–59. (in Chinese) |
| [10] | Bahgat M. Magnetite surface morphology during hematite reduction with CO/CO2 at 1073K[J]. Materials Letters, 2007, 61(2): 339–342. DOI:10.1016/j.matlet.2006.04.059 |
| [11] | Donskoi E, Olivares R I, McElwain D L S, et al. Experimental study of coal based direct reduction in iron ore/coal composite pellets in a one layer bed under nonisothermal, asymmetric heating[J]. Ironmaking & Steelmaking, 2006, 33(1): 24–28. |
| [12] | Halder S, Fruehan R J. Reduction of iron-oxide-carbon composites:part Ⅱ.rates of reduction of composite pellets in a rotary hearth furnace simulator[J]. Metallurgical and Materials Transactions B:Process Metallurgy and Materials Processing Science, 2008, 39(6): 796–808. DOI:10.1007/s11663-008-9203-1 |
| [13] |
李祝, 刘吴娟, 葛永怡, 等.
黑曲霉单孢子株的分离及其性状[J]. 山地农业生物学报, 2011, 30(3): 235–238.
LI Zhu, LIU Wujuan, GE Yongyi, et al. The single spore separation and culture characters of Aspergillus niger[J]. Journal of Mountain Agriculture & Biology, 2011, 30(3): 235–238. (in Chinese) |
| [14] | Delvasto P, Valverde A, Ballester A, et al. Diversity and activity of phosphate bioleaching bacteria from a high-phosphorus iron ore[J]. Hydrometallurgy, 2008, 92(3/4): 124–129. |
| [15] | Delvasto P, Ballester A, Munoz J A. Mobilization of phosphorus from iron ore by the bacterium Burkholderia caribensis FeGL03[J]. Minerals Engineering, 2009, 22(1): 1–9. DOI:10.1016/j.mineng.2008.03.001 |
| [16] | Mehta K D, Das C, Pandey B D. Leaching of copper, nickel and cobalt from Indian Ocean manganese nodules by Aspergillus niger[J]. Hydrometallurgy, 2010, 105(1/2): 89–95. |
| [17] | Anjum F, Bhatti H N, Asgher M, et al. Leaching of metal ions from black shale by organic acids produced by Aspergillus niger[J]. Applied Clay Science, 2010, 47(3/4): 356–361. |
| [18] | Darban A K, Shojaosadati A, Yaraghi A. Recovery of metal from low grade oxide minerals by using Aspergillus niger[J]. Transactions of the Institutions of Mining and Metallurgy, Section C:Mineral Processing and Extractive Metallurgy, 2009, 118(2): 73–77. DOI:10.1179/174328508X370002 |
| [19] |
任婉侠, 李培军, 李晓军.
黑曲霉产酸淋滤去除污染土壤中的重金属[J]. 中国环境科学, 2008, 28(8): 736–741.
REN Wanxia, LI Peijun, LI Xiaojun. Removal of heavy metals from contaminated soils using organic acids produced by Aspergillus niger[J]. China Environmental Science, 2008, 28(8): 736–741. (in Chinese) |
| [20] |
任晓莉, 赵林, 赵润柱.
柠檬酸发酵生产菌种黑曲霉的选育[J]. 食品工业科技, 2010, 31(8): 151–153.
REN Xiaoli, ZHAO Lin, ZHAO Runzhu. Study on the breeding of citric acid production strains[J]. Science and Technology of Food Indusry, 2010, 31(8): 151–153. (in Chinese) |
| [21] |
刘晓芳, 黄晓东, 张芳.
一株溶磷黑曲霉的溶磷特性及溶磷机制初探[J]. 河南农业科学, 2005, 34(6): 60–62, 65.
LIU Xiaofang, HUANG Xiaodong, ZHANG Fang. Preliminary study on phosphate-solubilizing characteristic and mechanism of a Aspergillus niger strain[J]. Journal of Henan Agricultural Scineces, 2005, 34(6): 60–62, 65. (in Chinese) |
2013, Vol. 36

