2. 中海油研究总院, 海洋石油高效开发国家重点实验室, 北京 100027
2. State Key Laboratory of Offshore Oil Exploitation, CNOOC Research Institute, Beijing 100027, China
泡沫油油藏地层压力低于拟泡点压力时,泡沫油中的小气泡逐渐聚集形成连续气相,泡沫油现象逐渐消失,使得气油比剧烈增加,油井产量递减加快[1-2],如何改善该类油藏开发后期效果对于我国同类型油藏的高效开发具有重要意义。目前,国内外学者对影响泡沫油油藏溶解气驱过程的影响因素研究较多,但缺乏改善泡沫油油藏溶解气驱开发后期开发效果的相关研究[3-5]。注气吞吐具有增加原油膨胀性,降低原油粘度等机理[6],在室内实验过程中取得了较好的增油效果[7-8],此外,该技术便于现场施工,经济成本低,广泛应用于稠油油藏开发过程[9-10],因此,笔者以非常规泡沫油实验与压力衰竭实验为依据,基于优选的能够反映泡沫油油藏注气开发的油藏数值模拟模型,系统评价注气提高冷采后期泡沫油油藏采收率的可行性,明确注气工艺等参数的影响规律。
1 室内实验 1.1 非常规等组分膨胀实验稠油粘滞力大于重力,压力降低逸出的溶解气不易形成连续气相,而是分散在油相中,形成泡沫油非平衡体系,应采用非常规实验方法对其进行研究。实验用地层油样是由委内瑞拉Orinoco泡沫油油藏产出油,根据天然气组分配制天然气(在油藏温度54.2 ℃,高于地层原始压力8.65 MPa条件下)复配而成,具有较高的C7+组分(73.91%),其溶解油气比为15.58 m3/m3,体积系数为1.173。实验过程与常规等组分膨胀实验相似,不同之处在于PVT压力低于泡点压力时,不对原油体系进行搅拌,使得溶解气分散在原油中保持泡沫油状态,通过改变每级降压的静止时间为1、12、24 h和5 d(充分搅拌,为常规原油),实现不同泡沫油状态的物理模拟,实验结果见图 1、2。
|
图 1 不同静止时间下相对体积与压力关系图 |
|
图 2 不同静止时间下原油压缩系数与压力关系图 |
由图 1可知,原油泡点压力为4.95 MPa,静止时间为1、12、24 h时拟泡点压力分别为3.44、2.74、1.89 MPa。相对体积与压力关系有别于常规原油,表现出明显的泡沫油特性。随着静止时间的减小,相对体积与压力关系曲线向压力减小方向移动,拟泡点压力逐渐减小。由图 2可知,当压力大于泡点压力时,由于原油未脱气,不存在泡沫油现象,因此,不同静止时间下压缩系数相差不大。当压力位于泡点压力与拟泡点压力之间时,泡沫油压缩系数增加迅速,泡沫油压缩系数在10~0.012 0 MPa-1之间,明显高于常规原油,且同一压力下,泡沫油压缩系数随着静止时间的增大而增大。原因在于气相压缩系数高于液体的压缩系数,因此,不同静止时间下泡沫油压缩系数均高于常规原油,且静止时间越短,泡沫油现象越明显,相应的泡沫油压缩系数越大。
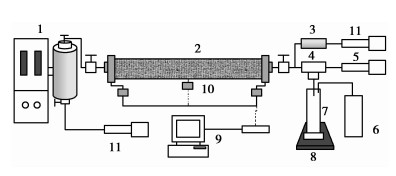
1.2 泡沫油压力衰竭实验压力衰竭实验是以饱和地层油的填砂管或岩心为基础,保持一定的速度降压,从而模拟泡沫油溶解气驱开发过程[7-10]。实验所用地层油样与非常规组分膨胀实验相同,采用60~80目的石英砂填制实验用岩心。主要实验仪器及流程见图 3,相关实验参数见表 1所示。
|
图 3 压力衰竭实验设备流程示意图 1.配样器;2.氮气;3.一维岩心;4.压力传感器;5.电子流量控制泵;6.回压阀;7.量筒;8.气体流量计;9.电子天平;10.数据采集装置;11.电脑 |
| 表 1 压力衰竭实验参数表 |
实验通过质量分数5%的NaCl水及原油饱和岩心之后,计算孔隙度、渗透率等参数,并保持实验压力在泡点压力(8.65 MPa)之上,实验温度为地层条件,分别以不同的压力衰竭速度(15.3、7.6、3.1、2.4 kPa/min)逐渐降低回压压力,用于模拟泡沫油溶解气驱过程,实验过程中记录岩心回压、产油量、产气量等参数,实验结果见表 1、图 4、5。
|
图 4 压力衰竭实验采收率拟合结果图 |
|
图 5 压力衰竭实验气油比拟合结果图 |
由表 1可知,压力衰竭速度由2.4 kPa/min增加到15.3 kPa/min,累计生产气油比由125.24 m3/m3降低到51.89 m3/m3,采收率由12.1%提高到24.3%,即随着压力衰竭速度的增大,生产气油比降低,最终采收率增加,泡沫油溶解气驱开发效果越好。分析原因在于压力衰竭速度越大,使得临界含气饱和度变大,气相流动能力降低,溢出的气泡更易滞留在原油中形成泡沫油所致。由图 4、5中压力衰竭速度为5.3 kPa/min采收率及气油比实验结果可知,从原始压力到泡点压力,流体为单相渗流,采收率仅为2.731%。当压力衰竭到泡点压力与拟泡点压力之间时,采收率大幅上升,而气油比基本保持低值,说明低于泡点压力后,脱出的溶解气分散在原油中,以泡沫油状态存在。当压力低于拟泡点压力时,气油比剧烈增加,气体大量产出,但产油量较小,采收率曲线增幅减小并趋于水平,这反映出模拟油内泡沫油现象消失,该阶段采收率仅为2.57%。
2 泡沫油油藏数值模拟模型评价考虑到压力衰竭实验岩心尺寸、孔隙度等参数相对确定,与拟合油藏实际生产数据相比,通过拟合压力衰竭实验数据,可以在降低拟合多解性的情况下,评价泡沫油油藏数值模拟模型的适用性,为后续注气吞吐提高采收率可行性及参数影响规律研究提供初始压力、含油饱和度等参数场分布。
2.1 一维岩心泡沫油数值模拟模型的建立考虑到泡沫油特性,建立5组分(水、原油、溶解气、自由气和注入气)和6组分(水、原油、溶解气、分散气、自由气和注入气)泡沫油模型描述溶解气驱及注气吞吐开发过程中存在的“溶解气—分散气(泡沫油)—自由气”与“注入气(自由气)—分散气(泡沫油)”两个动态变化过程。5组分模型是通过一个动力学方程描述溶解气到自由气的动态转化过程,并通过两条气相相对渗透率曲线,按照溶解气和自由气的摩尔比差值确定泡沫油状态下的气相相对渗透率曲线,从而实现了泡沫油机理对泡沫油油藏生产动态的影响。而6组分模型则添加了分散气组分,可以通过一条相渗曲线简化5组分模型中求取气相相对渗透率曲线过程。并通过溶解气到分散气,分散气到自由气以及注入气到分散气三个动力学方程描述四种气组分的动态转化过程。
以泡沫油模型介绍内容为基础,建立5组分和6组分泡沫油模型,其中一维岩心模型所用参数见表 1,x方向网格精度为0.5 cm,网格个数为120个。模型中组分性质参数通过相态拟合过程确定[11-13]。5组分泡沫油模型自由气相渗及6组分泡沫油模型泡沫油状态下油气相对渗透率曲线由Firoozabadi方法确定[14]。生产控制条件为回压阀压力,回压阀压力控制时间间隔TP为1 min。
2.2 泡沫油数值模拟模型评价通过5组分、6组分泡沫油模型和黑油模型拟合压力衰竭实验采收率,气油比等指标,将三种模型中油气相对渗透率曲线与反应因子作为拟合过程重点调整参数,经过反复调整上述参数,得到拟合结果见图 4、5。
由图 4、5可知,5组分、6组分泡沫油模型和黑油模型都可以得到较好的拟合结果,但黑油模型需要调整原始含油饱和度和孔隙度两个实验准确值来提高拟合精度,且拟合时间长,参数调整范围大,不适合用于泡沫油油藏的数值模拟研究。而6组分泡沫油模型的拟合精度最高,原因在于该模型包括多个组分和动力学方程,能够较好的描述泡沫油油藏开发过程中的物理化学现象,可作为后续注气吞吐参数影响规律研究的基础。
3 注气吞吐参数影响规律以压力衰竭实验拟合后的6组分泡沫油模型为基础,系统研究注气速度、注入压力等参数的影响规律,并与压力衰竭实验所得溶解气驱实验结果对比,评价注气吞吐提高出砂冷采后期稠油油藏采收率的可行性。研究中如不作特殊说明,注入速度和采液速度为2、3 cm3/min,注入时间和焖井时间为1 d,注入压力为12 MPa。
3.1 注气时机的影响注气时机的合理选择对于油藏的高效开发具有重要意义[15]。由地层压力降至6、5、4、3、2、0.2 MPa时注气吞吐开发效果计算结果可知,地层压力降至泡点压力与拟泡点压力之间时注气时效果最佳。此时油藏流体状态以泡沫油为主,同时存在少量自由气,注入天然气后,少量自由气由于地层压力的升高重新溶解于原油,形成二次泡沫油,从而起到了补充地层压力,最大限度发挥泡沫油增油机理的作用。地层压力为3 MPa时,最终采收率达到最大值32.47%,较溶解气驱提高8.17%。
3.2 注入速度的影响随着注气速度由1 cm3/min增加到5 cm3/min,注气吞吐累积产油量、采收率及采收率增量逐渐增加,注气速度为5 cm3/min时比1 cm3/min时提高采收率1.05%,较溶解气驱开发提高8.36%,即在保证注入压力不超过地层破裂压力的前提下,应尽可能的提高注气速度。较快的注气速度可以短时间内使地层产生高压及较大的过饱和度,使得注入气体溶入原油形成二次泡沫油,同时,单位时间内注入的气体多,有利于更多的气体与原油接触,发挥降粘作用。
3.3 焖井时间的影响随着焖井时间由2 d增加到6 d,累积产油量,采收率和采收率增量先增加后减小,焖井时间为4 d时,开发效果最好,采收率为32.075%,比溶解气驱开发提高采收率7.78%,即存在一个最佳的焖井时间。原因在于焖井时间过短,注入气体不能充分溶解原油,进而转化为分散气,形成泡沫油,且原油降粘作用不明显,但焖井时间过长,注入气体已完全扩散入地层,再增加焖井时间,相同时间下使得生产时间减少,从而使得注气吞吐增油效果变差。
3.4 注入压力的影响注气压力分别为4、6、8、10、12 MPa时模拟结果表明,随着注气压力的提高,累积产油量,采收率和采收率增量不断增加,但注入压力大于10 MPa后,随注气压力的增加,注入量逐渐达到目标注气量,开发指标增加幅度放缓。当注入压力为10 MPa时,累积产油量、采收率和采收率增量分别为41.52 cm3,35.36%和11.06%。
3.5 采液速度的影响采液速度分别为0.1、0.2、0.3、0.4、0.5、0.6 cm3/min时计算结果表明,随着采液速度的增加,累积产油量,采收率和采收率增量不断增加,但当采液速度大于0.4 cm3/min时,由于采液速度过大时油藏的供油量限制,增加的幅度逐渐减小。
3.6 吞吐周期的影响随着吞吐周期的增加,累积产油量和采收率不断增加,吞吐三个周期,累积产油65.10 cm3,采出程度为55.44%,但采收率增量不断降低,分别为8.37%、7.67%和6.9%。即随着吞吐周期的增加可以增加产油量,但注气吞吐的开发效果逐渐变差,应结合经济因素确定最佳的注气吞吐周期。
3.7 不同气体转化速度的影响溶解气和注入气向分散气的转化速度增大一倍,采收率分别增加9.82%和12.73%,即增加上述两部分转化速度,可以使更多的气体分散到原油中形成泡沫油,改善油藏开发效果。分散气向自由气的转化速度增大一倍,采收率降低1.23%,即分散气向自由气的转化速度增加,不利于泡沫油的稳定,导致生成大量自由气,气油比增加,产油量降低,因此,冷采及注气吞吐开发过程中应尽可能加快溶解气及注入气向分散气的转化速度。
4 结论1) 应采用非常规PVT实验方法分析泡沫油特性。实验表明,随着静止时间的减小,相对体积与压力关系曲线向左移动,拟泡点压力逐渐减小。不同静止时间下泡沫油压缩系数在10~0.012 MPa-1之间,均高于常规原油,且静止时间越短,泡沫油现象越明显,相应的泡沫油压缩系数越大。
2) 6组分泡沫油模型的拟合精度最高,对该类油藏的适用性最强。两种泡沫油模型在结构上具有相似性,但在描述泡沫油开发过程的方式和产出气组成上存在差别。黑油模型拟合时间长,参数调整范围大,不适合用于泡沫油油藏的数值模拟研究。
3) 注气吞吐可以起到提高溶解气驱后期泡沫油油藏采收率的作用。吞吐过程中存在最佳的注气时机及焖井时间。增加注气速度、注气压力和采液速度有利于改善注气吞吐开发效果,增加周期吞吐周期数,注气吞吐效果变差。冷采及注气吞吐开发过程中应尽可能加快溶解气及注入气向分散气的转化速度。
| [1] |
穆龙新, 韩国庆, 徐宝军, 等.
委内瑞拉奥里诺科重油带地质与油气资源储量[J]. 石油勘探与开发, 2009, 36(6): 384–389.
MU Longxin, HAN Guoqing, XU Baojun, et al. Geology and reserve of the Orinoco heavy oil belt, Venezuela[J]. Petroleum Exploration and Development, 2009, 36(6): 384–389. (in Chinese) |
| [2] |
穆龙新.
委内瑞拉奥里诺科重油带开发现状与特点[J]. 石油勘探与开发, 2010, 37(3): 338–343.
MU Longxin. Development actualities and characteristics of the Orinoco heavy oil belt, Venezuela[J]. Petroleum Exploration and Development, 2010, 37(3): 338–343. (in Chinese) |
| [3] | Liu Y, Wan R G, Jian Z. Effects of foamy oil and geomechanics on cold production[J]. Journal of Canadian Petroleum Technology, 2008, 47(4): 1–7. |
| [4] | Bushmin B S, Maini B. Effect of solution-gas-oil-ratio on performance of solution gas drive in foamy heavy oil systems[C]//Proceedings of 2010 Canadian Unconventional Resources & International Petroleum Conference, Calgary, Alberta, Canada, October, 19-212010, Calgary, Alberta, Canada.[S.l.]:Society of Petroleum Engineers, 2010. |
| [5] | Alshmakhy A B, Maini B. Effect of foaminess on the performance of solution gas drive in heavy oil reservoirs[C]//Proceedings of 2007 Canadian International Petroleum Conference, June 12-14, 2007, Calgary, Alberta, Canada.[S.l.]:Society of Petroleum Engineers, 2007. |
| [6] | Dong M Z, Huang S, Hutchence K. Methane pressure cycling process with horizontal wells for thin heavy oil reservoirs[C]//Proceedings of 2004 SPE Asia Pacific Oil and Gas Conference and Exhibition, October 18-20, 2004, Perth, Australia.[S.l.]:Society of Petroleum Engineers, 2004. |
| [7] | Farias M, Ayala H L F, Watson R W. Experimental and zero-dimensional analysis of CO2-N2 gas cyclic injection processes[J]. Petroleum Science and Technology, 2009, 27(12): 1360–1379. DOI:10.1080/10916460802105492 |
| [8] | Srivastava R K, Huang S S, Mourits F M. A laboratory evaluation of suitable operating strategies for enhanced heavy oil recovery by gas injection[J]. Journal of Canadian Petroleum Technology, 1997, 36(2): 33–40. |
| [9] | Ivory J, Chang J, Coates R, et al. Investigation of cyclic solvent injection process for heavy oil recovery[J]. Journal of Canadian Petroleum Technology, 2010, 49(9): 22–32. DOI:10.2118/140662-PA |
| [10] | Guan W L, Wu S H, Zhao J, et al. Utilizing natural gas huff and puff to enhance production in heavy oil reservoir[C]//Proceedings of 2008 International Thermal Operations and Heavy Oil Symposium, October 20-23, 2008, Calgary, Alberta, Canada.[S.l.]:Society of Petroleum Engineers, 2008. |
| [11] |
张艳玉, 吴晓东, 李洪君, 等.
复杂小断块油藏氮气吞吐数值模拟[J]. 中国石油大学学报:自然科学版, 2009, 33(1): 83–86.
ZHANG Yanyu, WU Xiaodong, LI Hongjun, et al. Numerical simulation of nitrogen stimulation for complex small fault-block reservoir[J]. Journal of China University of Petroleum:Edition of Natural Science, 2009, 33(1): 83–86. (in Chinese) |
| [12] |
郭平, 邓垒, 杨学峰, 等.
低渗富含凝析油凝析气藏气井干气吞吐效果评价[J]. 石油勘探与开发, 2010, 37(3): 354–357.
GUO Ping, DENG Lei, YANG Xuefeng, et al. Dry gas huff and puff effect evaluation of gas wells in low-permeable condensate gas reservoir with rich condensate oil[J]. Petroleum Exploration and Development, 2010, 37(3): 354–357. (in Chinese) |
| [13] |
任双双, 杨胜来, 杭达震.
非纯CO2对MMP和驱油效率影响的实验研究[J]. 中国矿业大学学报, 2010, 39(2): 249–253.
REN Shuangshuang, YANG Shenglai, HANG Dazhen. Laboratory evaluation of effects of impure CO2 on MMP and displacement efficiency[J]. Journal of China University of Mining & Technology, 2010, 39(2): 249–253. (in Chinese) |
| [14] | Firoozabadi A, Aronson A. Visualization and measurement of gas evolution and flow of heavy and light oils in porous media[J]. Society of Petroleum Engineers Reservoir Evaluation & Engineering, 1999, 2(6): 550–557. |
| [15] |
苏玉亮, 吴春新, 张琪, 等.
特低渗油藏CO2非混相驱油特征[J]. 重庆大学学报, 2011, 34(4): 53–56.
SU Yuliang, WU Chunxin, ZHANG Qi, et al. Characteristics of immiscible CO2 displacement in extremely low permeability reservoir[J]. Journal of Chongqing University, 2011, 34(4): 53–56. DOI:10.11835/j.issn.1000-582X.2011.04.010 (in Chinese) |
2013, Vol. 36
