微泵作为微机电系统的执行器件,具有微型化、能耗低、操作简单、集成度高及安装方便等优势,被广泛应用于生物医学、航天、环境监测等各个领域[1]。常用的驱动方式包括压电驱动[2],电液动力(EHD)驱动[3],气动驱动[4],离心力驱动[5]及电渗驱动[6]等。Smits等[7]提出在微泵设计中采用无阀结构的思想。Stemme等[8]成功采用扩散管/收缩管结构制作了无阀微泵。国内关于压电无阀微泵已经有了一些研究[9-10], 而热汽泡驱动作为一种新型无阀微泵驱动方式,近年来受到了关注[11-13]。Tsai等[14]开发了一种基于热汽泡生长和冷凝以及扩张管/收缩管的无阀微泵。笔者前期采用微层蒸发模型和界面传热传质模型,通过定壁温方法研究了热汽泡驱动无阀微泵的工作特性[15],但对微泵内部的流动特性还缺乏深入研究。采用Lee蒸发冷凝模型和定热流密度方法对热汽泡驱动无阀微泵进行研究,探讨了微泵内部流体流动特性及其结构参数对微泵性能的影响。
1 几何模型及边界条件热汽泡驱动无阀微泵是通过将脉冲方波电压作用于微泵泵腔底面加热元件上实现的,其几何模型如图 1所示。当脉冲电压对加热元件加热时,加热元件温度急剧上升,使接近加热元件上的液体温度达到饱和温度并形成汽泡,汽泡逐渐生长使泵腔压力增大,液体由泵腔排出。由于扩张管和收缩管的阻力特性不同,扩张管流出量大于收缩管流出量,此时微泵处于“泵送”模式。当停止加热而汽泡冷凝时,液体流入泵腔,同样由于阻力特性不同,出口流入量小于进口流入量,微泵处于“供给”模式。当微泵往复工作在“泵送”和“供给”模式下时,产生从进口到出口的净流量,其值根据Tsai等[14]实验模型确定。模型厚度为50 μm,驱动腔直径1 mm,加热区域为直径600 μm的圆形区域。扩张角度β从8°到33°变化,扩张管/收缩管长度L=1 mm,最窄处宽度W1=30 μm,最宽处宽度W2随扩张角度变化而变化。模型被划分为104 856个六面体结构化网格。工质采用甲醇,因压力变化很小,假设两相皆为不可压缩流体,壁面加热采用定热流密度边界条件,汽泡冷凝阶段壁面热流密度为零,进出口设定为压力边界,壁面均为无滑移边界。驱动频率f在50~500 Hz间变化,加热时间所占比例γ分别为5%和10%。
|
图 1 汽泡驱动无阀微泵几何模型示意图 |
VOF模型[16]中,控制容积中所有相体积分数之和为1,对汽液两相有
| $ {\alpha _{\rm{l}}} + {\alpha _{\rm{v}}} = 1, $ | (1) |
其中αl和αv分别为液相和汽相的体积份额。界面的追踪通过求解各相的容积比率连续性方程来实现。对汽液两相有
| $ \frac{{\partial {\alpha _i}}}{{\partial t}} + \nabla \cdot (\boldsymbol{u}{\alpha _i}) = \frac{M}{{{\rho _i}}}, $ | (2) |
其中i分别代表液相和汽相;M代表相变质量源项,kg/(m3·s)。根据Lee[17]相变模型,以饱和温度为界,质量传递通过下式计算
| $ M = \left\{ \begin{array}{l} {c_{\rm{l}}}{\alpha _{\rm{l}}}{\rho _{\rm{l}}}(T-{T_{{\rm{sat}}}})/{T_{{\rm{sat}}}}, T \ge {T_{{\rm{sat}}}}, \\ {c_{\rm{v}}}{\alpha _{\rm{v}}}{\rho _{\rm{v}}}({T_{{\rm{sat}}}}-T)/{T_{{\rm{sat}}}}, T < {T_{{\rm{sat}}}}; \end{array} \right. $ | (3) |
其中:cl和cv分别为液相和汽相松弛时间因子,s-1;Tsat为饱和温度,K。
2.2 动量方程| $ \begin{array}{l} \frac{{\partial (\rho \boldsymbol{u})}}{{\partial t}} + \nabla \cdot (\rho \boldsymbol{uu}) =- \nabla p + \\ \nabla \cdot \left[{\mu (\nabla \boldsymbol{u} + {{(\nabla \boldsymbol{u})}^{\rm{T}}})-\frac{2}{3}\mu \nabla \cdot \boldsymbol{uI}} \right] + \rho g + {F_\sigma }, \end{array} $ | (4) |
其中:I为三阶单位矩阵;Fσ为单位体积表面张力,N/m3。
2.3 能量方程| $ \frac{\partial }{{\partial t}}\left( {\rho E} \right) + \nabla \cdot\left[{u\left( {\rho E + p} \right)} \right] = \nabla \cdot\left( {\lambda \nabla T} \right) + Q, $ | (5) |
其中:E=(αlρlEl+αvρvEv)/(αlρl+αvρv);Q为汽液界面的能量源项,W/m3;通过质量源项乘以该压力下的汽化潜热得到
| $ Q = {h_{{\rm{fg}}}}M, $ | (6) |
其中hfg为汽化潜热,J/kg。根据式(3)和式(6)编写UDF接口程序,将上述质量源项和能量源项分别添加到VOF模型的容积比率连续性方程(2)和能量方程(5)中。
3 结果与讨论扩张管和收缩管的流量可表示为
| $ {q_{V, i}} = {A_i}{\left( {\frac{2}{\rho }} \right)^{\frac{1}{2}}}{\left( {\frac{{\Delta {p_i}}}{{{\xi _i}}}} \right)^{\frac{1}{2}}} = {A_i}{\bar \nu _i}, $ | (7) |
其中:qV, i、Ai、ρ、Δpi、ξi、νi分别为流量、颈部面积、流体密度、进出口压强差、压力损失系数以及颈部截面处平均速度,i代表扩张管和收缩管。在采用扩张管/收缩管阻力特性(ξi)不同而产生流量差原理输送流体的微泵中,其收缩/膨胀的时间比率,扩张管/收缩管几何结构等对微泵工作特性影响很大,而不同的几何及操作参数所导致的不同流场特性又是其工作特性差异的最主要原因。因此,文中主要从扩张管/收缩管几何结构及收缩/膨胀的时间比率,以及所造成的流场差异来讨论微泵的工作特性。
3.1 模型方法验证图 2为不同频率f和加热时间比例γ下微泵泵送流量模拟结果与Tsai[14]实验结果的对比。可以看出,在不同的加热时间比例γ和驱动频率f下,两者趋势相同。γ不变时,泵送流量随f增加先增加后降低。最大流量均发生在f=250 Hz,γ=10%时,实验流量为5 μL/min,模拟流量为5.87 μL/min,其偏差为17.4%,考虑到实际流道壁面粗糙度的影响,模拟结果与实验结果吻合较好。
|
图 2 不同加热比例下泵送流量与驱动频率关系 |
在f=100 Hz,γ=5%和f=250 Hz,γ=10%时保持扩张管/收缩管长宽比L/W1不变,扩张管/收缩管角变化范围为8°~33°时泵送流量变化如图 3所示。可以看出泵送流量都呈现随扩张角的增加先增加后减小的趋势,最大值出现在扩张角为14°处,说明在扩张角为14°时微泵工作在最佳出力状态,泵送流量最高。微泵的扩张管/收缩管角度过大可能引起倒流,导致泵送流量下降,过小则由于两者阻力特性差异不大而流量小。因此,扩张角有最优值使整流特性最好,从而使泵送流量达到最大。
|
图 3 泵送流量随扩张角度的变化曲线 |
不同扩张角下加热时间t=0.4 ms时扩张管/收缩管沿中心轴线方向上的压力分布曲线如图 4所示。对比图 4(a)和图 4(b)可以看出,中心线上扩张管压力下降快于收缩管,在距离泵腔相同距离截面上,扩张管流量要大于收缩管的流量,即出口流量大于进口流量。扩张角为14°时扩张管/收缩管压差最大,即在该扩张角下可获得最大的进出口流速。
|
图 4 扩张角度对扩张管/收缩管中心线压力影响 |
图 5为β=14°,f=100 Hz,γ=5%时一个周期内不同时刻微泵扩张管/收缩管颈部截面Y方向流速分布曲线,其中0.3~0.5 ms为汽泡生长阶段,出口(扩张管)处流速随着加热时间而增大,在加热结束时(0.5 ms)流速达到最大。从图中可以看出出口(扩张管)处的流速要大于进口(收缩管)处的流速,所以净流量方向是沿进口到出口方向。1.3~3.3 ms为汽泡冷凝阶段,汽泡收缩液体向泵腔中心流动,出口(收缩管)流速变为负值,进口(扩张管)流速变为正值。随着冷凝过程的进行,汽泡冷凝速度减小,使得进出口处的流体流速逐渐降低。对比图 5(a)和图 5(b)的相同时刻,进口(扩张管)处的流速大于出口(收缩管)处的流速,即在汽泡冷凝阶段,净流量方向仍然是沿着进口到出口方向,从而在整个驱动周期内实现从进口到出口的定向流动。
|
图 5 β=14°时进口/出口断面处速度分布 |
进一步分析t=0.4 ms时扩张角对扩张管/收缩管颈部平均流速的影响。如图 6所示,可以看出,扩张管颈部平均流速大于收缩管颈部的平均流速,这与图 4所示的扩张管/收缩管压力变化相吻合。扩张管和收缩管颈部平均流速呈现随扩展角增加先增后减小的趋势,且在14°时达到最大。在较大的扩张角度下,由于边界层分离而使流体出现回流现象,使泵送流量降低。扩张角越大,回流现象越严重。图 7为扩张角β为24°、t为0.4 ms时扩张管的速度矢量图,从图中可以明显看到壁面附近的回流现象。
|
图 6 扩张角对扩张管/收缩管颈部流速的影响 |
|
图 7 β=24°时扩张管速度矢量图 |
加热功率对微泵的工作性能也有较大影响(如图 8所示)。微泵加热功率从0.3 W到1.2 W时微泵的流量变化曲线。功率较小时,随着加热功率增加泵送流量增加较快,功率较高时微泵流量增加较平缓。表明微泵流量并不随加热功率的增加而持续增加,这可以从汽泡不能及时冷凝得到解释。
|
图 8 流量随加热功率的变化特性 |
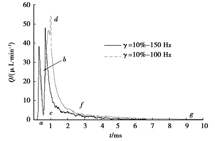
图 9为γ=10%、f =100 Hz时,微泵在整个驱动周期内汽泡形态的演化过程。其中0~1.0 ms为汽泡生长聚合阶段,即微泵工作在“泵送”模式;t=1.0 ms时停止加热,微泵转入“供给”模式。图 10为微泵驱动周期内泵送流量随时间的变化曲线。当壁面附近液体被加热到满足Lee模型所定义的蒸发条件时,核化即发生,对应图 10中a点。在初始阶段,汽泡孤立生长,且多近似维持球形,此时汽泡处于惯性生长阶段其生长速度较大,泵送流量不断上升,对应图 10中a-b段。而当大量汽泡在壁面上产生时,汽泡进入生长较慢的热扩散控制阶段时,使微泵流量逐渐降低,如图 10中b-c段。在汽泡生长后期阶段,汽泡间距减小,聚合发生,且汽泡聚合过程中变形较为剧烈,如图 9中t=0.7~1.0 ms阶段。聚合形成的大汽泡由于腔体限制不能脱离加热壁面,使得壁面热量直接通过热传导方式传递给汽泡,汽泡生长过程继续而使微泵流量增加,如图 10中c-d段。在汽泡冷凝过程中,汽泡聚合进一步发生,直至形成一个大汽泡,如图 9中t=2 ms时刻。在汽泡冷凝初始阶段,汽泡表面积较大,冷凝速度较快,产生的瞬时供给流量也较大,如图 10中d-f段,在汽泡冷凝后期阶段,随着冷凝速度越来越小,流量逐渐趋近于零,如图 10中f-g段。即在整个驱动周期内泵送流量呈现出先增加后减小、再增加再减小的趋势。在“供给”模式下,扩张管液体流向腔体中心的流速大于收缩管流速,从而将汽泡冲到泵腔右上侧。对γ=10%、f =150 Hz工况下也得到了类似的流量变化曲线。
|
图 9 γ=10%,f =100 Hz时汽泡形态演化 |
|
图 10 泵送流量随时间变化曲线 |
对热汽泡驱动微泵的驱动比例、驱动频率、扩张角及加热功率对泵送流量的影响进行了数值模拟研究。结果表明:
1) 泵送流量随驱动频率的增加而先增加后降低,模拟结果与文献实验结果符合较好。在保持微泵扩散管/收缩管长宽比不变的情况下,流量随扩张角增大先增后降低,最佳扩张角为14°。
2) 在汽泡生长阶段,微泵的进出口流速随加热时间逐渐增大;在汽泡冷凝阶段,随着冷凝速度的降低进出口流速逐渐降低。
3) 微泵流量随加热功率的增加而呈现先增加后逐渐趋于平缓的趋势;扩张管方向的颈部平均流速总是大于收缩管方向的颈部平均流速。过大的扩张角会使得管壁附近产生回流使得泵送流量降低。
| [1] | 方肇伦. 微流控分析芯片[M]. 北京: 科学出版社, 2003. |
| [2] | Andersson H, wijngaart W V D, Nilsson P, et al. A valve-less diffuser micropump for microfluidic analytical systems[J]. Sensors and Actuators B:Chemical, 2001, 72(3): 259–265. DOI:10.1016/S0925-4005(00)00644-4 |
| [3] | Yu H, Yu J, Ma C F. Design, fabrication and experimental research for an electrohydrodynamic micropump[J]. Science China Technological Sciences, 2010, 53(10): 2839–2845. DOI:10.1007/s11431-010-4096-z |
| [4] | Unger M A, Chou H P, Thorsen T, et al. Monolithic microfabricated valves and pumps by multilayer soft lithography[J]. Science, 2000, 288(5463): 113–116. DOI:10.1126/science.288.5463.113 |
| [5] | Madou M J, Kellogg G J. LabCD:a centrifuge-based microfluidic platform for diagnostics[J]. Proc. SPIE, 1998, 3259: 80–93. DOI:10.1117/12.307314 |
| [6] | Harrison D J, Fluri K, Seiler K, et al. Micromachining a miniatured capillary electrophoresis-based chemical analysis system on a chip[J]. Science, 1993, 261(5123): 895–897. DOI:10.1126/science.261.5123.895 |
| [7] | Smits J G. Piezoelectric micropump with three valves working peristaltically[J]. Sensors and Actuators A:Physical, 1990, 21(1/2/3): 203–206. |
| [8] | Stemme E. A valveless diffuser/nozzle-based fluid pump[J]. Sensors and Actuators A:Physical, 1993, 39(2): 159–167. DOI:10.1016/0924-4247(93)80213-Z |
| [9] |
鲁立君, 吴健康.
无阀压电微流体泵工作特性与结构参数[J]. 机械工程学报, 2008, 44(11): 121–125, 131.
LU Lijun, WU Jiankang. Working behavior and structure parameter of valveless piezoeleetric micropumps[J]. Journal of Mechanical Engineering, 2008, 44(11): 121–125, 131. (in Chinese) |
| [10] |
蒋丹, 李松晶, 杨平.
收缩管/扩张管型无阀压电微泵的动态特性研究[J]. 工程力学, 2011, 28(3): 218–223.
JIANG Dan, LI Songjing, YANG Ping. Study on dynamic characteristics of a piezoelectric valve-less nozzle/diffuser micropump[J]. Engineering Mechanics, 2011, 28(3): 218–223. (in Chinese) |
| [11] | Lin L W. Thermal challenges in MEMS applications:phase change phenomena and thermal bonding processes[J]. Microelectronics Journal, 2003, 34(3): 179–185. DOI:10.1016/S0026-2692(02)00186-6 |
| [12] | Meng D D, Kim C J. Micropumping of liquid by directional growth and selective venting of gas bubbles[J]. Lab on a Chip, 2008, 8(6): 958–968. DOI:10.1039/b719918j |
| [13] | Yin Z Z, Prosperetti A. Microfluidic 'blinking' bubble pump[J]. Journal of Micromechanics and Microengineering, 2005, 15(3): 643–651. DOI:10.1088/0960-1317/15/3/028 |
| [14] | Tsai J H, Lin L W. A thermal-bubble-actuated micronozzle-diffuser pump[J]. Journal of Microelectromechanical Systems, 2002, 11(6): 665–671. DOI:10.1109/JMEMS.2002.802909 |
| [15] | Pan L M, Deng J W, Yuan D W, et al. Numercial simulation of a thermal-bubble actuated diffuser-nozzle valveless pump[J]. Science in China Series E:Technological Sciences, 2009, 52(10): 2967–2972. DOI:10.1007/s11431-009-0283-1 |
| [16] | Hirt C W, Nichols B D. Volume of fluid (VOF) method for the dynamics of free boundaries[J]. Journal of Computational Physics, 1981, 39(1): 201–225. DOI:10.1016/0021-9991(81)90145-5 |
| [17] | Lee W H. A pressure iteration scheme for two-phase flow modeling[C]//Multiphase Transport:Fundamentals, Reactor Safety, Applications:Proceedings of the 2nd Multishphase Flow & Heat Transfer Symposium, April 16-18, 1979, Miami Beach. Washington D C:Hemisphere Press, 1980:20-80. |
2013, Vol. 36

