柴油机燃烧过程控制的实质是对缸内混合气浓度历程和温度历程的控制。面对日益严格的排放法规,传统柴油机所面临的挑战是同时降低soot和NOx排放。近年来国内外研究者越来越关注柴油机新型燃烧方式的研究。典型的柴油机新型燃烧方式包括均质混合气压缩燃烧(HCCI)[1-5],分层混合气压缩燃烧(SCCI)等。后者属于广泛HCCI概念的范畴[6-8]。
目前,国内外柴油机新型燃烧方式的研究还主要是开展中低负荷工况燃烧控制的研究,在大负荷和满负荷工况下如何对燃烧进行控制,是柴油机实现高效清洁新型燃烧方式需要解决的一个重要课题。在大负荷工况下,由于喷入的燃料量多,柴油机热负荷高,发动机采用均质、预混合燃烧方式很容易产生爆震,利用EGR稀释的柴油低温燃烧(low temperature combustion, LTC)过程受到人们的重视。LTC的特点是在正常喷油时刻(或略早)喷油,采用大比例EGR率(>50%),EGR延长滞燃期并降低燃烧温度,通过高的喷射压力加速燃油与空气混合,在滞燃期内形成预混合气,实现柴油机低温燃烧。延长的滞燃期和高压喷射形成的快速混合过程使得在自燃着火时刻有更多的燃油处在当量比小于2的条件下,soot生成得到有效抑制。燃烧后的温度较低,远离NOx的高生成区域,NOx生成量小。LTC相对于HCCI可以工作在混合气较浓的条件下,因此可以更大工况范围实现低NOx和soot排放。近年来,学术界和工业界对LTC燃烧方式都很重视。
ALRIKSSON等[9]研究了采用低温燃烧方式实现同时降低NOx和soot排放的可能性。研究中的运行工况都是在25%发动机负荷和大比例EGR条件下进行的。研究结果表明大比例EGR的应用使得NOx和soot排放都很低。研究中所有的工况都能观察到低温反应。低温反应对于延长高温反应前的着火延迟以及燃油与空气的混合时间起着很重要的作用。但在文中的研究工况下,燃油消耗、UHC和CO排放都增加。在低温燃烧中应该尽量避免边喷油边燃烧,因此加长着火延迟期是非常必要的。此外,将发动机的负荷拓展到50%,结合大比例的EGR研究实现低NOx和soot排放低温燃烧的可能性[10]。研究中还采用了超增压技术保持进气压力恒定,结果表明在发动机负荷拓展到50%的时候,将压缩比降到14,采用大约60%的EGR率能够获得很低的NOx和soot排放。
在传统柴油机燃烧中,喷雾混合是影响燃烧过程的关键因素。因此,适当的喷油和进气策略对改善燃烧过程起着重要作用[11-12]。而对于低温燃烧来说,喷雾混合和EGR控制是低温燃烧过程控制的两个关键因素。尤其是在较大的负荷下实现低温燃烧,要保证空气与燃烧快速充分地混合,先进的控制策略在低温燃烧中显得尤为重要。文中以C12H26为燃料模拟柴油,以CO2模拟EGR调节氧浓度,针对柴油机低氧浓度低温燃烧(LTC),研究了喷油参数和进气参数包括喷油压力、喷孔直径和进气压力对燃烧过程和排放的影响,为实现柴油机高效清洁燃烧提供理论指导。
1 计算模型STAR-CD基于有限体积法,计算域被网格分成许多控制体,对每个控制体分别求多维N-S方程标量输运方程,方程的数值解反映气流及喷雾的运动,燃油的蒸发、混合及燃烧等一系列物理化学过程。采用PISO算法对流场和其他标量进行解耦。针对内燃机工作过程高压缩性、强瞬变的特性,采用RNG k-ε湍流模型[13]。经过筛选,对喷雾过程的模拟分别选用Huh雾化模型[14];Reitz/Diwakar破碎模型[15];Bai撞壁模型[16]。自燃模型采用基于退化分枝链锁反应机理的Shell模型[17];燃烧模型采用的是基于层流和湍流特征时间EBU燃烧模型(laminar-and-turbulent characteristic time,LATCT EBU)[18]。对于排放模型,在柴油机的燃烧中,热NO占主导地位,它是在高温富氧条件下产生的,服从扩展的Zeldovich机理[19-20];soot模型采用Magnusson提出的经验模型[21]。
为了减小计算量,根据所采用喷油器的孔数(7孔),选取燃烧室1/7,即51°扇形体作为计算域。采用笛卡儿坐标系统随时间变化的运动网格。计算网格总数为33 524,节点数为37 458。计算从进气门关(IVC)开始,到排气门开(EVO)结束。将时间参数转化为发动机曲轴转角参数。计算中发动机转速均为1 400 r/min。计算网格划分如图 1所示。计算的时间步长设为0.1℃A。
|
图 1 燃烧室剖面网格划分图(TDC) |
试验在1台六缸水冷直喷柴油机上进行,表 1给出了发动机的基本参数。图 2给出了喷油压力为140 MPa,进气压力为0.1 MPa的条件下,喷油时刻分别为-20°ATDC时,缸内压力和燃烧放热率的实验值与计算值对比。由图可知,计算和实验的缸内压力吻合较好。对于放热率来说,计算的放热率峰值比实验值略高,但是开始放热时刻、燃烧持续期和放热的趋势都吻合较好。
|
图 2 实验与计算的缸内压力和放热率对比 |
| 表 1 发动机参数 |
在传统柴油机燃烧中,燃烧情况主要取决于燃油与空气混合的速率,混合过程所需要的能量来自喷射到燃烧室中的燃油和空气的动能。在低氧浓度条件下进入气缸的新鲜空气大量减少,因此燃油与空气混合的问题更加严重。文中主要针对低氧浓度低温燃烧,研究喷油和进气参数对混合过程和燃烧过程的影响。采用CO2模拟EGR调节氧浓度。单缸循环喷油量为93.6 mg,当量燃空比为0.6,喷油定时为-7°ATDC。
3.1 喷油压力对燃烧过程和排放的影响在喷油压力影响的研究中保持喷孔直径为0.164 mm,进气压力为0.2 MPa不变,喷油压力分别100、140、160 MPa。
图 3(a)(b)(c)给出了不同喷油压力不同氧浓度条件下的缸内平均压力、平均温度和放热率对比。由图可知,随着喷油压力的增加,各氧浓度下缸内平均压力和温度峰值都增大。相同氧浓度条件下的预混燃烧比例增大,出现明显预混燃烧放热阶段的氧浓度变大。当喷油压力为100 MPa时,氧浓度需要下降到13%时才会出现明显的预混燃烧放热阶段;当喷油压力为140 MPa时,氧浓度下降到15%,出现明显的预混燃烧放热阶段;而当喷油压力为160 MPa时,氧浓度下降到17%就出现明显的预混燃烧放热阶段。图 3(d)给出了出现明显预混燃烧放热的几种氧浓度条件下喷油压力对着火前燃油蒸发比例的影响。随着喷油压力的升高,燃油流速增加,喷油细化,燃油开始蒸发的时刻提前,蒸发速度也加快,因此随着喷油压力的增加,各氧浓度条件下着火之前燃油蒸发的比例都增加。这表示在相同的氧浓度下,增大喷油压力可以使着火前缸内形成更多的可燃预混合气。
|
图 3 喷油压力对燃烧过程的影响 |
图 4给出了低氧浓度条件下(以氧浓度13%为例)喷油压力对NOx和soot排放的影响。由图可知soot在整个燃烧过程中呈现先增大后减小的趋势,最终的soot排放是生成与氧化相竞争的结果。喷油压力增大,促进了燃油与空气的混合,soot所能达到的峰值及最终的排放值都降低。而对于NOx排放来说,燃烧开始后迅速生成至某一恒定值。在氧浓度一定的条件下,NOx排放随喷油压力的增大而增大,这是因为随着喷油压力的增加,缸内局部温度最大值增大,如图 5所示。另外,图 5还表明氧浓度一定的条件下,随着喷油压力的增大,缸内温度最小值也增大,这样就有利于更多燃油避开UHC/CO排放区,提高低氧浓度条件下的热效率。
|
图 4 低氧浓度条件下喷油压力对NO和soot排放的影响(13%O2) |
|
图 5 低氧浓度条件下喷油压力对平均温度最高时缸内温度分布的影响(13% O2) |
在柴油机燃油喷射系统中,除了喷油压力对燃油与空气的混合有显著的影响外,减小喷孔直径也可以使燃油的喷雾颗粒进一步细化,油束的喷雾锥角变大,燃油雾化更好。图 6给出了喷油压力为140 MPa,进气压力为0.2 MPa时,喷孔直径分别为0.204、0.184、0.164 mm时喷孔直径对不同氧浓度条件下燃烧过程的影响。图 6(a)(b)表明随着喷孔直径变小,缸内平均压力增大,缸内平均温度升高。放热率对比图(如图 6(c)所示)表明,与喷油压力的影响类似,随着喷孔直径的减小,呈现明显预混燃烧放热的氧浓度变大,相同氧浓度条件下预混燃烧的比例增大。当喷孔直径为0.204 mm时,氧浓度需要下降到10%时才会出现明显的预混燃烧放热阶段;当喷孔直径为0.184 mm时,氧浓度下降到13%出现明显的预混燃烧放热阶段;而当喷孔直径为0.164 mm时,氧浓度下降到15%出现明显的预混燃烧放热阶段。
|
图 6 低氧浓度条件下喷孔直径对燃烧的影响 |
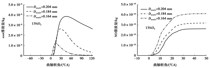
图 6(d)给出了低氧浓度下喷孔直径对着火前燃油蒸发率的影响,随着喷孔直径的减小,图中各氧浓度下的着火前燃油蒸发的比例都明显增大,这样着火前就形成更多可燃预混合气,使预混燃烧的比例增大。图 7给出了低氧浓度条件下,喷孔直径对NOx、soot排放的影响。与喷油压力的影响类似,喷孔直径减小会使混合更加均匀,预混燃烧强度增加。即随着喷孔直径的减小,soot排放降低,NOx排放升高且有利于提高热效率。
|
图 7 低氧浓度条件下喷孔直径对NO、soot排放影响(13%O2) |
对低氧浓度的工况而言,由于进入气缸的新鲜空气减少,与燃料混合的氧份的绝对量下降,放热速率下降,燃烧持续期增长,燃烧效率降低。因此,缸内需要保证足够的氧气与燃油混合参与燃烧,提高燃烧效率,这就需要提高增压压力来保证足够的空气进入量。进气压力增大导致缸内的进气量增多,因此在总喷油量不变的情况下,相同氧浓度条件下的燃空当量比减小。研究中的进气压力分别为0.2、0.3、0.4 MPa时(喷油压力保持为140 MPa,喷孔直径为0.164 mm)。
图 8给出了进气压力对缸内平均压力、缸内平均温度以及瞬时放热率的影响。图 8(a)(b)表明进气压力增大,各氧浓度条件下,缸内压力峰值随之大幅增加。而缸内平均温度则与缸内平均压力相反,随着进气压力的增大,缸内平均温度略有降低,其原因是进气压力增大,相同氧浓度条件下的燃空当量比减小,缸内温度上升幅度小。图 8(c)给出了进气压力对瞬时放热率的影响。由图可知,随着进气压力的增大,各氧浓度条件下预混燃烧的比例明显减小。当进气压力为0.2 MPa时,3种氧浓度条件下放热率都呈现出明显的预混燃烧放热阶段;当进气压力为0.3 MPa时,氧浓度降到13%时放热率才出现明显预混燃烧放热阶段,且预混强度比进气压力为0.2 MPa时明显减弱;当进气压力为0.4 MPa时,氧浓度降到10%时才出现明显的预混燃烧放热阶段,且预混燃烧强度进一步减弱。随着进气压力的增大,各氧浓度条件下的预混燃烧强度下降,但是扩散燃烧的强度却明显增强,且滞燃期都缩短,着火时刻提前。
|
图 8 低氧浓度条件下进气压力对燃烧的影响 |
根据燃烧化学反应动力学理论,燃料和空气要发生化学燃烧反应,必须经过它们具有活化能的分子发生有效碰撞,并产生能量破坏分子原有化学键才能实现。在相同条件下,温度越高,分子的运动速度和具有的动能越大,从而使分子之间的碰撞越激烈,化学燃烧反应的速度也越大;而压力越高,其分子的密度也越大,分子运动的平均自由程越短,碰撞频率越高,这也使有效碰撞的频率相应提高,导致化学反应速率相应增加。随着进气压力的增大,既有压力升高对化学反应速率的促进作用,又有温度降低对化学反应速率的抑制作用,在研究中压力升高对化学反应速率的促进作用占主导地位,结果导致随着进气压力的增加,着火时刻提前,滞燃期缩短。图 8(d)显示,随着进气压力增大,着火前蒸发的燃油比例越来越小。当进气压力为0.2 MPa时,较大的燃油蒸发比例使得3种氧浓度条件下放热率都呈现明显的预混燃烧阶段放热阶段;当进气压力为0.3 MPa、氧浓度为15%时,着火前燃油蒸发比例过小,没有呈现明显的预混燃烧放热阶段;当进气压力为0.4 MPa、氧浓度为15%和13%时,着火前燃油蒸发比例过小,没有呈现明显的预混燃烧放热阶段。
另外,对低氧浓度的工况而言,由于进入气缸的新鲜空气减少,与燃料混合氧份的绝对量下降,进气压力增加后,各氧浓度条件下进入气缸的新鲜空气都增加,使低氧浓度条件下燃烧缺氧的状况有所改善,因此,进气压力增大,相同氧浓度条件下燃油的燃烧更加完全,放出的总热量更多(如图 9所示),再加上循环喷油量不变,相同氧浓度条件下的燃烧效率明显提高(如图 10所示)。
|
图 9 进气压力对累积放热量的影响 |
|
图 10 进气压力对燃烧效率的影响 |
图 11给出了氧浓度为15%时进气压力对soot和NOx生成历程的影响。随着进气压力的增加,燃烧过程中生成soot最大值和最终排放值都减小,这是由于进气压力增加,进入气缸的新鲜空气增加,使燃烧的缺氧环境得到改善,促进了燃油与空气的混合。
|
图 11 进气压力对soot和NOx生成历程的影响(15% O2) |
随着进气压力的增加,NOx生成量进一步降低,这是由于进气压力增加,进气量增多,缸内温度上升慢,导致燃烧过程中所达到的最高局部缸内温度也降低,如图 12所示。
|
图 12 不同进气压力条件下最高局部温度出现时缸内温度分布(15% O2) |
应用三维CFD模拟研究了喷油和进气参数包括喷油压力、喷孔直径和进气压力对柴油机低温燃烧(LTC)过程的影响。
1) 喷油压力增加或喷孔直径减小,各氧浓度条件下缸内平均压力和温度峰值都增大,着火之前的燃油蒸发比例都增加,形成更多的可燃混合气,预混燃烧比例增大,出现明显预混燃烧氧浓度增大。
2) 喷油压力增加或喷孔直径减小,使着火前缸内燃油与空气混合更加均匀,相同氧浓度条件下的soot排放降低;缸内局部温度最大值增大,相同氧浓度条件下NOx排放增大。
3) 进气压力增大,各氧浓度条件下的缸内压力上升更快,缸内压力峰值随之增大;缸内平均温度略有降低;着火时刻提前,各氧浓度条件下的预混燃烧比例减小,
4) 进气压力增大,燃烧过程中局部缺氧的状况得到改善,相同氧浓度条件下燃油的燃烧更加完全,放出的总热量更多,燃烧效率明显提高;soot峰值和最终排放值都减小,NOx生成量进一步降低。进气压力增大,实现高效清洁燃烧的所需要氧浓度随之增大,EGR率随之减小。
| [1] | Christensen M, Hultqvist A, Johansson B, et al. Demonstrating the multi fuel capability of a homogeneous charge compression ignition engine with variable compression ratio[C]//Proceedings of the International Fuel & Lubricants Meeting & Exposition, October 25, 1999, Toronto, Canada.[S.l.]:SAE Technical Papers, 1999:1999-01-3679. |
| [2] | Ra Y, Reitz R D. The use of variable geometry sprays with low pressure injection for optimization of diesel HCCI engine combustion[C]//Proceedings of the SAE 2005 World Congress & Exhibition, April 11, 2005, Detroit, Michigan, United States.[S.l.]:SAE Technical Papers, 2005:2005-01-0148. |
| [3] |
王辉, 苏万华, 刘斌.
调制喷油模式对柴油HCCI燃烧性能和排放的影响[J]. 燃烧科学与技术, 2006, 12(3): 226–232.
WANG Hui, SU Wanhua, LIU Bin. Effects of modulated injection mode on the performance and emissions of diesel HCCI combustion[J]. Journal of Combustion Science and Technology, 2006, 12(3): 226–232. (in Chinese) |
| [4] |
张波, 尧命发, 郑尊清, 等.
正庚烷均质压燃燃烧特性和排放特性的实验研究[J]. 天津大学学报, 2006, 39(6): 663–669.
ZHANG Bo, YAO Mingfa, ZHENG Zunqing, et al. Experimental study on the HCCI combustion and emission characteristics of n-heptane[J]. Journal of Tianjin University, 2006, 39(6): 663–669. (in Chinese) |
| [5] |
刘海峰, 张波, 尧命发, 等.
高辛烷值燃料对HCCI增压发动机燃烧和排放影响的试验研究[J]. 内燃机学报, 2008, 26(2): 106–115.
LIU Haifeng, ZHANG Bo, YAO Mingfa, et al. The influence of high octane number fuels on combustion and emissions of supercharging HCCI engine[J]. Transactions of CSICE, 2008, 26(2): 106–115. (in Chinese) |
| [6] | Sankaran R, Im H G. Effects of mixture inhomogeneity on the auto-ignition of reactants under HCCI environment[C]//Proceedings of the 42nd AIAA Aerospace Sciences Meeting and Exhibit, January 5-8, 2004, Reno, Nevada, USA.[S.l.]:AIAA, 2004, 2004-1328. |
| [7] | Kumano K, Iida N. Analysis of the effect of charge inhomogeneity on HCCI combustion by chemiluminescence measurement[C]//Proceedings of the 2004 SAE Fuels & Lubricants Meeting & Exhibition, June 8, 2004, Toulouse, France.[S.l.]:SAE Technical Papers, 2004:2004-01-1902. |
| [8] | Berntsson A W, Denbratt I. HCCI combustion using charge stratification for combustion control[C]//Proceedings of the SAE World Congress & Exhibition, April 16, 2007, Detroit, MI, USA.[S.l.]:SAE Technical Papers, 2007, 2007-01-0210. |
| [9] | Alriksson M, Rente T, Denbratt I. Low soot, low NOx in a heavy duty diesel engine using high levels of EGR[C]//Proceedings of the Powertrain & Fluid Systems Conference & Exhibition, October 24, 2005, San Antonio, TX, USA.[S.l.]:SAE Technical Paper, 2005:2005-01-3836. |
| [10] | Alriksson M, Denbratt I. Low temperature combustion in a heavy duty diesel engine using high levels of EGR[C]//Proceedings of the SAE World Congress & Exhibition, April 3, 2006, Detroit, Michigan, USA.[S.l.]:SAE Technical Papers, 2006:2006-01-0075. |
| [11] |
虞育松, 李国岫, 刘建英.
直喷柴油机喷油系统对燃烧和排放影响的三维模拟研究[J]. 热科学与技术, 2006, 5(1): 64–68.
YU Yusong, LI Guoxiu, LIU Jianying. Three dimensional modeling of effect of injection systems on combustion and emission for DI diesel engine[J]. Journal of Thermal Science and Technology, 2006, 5(1): 64–68. (in Chinese) |
| [12] |
LeeT, ReitzR D, 谢亚平, 等.
多次喷射和涡流对共轨喷射系统的高速直喷式柴油机的影响[J]. 国外内燃机, 2006, 38(6): 22–32, 43.
Lee T, Reitz R D, XIE Yaping, et al. The effects of split injection and swirl on a HSDI diesel engine equipped with a common rail injection system[J]. Foreign Internal Combustion Engine, 2006, 38(6): 22–32, 43. (in Chinese) |
| [13] | Han Z Y, Reitz R D. Turbulence modeling of internal combustion engines using RNG k-ε models[J]. Combustion Science and Technology, 1995, 106(4/5/6): 267–295. |
| [14] | Huh K Y, Gosman A D. A phenomenological model of diesel spray atomization[C]//Proceedings of the International Conference on Multiphase Flows (ICMF-1991), September 24-27, Tsukuba, Japan.[S.l.], 1991:515-518. |
| [15] | Reitz R D, Diwakar R.Structure of high-pressure fuel sprays[J]. SAE Technical Papers, 1987:10.4271/870598. |
| [16] | Bai C X, Gosman A D.Development of methodology for spray impingement simulation[C]//Proceedings of the International Congress & Exposition, February 27, 1995, Detroit, Michigan, USA.[S.l.]:SAE Technical Papers, 1995:950283. |
| [17] | Sazhina E M, Sazhin S S, Heikal M R, et al. The shell autoignition model:applications to gasoline and diesel fuels[J]. Fuel, 1999, 78(4): 389–401. DOI:10.1016/S0016-2361(98)00167-7 |
| [18] | Kong S C, Han Z Y, Reitz R D. The development and application of diesel ignition and combustion model for multidimensional engine simulation[C]//Proceedings of the International Congress & Exposition, February 27, 1995, Detroit, Michigan, USA.[S.l.]:SAE Technical Papers, 1995:950278. |
| [19] | Berg P A, Smith G P, Jeffries J B, et al. Nitric oxide formation and reburn in low-pressure methane flames[J]. Symposium(International) on Combustion, 1998, 27(1): 1377–1384. |
| [20] | Monat J P, Hanson R K, Kruger C H. Shock tube determination of the rate coefficient for the reaction N2+O→NO+N[J]. Symposium(International) on Combustion, 1979, 17(1): 543–552. |
| [21] | Karlsson A, Magnusson I, Balthasar M, et al. Simulation of soot formation under diesel engine conditions using a detailed kinetic soot model[C]//Proceedings of the International Congress & Exposition, February 23, 1998, Detroit, Michigan, USA.[S.l.]:SAE Technical Papers, 1995:981022. |
2013, Vol. 36

