b. 重庆大学 动力工程学院, 重庆 400044
b. College of Power Engineering, Chongqing University, Chongqing 400044, China
随着人们对能源、环境问题的日益重视,碳氢燃料的高效清洁利用已成为当前的研究热点之一。天然气以其储量丰富、燃烧效率高、污染小和储能密度大而被认为是未来理想的替代能源,很多研究者对甲烷的催化燃烧特性进行了研究[1]。天然气的主要成分是甲烷,它是最稳定的饱和烃。由于破坏甲烷第1个C-H键所需的能量大于其他烷烃的键能[2],且随着反应器尺寸的缩小,面容比增大,散热损失增加,从而导致点燃甲烷、空气混合物较困难。氢气是最为理想的“绿色能源”,其分子量小,点火能量小,单位质量发热值高,且燃烧无污染。Mehra[3]研究已证实微尺度下氢气比碳氢燃料更容易实现稳定高效燃烧,覃川等[4]证明了氢气的加入提高了甲烷的火焰传播速度,改善了燃烧过程,Chen[5]模拟得出在甲烷/空气混合气体中加入氢气可使层流火焰传播速度线性增加,Kim[6]、Park等[7]研究得出氢气的加入可有效扩展甲烷贫燃极限,Boushaki等[8]应用实验和数值分析的方法研究表明富氢可提高甲烷-空气层流火焰传播速度和绝热火焰温度,Wang等[9]研究表明,氢气的加入有效增加了H、O和OH离子,从而促进了燃烧。然而,自然界中的氢气储量很低,不宜直接将其烧掉,从外部直接加氢会使系统变得复杂,从而增加成本和操作难度,因此,很多研究者将目光转向甲烷重整制氢来促进其燃烧。孙楠楠等[10]研究了反应条件对CH4-CO2重整反应的影响。闫云飞等[11]在微环形腔内研究了CH4/H2O/CO2重整反应。Sun等[12]制备了Ni-ZrO2和Ni-Mg-ZrO2催化剂,并将其应用于固定床甲烷三重整制合成气中,研究表明在t=800 ℃、1个大气压、CH4/CO2/H2O/O2/N2 = 1.0/0.45/0.45/0.1/0.4时,可得到99%的甲烷转化率。
对于微尺度下碳氢燃料的燃烧、重整特性的研究,其物理模型多为直管[13-14],而直管的混合效果不好、反应效率有待进一步提高。相对于平直管道而言,弯曲管道对流体的流动和换热会产生一定影响。由于离心力的作用,流体在弯曲管道中流动时,会形成垂直于流动方向的二次流动[15-17],从而加强流体的扰动和混合,增强换热效果,提高反应效率,且弯曲管道在许多微器件和微反应装置中又经常出现,因此有必要对弯曲微通道内的流动及反应特性进行深入研究。文中对弯管型微反应器内甲烷、水蒸气催化重整反应进行了数值研究,系统地探讨了速度、催化壁面温度、水碳比、隔板等相关因素对催化重整过程的影响。
1 物理模型和数学模型物理模型是一段圆弧形弯管(如图 1、图 2所示),长L=48 mm,横切面为一矩形环,内、外矩形的尺寸分别为1 mm×1 mm和1.2 mm×1.2 mm。内矩形的四面均镀有Ni基催化剂,反应所需热量从外矩形表面通过管壁传到镍基催化剂表面。为取得良好的传热效果,反应器为紫铜材质(物性参数为:密度ρ=8 900 kg/m3,导热系数λ=401 W/(m·℃),比热容C=420 J/(kg·℃))。文中采用1/4圆弧模型,能够实现气体较好的混合和扰动。
|
图 1 弯管型反应器纵截面图(单位:mm) |
|
图 2 弯管型反应器横截面图(单位:mm) |
采用非结构化四面体网格,并对可能产生回流区的网格进行加密处理。入口采用速度边界条件,出口为压力边界条件,壁面采用无滑移等壁温边界条件,采用层流模型,流体密度根据理想气体方程计算。采用单精度非耦合求解器来求解控制方程,求解方法采用SIMPLE算法。
计算中忽略体积力、流动中的耗散作用和气体辐射的影响,数学模型包括以下几个控制方程。
连续方程:
| $ \frac{{\partial \rho }}{{\partial t}} + \frac{\partial }{{\partial {x_j}}}\left( {\rho {u_j}} \right) = 0。$ | (1) |
扩散方程:
| $ \rho \frac{{\partial {Y_s}}}{{\partial t}} + \rho {u_j}\frac{{\partial {Y_s}}}{{\partial {x_j}}} = \frac{\partial }{{\partial {x_j}}}\left( {{D_s}\rho \frac{{\partial {Y_s}}}{{\partial {x_j}}}} \right) + {R_s}。$ | (2) |
动量方程:
| $ \begin{array}{c} \frac{\partial }{{\partial t}}\left( {\rho {u_j}} \right) + \frac{\partial }{{\partial {x_j}}}\left( {\rho {u_j}{u_i}} \right) = - \frac{{\partial p}}{{\partial {x_j}}} + \\ \frac{\partial }{{\partial {x_j}}}\left[ {\mu \left( {\frac{{\partial {u_i}}}{{\partial {x_j}}} + \frac{{\partial {u_j}}}{{\partial {x_j}}}} \right)} \right] 。\end{array} $ | (3) |
能量方程:
| $ \begin{array}{c} \rho \frac{{Dh}}{{Dt}} - \frac{{DP}}{{Dt}} = \frac{\partial }{{\partial {x_j}}}\left( {\lambda \frac{{\partial T}}{{\partial {x_j}}}} \right) + \\ \frac{\partial }{{\partial {x_j}}}\left( {\sum {{D_s}\rho \frac{{\partial {Y_s}}}{{\partial {x_j}}}} {h_s}} \right) + {s_h}, \end{array} $ | (4) |
其中
| $ h = \sum {{Y_s}{h_s}} , $ | (5) |
| $ {h_s} = \int {{C_{ps}}} {\rm{d}}T + {h_{os}}。$ | (6) |
封闭方程:
各组分质量分数和等于1
| $ \sum {{Y_s}} = 1, $ | (7) |
采用理想气体模型
| $ P = \rho RT\sum {\frac{{{Y_s}}}{{{M_s}}}} 。$ | (8) |
壁面边界条件
| $ u_t=0, $ | (9) |
| $ {g_{s,w}} = - {D_s}\rho \left( {\frac{{\partial {Y_s}}}{{\partial n}}} \right) + {Y_{s,w}}{\rho _w}{u_n} = \sum\limits_r {{R_{rs}}} 。$ | (10) |
其中:un、ut分别是壁面附近垂直于和平行于壁面的速度分量。Ds、Ys分别是混合物中s组分的扩散系数和质量分数,Sh是由化学反应引起的能量变化(kW/m3)。Rs是s组分通过化学反应的生成率或消耗率,Rrs指第r个表面反应中s组分的生成率或消耗率。在反应器两端的催化剂区域由扩散引起的质量传递为0,在反应器两端轴向方向上的导热也为0,即在反应器入口和出口处,反应器催化剂区域和壁面上的温度梯度为0。
2 催化重整反应机理采用Deutschmann等[18]提出的甲烷在镍基催化剂表面上的催化反应机理,包括42个表面化学基元反应,其中6个吸附反应,30个表面化学基元反应和6个解吸附反应,共涉及13种表面相组分和7种气相组分。
3 结果与分析采用等壁温边界条件,不考虑壁面向外界传热,能量以恒壁温方式加在反应器催化壁面上。甲烷转化率定义为反应器进、出口甲烷质量分数之差与进口甲烷质量分数之比。水碳比为水蒸气与甲烷的质量比。记进、出口分别为0°和90°角,从进口到出口每10°划分为1个区域,共划分为9个区域。
3.1 速度、温度及水碳比对反应的影响 3.1.1 入口流动速度的影响保持催化壁面温度为1 200 K、混合气体入口温度为300 K、水碳比β=2。
图 3、图 4表明随着入口速度的增加,甲烷转化率和氢气质量分数均降低。这是因为随着混合气体速度增加,各组分的宏观流动速度加快,在催化表面积不变的情况下,会大大减小混合气体与催化表面的接触时间,使表面反应不能充分进行,从而导致甲烷转化率降低。图中表明在反应器的前半段,速度对甲烷转化率和出口氢气质量分数影响很大,随着反应气体的流动,速度的影响逐渐降低。在反应器出口处(90°角处)速度v=0.5 m/s时,甲烷转化率达到96.94%,出口氢气质量分数为12.58%,继续降低入口流动速度对甲烷转化率和氢气质量分数增加不大,并且会导致反应程度降低过多,因此选取v=0.5 m/s作为后续操作条件。
|
图 3 入口流动速度对甲烷转化率的影响 |
|
图 4 入口流动速度对氢气质量分数的影响 |
甲烷水蒸气重整反应是一个复杂的过程,涉及到很多中间产物,分析这些中间组分可得到更详细的反应过程。文中选择出口处CH4(s)、Ni(s)、H(s)和OH(s)覆盖率进行分析。由图 5可知,入口流动速度的增加会导致出口处CH4(s)覆盖率升高,而Ni(s)、H(s)和OH(s)覆盖率降低。速度升高,吸附能力减弱,脱附能力增强,从而导致原料与催化表面接触时间减少,出口甲烷剩余量增多。尽管吸附能力有所下降,但是由于CH4含量的增多,出口处CH4(s)覆盖率呈现出升高的趋势。
|
图 5 入口流动速度对出口处覆盖率的影响 |
保持反应器入口混合气体的流动速度为v=0.5 m/s、水碳比β=2。
由图 6、图 7可知,当催化壁面温度T≤1 200 K时,随着温度的升高,甲烷转化率和出口氢气质量分数都随之升高;当温度T>1 200 K时,增加温度,反应程度略有下降。在低温阶段,温度升高后镍基催化剂活性升高,会促进反应的进行,但温度T>1 200 K以后,增加温度会导致催化剂高温失活,从而降低甲烷转化率。因此,选取T=1 200 K作为后续操作条件。
|
图 6 催化壁面温度对甲烷转化率的影响 |
|
图 7 催化壁面温度对氢气质量分数的影响 |
由图 8可知,低温下CH4(s)覆盖率很高,随着温度的增加急剧降低,而Ni(s)、H(s)和OH(s)覆盖率则先降低而后升高。这是因为温度升高,可提升吸附反应,从而使甲烷转化率升高,体系中CH4剩余量降低,使得CH4(s)覆盖率降低。而温度T>1 200 K以后,催化剂高温失活,同时Ni(s)、H(s)和OH(s)覆盖率升高,这些都不利于反应的进行。
|
图 8 催化壁面温度对出口处覆盖率的影响 |
保持催化剂壁面温度为1 200 K、反应器入口混合气体的流动速度为0.5 m/s,考察水碳比β的变化对反应的影响(忽略了湿空气密度由于水蒸气含量不同而引起的变化)。
由图 9、图 10可知,随着水碳比的增加,甲烷转化率逐渐增加,出口氢气质量分数随之降低。这是因为增加水碳比意味着进料中水蒸气含量增加,可促进反应的进行,从而促进了甲烷的转化。由于水碳比的增加,反应器出口水蒸气含量随之增加,从而导致氢气含量降低;但是消耗单位甲烷所生成的氢气随水碳比的增加而增加,如水碳比β=1、3时,每消耗1 kg甲烷生成的氢气分别为0.32、0.39 kg。
|
图 9 水碳比对甲烷转化率的影响 |
|
图 10 水碳比对氢气质量分数的影响 |
由于混合气体中的水蒸气会使甲烷水蒸气在进一步的层流预混燃烧时,降低火焰传播速度,且当水碳比β≥2时,继续增加水碳比对甲烷转化率增大作用不明显,因此水碳比不宜过高。但水碳比增加对积碳反应有抑制作用[19],可保持反应过程中催化剂具有较高的活性,因此选取水碳比β=2作为后续操作条件。
由图 11可知,水碳比的增加可提高Ni(s)、H(s)和OH(s)覆盖率。水碳比的增加,使得体系中H和OH增多,使H(s)和OH(s)覆盖率升高,同时促进表面反应的进行,使得体系中的甲烷含量降低,CH4(s)覆盖率随之降低,宏观表现就是甲烷转化率升高。
|
图 11 水碳比对出口处覆盖率的影响 |
保持水碳比β=2,研究速度和温度对催化重整反应的影响。
由图 12、图 13可知,甲烷转化率和氢气质量分数随着速度的增加而略有降低,随着温度的升高先升高而后略有降低。相对于速度,温度对甲烷重整反应的影响更大一些。
|
图 12 速度、温度对甲烷转化率的影响 |
|
图 13 速度、温度对氢气质量分数的影响 |
保持反应器催化壁面温度为1 200 K,研究速度和水碳比对催化重整反应的影响。
由图 14、图 15可知,甲烷转化率随速度的升高而降低,随水碳比的升高而升高;氢气质量分数随速度和水碳比的升高而降低。速度对甲烷催化重整反应基本保持负相关性。
|
图 14 速度、水碳比对甲烷转化率的影响 |
|
图 15 速度、水碳比对氢气质量分数的影响 |
保持反应器入口速度为定值0.5 m/s,研究水碳比和温度对催化重整反应的影响。
由图 16可知,在温度T≤1 200 K时,温度的增加对甲烷转化率有极大的促进作用,且随着水碳比的增加,甲烷转化率升高幅度越大。这是因为,低温时,催化剂活性不高,随着温度的升高,催化剂活性逐渐升高,从而促进甲烷反应的进行;而作为反应物的水碳比的增加同样对甲烷转化起到促进作用。当温度T>1 200 K以后,继续增加温度,甲烷转化率略有下降,且实际操作中,高温会导致催化剂部分失活,因此温度不宜过高。
|
图 16 温度、水碳比对甲烷转化率的影响 |
由图 17可知,随着温度的升高,氢气质量分数逐渐升高。当温度T>1 200 K以后,氢气质量分数随水碳比的增加而降低;当温度T<1 200 K时,氢气质量分数随水碳比的增加而先增加后降低。因为低温低水碳比(β=1)时,甲烷重整反应不容易进行,从而导致出口氢气质量分数较低;而随着水碳比的增加,甲烷转化量增加,此时水蒸气未完全反应,导致反应器出口水蒸气含量增加,从而使氢气质量分数降低。
|
图 17 温度、水碳比对氢气质量分数的影响 |
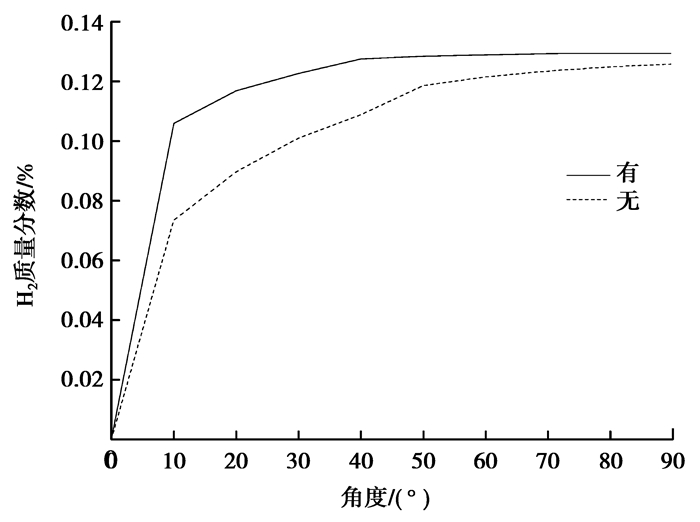
利用中间隔板(忽略隔板厚度的影响)将弯管反应器(模型1)分为2部分,记为模型2,则模型2的有效催化面积为模型1的1.5倍。保持反应器入口速度为0.5 m/s、催化壁面温度为1 200 K、水碳比β=2,讨论有、无隔板对系统的影响。
由图 18、图 19可知,有隔板时,甲烷转化率和相同位置处氢气质量分数均有所增加,随着角度(即反应器长度)的增加,这种差别逐渐降低。这是因为在反应器入口段,有隔板时单位质量原料量所接触的有效催化面积较大,可有效促进甲烷重整反应的进行,如在10°角处,有、无隔板时甲烷转化率分别为82.02%、56.93%,假设催化剂表面具有消耗甲烷和生成氢气的无差异性的特点,则可以把有、无隔板模型的甲烷转化率按单位催化壁面面积进行折算,则相应的有隔板时甲烷转化率为54.68%,与无隔板时相差很小。
|
图 18 有、无隔板对甲烷转化率的影响 |
|
图 19 有、无隔板对氢气质量分数的影响 |
在反应器出口处,有、无隔板时甲烷转化率和氢气质量分数相差不大,甲烷转化率和氢气质量分数在有隔板时分别为99.71%、12.94%,无隔板时分别为96.94%、12.58%。这是因为随着反应器长度的增加,反应体系中甲烷含量逐渐降低,从而使单位原料所接触的有效催化面积之差逐渐降低。
为了提高整个微动力系统的结构紧凑性,可以在现有模型的基础上再进行适当划分,以增加催化表面积,进一步设计具有两高一小(高甲烷转化率、高产氢量、小体积)的微型催化重整制氢装置。
4 结论1) 入口速度增加,甲烷的转化率和产氢量均降低,考虑到实际应用,不能一味降低入口速度来获取高产氢量,可通过调节反应器入口速度来改善反应器的性能。
2) 当温度T≤1 200 K时,温度的升高可促进甲烷的转化和氢气的生成;当温度T>1 200 K时,高温对甲烷重整反应起抑制作用。
3) 水碳比的增加可促进甲烷的转化,却会导致出口氢气质量分数降低。
4) 甲烷转化率和产氢量主要与催化表面积有关,加入隔板可有效提高甲烷的转化和氢气生成,但对单位催化面面积的甲烷转化率影响很小。设计具有两高一小的微型催化重整制氢装置,可进一步优化反应器结构、增加催化表面积。
| [1] |
闫云飞, 张力, 冉景煜.
催化壁面对微型燃烧腔内甲烷燃烧影响的数值模拟[J]. 重庆大学学报, 2009, 32(10): 1159–1164.
YAN Yunfei, ZHANG Li, RAN Jingyu. Numerical simulation of the influences of catalytic wall on methane combustion characteristics in micro-combustor[J]. Journal of Chongqing University, 2009, 32(10): 1159–1164. DOI:10.11835/j.issn.1000-582X.2009.10.009 (in Chinese) |
| [2] | Glassman I, Yetter R A. Combustion[M]. 4th ed. New York: Academic Press, 2008: 693-702. |
| [3] | Mehra A, Zhang X, Ayon A A, et al. A six-wafer combustion system for a silicon micro gas turbine engine[J]. Journal of Micro Electromechanical Systems, 2000, 9(4): 517–527. DOI:10.1109/84.896774 |
| [4] |
覃川, 王越男, 傅维标.
催化重整反应加氢对预混气火焰传播速度的影响[J]. 燃烧科学与技术, 2002, 8(1): 49–54.
QIN Chuan, WANG Yuenan, FU Weibiao. Influence of catalytic reforming reaction f or premixed gases with H2 on flame propagation velocity[J]. Journal of Combustion Science and Technology, 2002, 8(1): 49–54. (in Chinese) |
| [5] | Chen Z. Effects of hydrogen addition on the propagation of spherical methane/air flames:A computational study[J]. International Journal of Hydrogen Energy, 2009, 34(15): 6558–6567. DOI:10.1016/j.ijhydene.2009.06.001 |
| [6] | Kim H S, Arghode V K, Linck M B, et al. Hydrogen addition effects in a confined swirl-stabilized methane-air flame[J]. International Journal of Hydrogen Energy, 2009, 34(2): 1054–1062. DOI:10.1016/j.ijhydene.2008.10.034 |
| [7] | Park J, Cha H, Song S, et al. A numerical study of a methane-fueled gas engine generator with addition of hydrogen using cycle simulation and DOE method[J]. International Journal of Hydrogen Energy, 2011, 36(8): 5153–5162. DOI:10.1016/j.ijhydene.2011.01.019 |
| [8] | Boushaki T, Dhué Y, Selle L, et al. Effects of hydrogen and steam addition on laminar burning velocity of methane-air premixed flame:experimental and numerical analysis[J]. International Journal of Hydrogen Energy, 2012, 37(11): 9412–9422. DOI:10.1016/j.ijhydene.2012.03.037 |
| [9] | Wang J H, Huang Z H, Tang C L, et al. Numerical study of the effect of hydrogen addition on methane-air mixtures combustion[J]. International Journal of Hydrogen Energy, 2009, 34(2): 1084–1096. DOI:10.1016/j.ijhydene.2008.11.010 |
| [10] |
孙楠楠, 闻霞, 王峰, 等.
反应条件对Ni-CaO-ZrO2催化剂上CH4-CO2重整反应及积炭的影响[J]. 燃料化学学报, 2012, 40(3): 345–349.
SUN Nnanan, WEN Xia, WANG Feng, et al. Influence of reaction conditions on the CH4-CO2 reforming and coking properties of a Ni-CaO-ZrO2 catalyst[J]. Journal of Fuel Chemistry and Technology, 2012, 40(3): 345–349. (in Chinese) |
| [11] |
闫云飞, 张力, 牛立祥, 等.
微环形腔内有氧条件下CH4/H2O/CO2催化重整反应特性数值研究[J]. 航空动力学报, 2012, 27(3): 551–559.
YAN Yunfei, ZHANG Li, NIU Lixiang, et al. Numerical investigation on characteristics of CH4/H2O/CO2 reforming reaction in presence of O2 in micro-annular chamber[J]. Journal of Aerospace Power, 2012, 27(3): 551–559. (in Chinese) |
| [12] | Sun L Z, Tan Y S, Zhang Q D, et al. Tri-reforming of coal bed methane to syngas over the Ni-Mg-ZrO2 catalyst[J]. Journal of Fuel Chemistry and Technology, 2012, 40(7): 831–837. DOI:10.1016/S1872-5813(12)60032-2 |
| [13] | Chen G W, Li S L, Yuan Q. Pd-Zn/Cu-Zn-Al catalysts prepared for methanol oxidation reforming in microchannel reactors[J]. Catalysis Today, 2007, 120(1): 63–70. DOI:10.1016/j.cattod.2006.07.004 |
| [14] |
焦健, 钟北京.
甲烷微通道内催化燃烧有关转化率的讨论[J]. 工程热物理学报, 2007, 28(2): 357–359.
JIAO Jian, ZHONG Beijing. Discussion on CH4 conversion ratio of catalytic combustion in microtubes[J]. Journal of Engineering Thermophysics, 2007, 28(2): 357–359. (in Chinese) |
| [15] |
张保柱, 吴健康.
弯曲微通道周期性流动和液体混合效率分析[J]. 华中科技大学学报:城市科学版, 2005, 22(Sup1): 20–23.
ZHANG Baozhu, WU Jiankang. Periodical flow characteristics and liquid mixing efficiency in a serpentine micro-channel for biological chips[J]. Journal of Huazhong University of Science and Technology:Urban Science, 2005, 22(Sup1): 20–23. (in Chinese) |
| [16] |
潘忠兴, 侯成仁, 闫芳.
90°弯管内湍流流动的数值模拟[J]. 化学工业与工程技术, 2011, 32(3): 4–7.
PAN Zhongxing, HOU Chenren, YAN Fang. Numerical simulation study of turbulent flow field in 90° bendpipe[J]. Journal of Chemical Industry & Engineering, 2011, 32(3): 4–7. (in Chinese) |
| [17] |
孙业志, 胡寿根, 赵军, 等.
不同雷诺数下90°弯管内流动特性的数值研究[J]. 上海理工大学学报, 2010, 32(6): 525–529.
SUN Yezhi, HU Shougen, ZHAO Jun, et al. Numerical study on flow characteristics of 90° bend pipe under different Reynolds number[J]. Journal of University of Shanghai for Science and Technology, 2010, 32(6): 525–529. (in Chinese) |
| [18] | Janardhanan V M, Deutschmann O. CFD analysis of a solid oxide fuel cell with internal reforming:coupled interactions of transport, heterogeneous catalysis and electrochemical processes[J]. Journal of Power Sources, 2006, 162(2): 1192–1202. DOI:10.1016/j.jpowsour.2006.08.017 |
| [19] |
闫云飞, 张力, 冉景煜, 等.
微型燃烧器预混腔内催化重整、积碳及流动特性模拟[J]. 工程热物理学报, 2008, 29(1): 89–92.
YAN Yunfei, ZHANG Li, RAN Jingyu, et al. Simulation on flow characteristics with catalytic reforming and coke deposition reaction in the premixed chamber of micro combustor[J]. Journal of Engineering Thermophysics, 2008, 29(1): 89–92. (in Chinese) |
2014, Vol. 37

