2. 中国石化集团新星石油有限责任公司, 北京 100083
2. SINOPEC Star Petroleum CO., Ltd., Beijing 100083, China
随着环境与能源问题的日益严重,地热能、太阳能及各种中低温废热的利用受到人们重视,而利用有机朗肯循环发电系统将低品位能源转化为高品位电能的研究成为热点。以中低温为热源,将低沸点有机工质在换热器中加热至饱和或过热蒸汽,推动膨胀机做功,发电系统具有对环境污染较小等优点。因此对中低温热源及各种废热,有机朗肯循环发电系统的效率比普通蒸汽动力循环更具优势[1-2]。目前对有机朗肯循环发电系统的研究主要集中在系统热力学分析和有机工质选择2个方面[3-5]。Sun、Wang等[5-6]以系统净输出功为目标参数,从有机工质流量,冷却风流量,膨胀机入口压力、温度及系统热效率等参数分析系统性能对系统进行优化,文献[6]得到工质isobutane比R123和R245fa更适合发电系统。Li等[7]以系统净功为目标,同时考虑发电系统效益和地热流体流量,得到有机工质R601a和R601为较好的替代工质。王志奇等[8]分析了热源为140 ℃时,发电系统蒸发压力,冷凝压力等不同最佳参数及一定热源温度下,系统的最佳工质选择。Wang等[9]以R245fa为工质,对以太阳能为热源有机朗肯循环发电系统进行分析,实验得到系统效率和膨胀绝热效率,文献认为R245fa为工质时相对较好。Wu等[10]将热力学第一定律与第二定律与经济学相结合,分析换热器强化换热对系统的影响,分析不同雷诺数与入口温度参数的结果。曹斌滨等[11]分析以R245fa和R600为工质,热源为100 ℃以下的工业烟气时,有机朗肯循环发电系统使用螺杆膨胀机时最佳膨胀比分别为4和3。
地热流体具有温度及流量恒定等优点,但是发电系统的冷凝介质却随外界环境温度变化而变化,因此文中以饱和有机朗肯循环发电系统净输出功为主要评价指标,采用EES(engineering equation solver)软件进行模拟计算,分析在地热流体温度和流量恒定条件下,水为冷凝介质时,其温度随环境温度变化时有机工质在膨胀机入口的最佳温度及波动的变化趋势,同时分析发电系统膨胀机的膨胀比和有机工质质量流量参数的变化,为变冷源温度的有机朗肯循环发电系统提供参考。
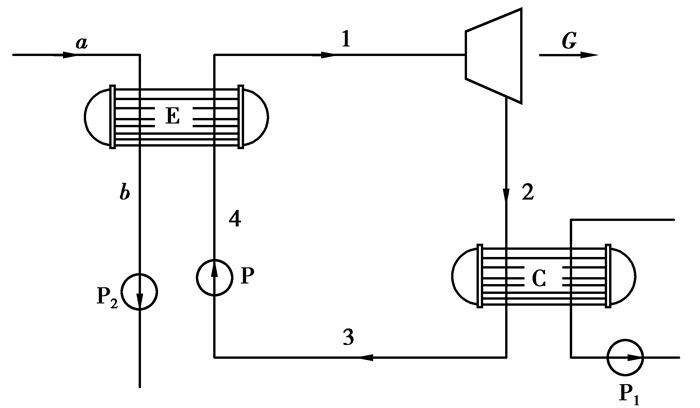
1 有机朗肯循环系统有机朗肯循环系统如图 1所示,亚临界饱和发电系统的原理为:经泵加压后的有机工质(低于临界压力)在加热器E中被加热到饱和温度后进入膨胀机做功,做功后的有机工质在冷凝器C中被冷却水系统冷凝为液体,而后工质再经工质泵p升压后进入加热器E加热成饱和气体,完成1个封闭的有机朗肯循环。地热流体则是经泵抽取处理后进入加热器E与有机工质换热,然后回灌到地下,实现循环利用。整个发电系统主要由加热器、膨胀机、冷凝器、工质泵等设备组成。
|
图 1 有机朗肯循环系统示意图 |
图 2是亚临界饱和蒸气有机朗肯发电系统循环T-s图,图中4-1过程是有机工质在加热器中加热至饱和状态,1-2过程是有机工质在膨胀机中实际膨胀做功工程,1-2s过程是工质在膨胀机中等熵做功过程,2-3过程是有机工质在冷凝器中冷凝过程,3-4s过程是工质在工质泵中定熵加压,3-4过程是工质在工质泵中实际加压过程。
|
图 2 饱和有机朗肯循环T-S图 |
文中在地热流体质量流量和温度恒定条件下分析系统净输出功与冷凝温度的关系及系统主要参数的变化趋势。系统净输出功Wnet定义为膨胀机输出功与系统泵耗功的差
| $ {W_{{\rm{net}}}} = {W_{\rm{t}}}-{W_{\rm{P}}}-{W_{{\rm{P1}}}}-{W_{{\rm{P2}}}}, $ | (1) |
式中:Wnet为系统净输出功,等于膨胀机输出功Wt减去工质泵功耗WP、冷却水泵功耗WP1和地热流体泵耗功WP2。其中,有机工质从蒸发器中出来,进入膨胀机做功。假设忽略工质的内能与动能,在稳态下的膨胀机输出功为
| $ {W_{\rm{t}}} = {m_{{\rm{wf}}}} \cdot \left( {{h_1}-{h_2}} \right)。$ | (2) |
工质泵,冷却水泵的功耗可以表示为
| $ {W_{\rm{P}}} = {m_{{\rm{wf}}}} \cdot {v_3} \cdot \left( {{p_1}-{p_2}} \right)/{\eta _{\rm{P}}}, $ | (3) |
| $ {W_{{\rm{P1}}}} = {m_{{\rm{cw}}}} \cdot g \cdot {H_1}/\left( {{\eta _{{\rm{P1}}}} \cdot 1000} \right), $ | (4) |
| $ {W_{{\rm{P2}}}} = mg \cdot g \cdot {H_2}/\left( {{\eta _{{\rm{P2}}}} \cdot 1000} \right)。$ | (5) |
工质流量mwf为
| $ {m_{{\rm{wf}}}}{\rm{ = }}{{\mathit{\bar c}}_{\rm{b}}} \cdot {m_{\rm{g}}} \cdot \left( {{t_{\rm{a}}}-{t_1}-\Delta {t_{{\rm{pp}}}}} \right)/\left( {{h_1}-{h_5}} \right), $ | (6) |
式中:mcw,mwf,mg为冷却水、有机工质及地热流体质量流量,kg/s;取地热流体的流量为1 kg/s。ta及tb分别为地热流体流经换热器的入口温度和出口温度,℃;h1、h4、h5为对应图 1中各点焓值,kJ/kg;ηp、ηp1和ηp2分别为工质泵、冷却水泵和地热流体泵效率;p1、p2及v3为工质在图 2中对应点的压力和质量体积;H1为冷却水泵扬程,m。
有机工质经泵加压后在加热器E中被加热到所选定的膨胀机入口温度t1,然后进入膨胀机做功。在换热器E中地热流体与有机工质换热过程中存在一个最小传热温差,称为窄点温差Δtpp,模拟计算通常取3~7 ℃[12],文中模拟计算取6 ℃;工质泵、冷却水泵及地热流体泵效率取75%,膨胀机内效率取78%[12],有机工质在换热器及管道中按等压计算;冷却水温升4 ℃,冷凝器为5 ℃,地热水泵扬程取20 m,冷却水泵扬程取25 m,忽略地热流体中杂质和不凝气体的影响。
3 计算结果与比较有机工质的选择是有机朗肯循环发电系统的研究重点之一,选用R245fa和R601a有机工质进行模拟分析计算与对比,有机工质的物性如表 1所示。以地热流体温度为130 ℃为例进行计算,冷却水温度为30 ℃和0 ℃对系统进行分析。
| 表 1 有机工质物性 |
图 3为地热流体温度和流量参数不变的情况下,冷凝温度为30 ℃和0 ℃时,采用有机工质R245fa和R601a时系统输出净功随膨胀机入口温度变化趋势。在冷凝温度为30 ℃时,有机工质R245fa在膨胀机入口温度为90 ℃时系统输出最大净功为14.81 kW,有机工质R601a在膨胀机入口温度为85 ℃时系统输出最大净功为14.44 kW;在冷凝温度为0 ℃时,有机工质R245fa在膨胀机入口温度为75 ℃时系统输出最大净功为32.6 kW,有机工质R601a在膨胀机入口温度为70 ℃时系统输出最大净功为31.63 kW。以30 ℃冷凝温度为参考标准,有机工质为R245fa时,系统输出净功增加120%,有机工质为R601a时,系统输出净功增加119%;而且,在不同的冷凝温度下,当系统输出净功最大时,随着冷凝温度的降低,有机工质在膨胀机入口的最佳温度升高且其波动达到15 ℃。因此,为使系统在不同冷凝温度下处于最佳工作状态,需要根据冷凝温度变化对有机工质在膨胀机入口处温度做出相应调整,从而提高系统适应外界环境温度变化的敏感度的要求。
|
图 3 机朗肯循环系统图 |
图 4是在冷凝温度为30 ℃和0 ℃时,采用有机工质R245fa和R601a时膨胀机的膨胀比随膨胀机入口温度的变化趋势。由图可知,2种工质在相同热源参数下,随膨胀机入口温度升高,膨胀机的膨胀比变大且变化大小基本相同,但是当冷凝温度变化时,膨胀机的膨胀比变化较大。以R215fa为例,当冷凝温度为30 ℃和0 ℃时,当系统输出功最大时,系统的膨胀比为分别为4.1和8.7,增加了2.1倍,这主要是由于冷凝温度降低,工质相对应的冷凝压力降低造成的。不同冷凝温度下膨胀比的变化对发电系统在初始设计时选择膨胀机的膨胀比范围及确定系统形式等提出了更高的要求。
|
图 4 机朗肯循环系统图 |
表 2为有机工质在不同冷凝温度下系统输出净功最大时对应的有机工质质量流量,其中单位时间地热流体供热量是对应与有机工质汽化潜热段时地热流体供热量。从表中数据可见,当冷凝温度降低时,有机工质的质量流量增加,主要是由于冷凝温度降低,有机工质在膨胀机最佳入口温度高,有机工质的汽化潜热减小,但是与有机工质汽化潜热段换热的地热流体的放热量增加,从公式(6)得出,当冷凝温度降低,工质流量增加。在冷凝温度减小到30 ℃时,有机工质R245fa的质量流量增加32.6%,有机工质R601a的质量流量增加33.3%。可见,由于冷凝温度降低导致发电系统膨胀机入口温度增加引起有机工质汽化潜热减小,导致有机工质质量流量增加且变化超过30%,在不同冷凝温度下运行时,如何保证系统在最佳状态参数下运行,这就需要有机工质泵能较好控制质量流量。
| 表 2 工质质量流量与冷凝温度关系 |
以R245fa和R601a为工质计算饱和有机朗肯循环发电系统在地热流体参数恒定条件下,当冷凝温度按照环境温度变化由30 ℃变为0 ℃时,系统净输出功和其他主要参数变化趋势做了分析,得到如下结论:
1) 当冷凝温度由30 ℃变为0 ℃时,有机朗肯循环发电系统中有机工质在膨胀机入口最佳温度升高且波动达到15 ℃,同时系统净输出功增长达120%;有机工质质量流量增加超过30%,对系统在不同冷凝温度下保持最佳状态运行时控制系统提出了更高要求。
2) 当冷凝温度为30 ℃,工质R245fa和R601a的膨胀比为4.1和3.5,但当冷凝温度为0 ℃时,2种工质的膨胀比增加约2倍,对系统在初始设计时选用膨胀机的性能参数及配比提出了更高要求。
| [1] | Saleh B, Koglbaue G, Wendland M, et al. Working fluids for low temperature organic Rankine cycles[J]. Energy, 2007, 32(7): 1210–1221. DOI:10.1016/j.energy.2006.07.001 |
| [2] |
高东明, 史晓军.
冷凝式空气加热器回收燃天然气锅炉排烟余热的分析[J]. 工业锅炉, 2005(6): 1–6.
GAO Dongming, SHI Xiaojun. Analysis of reclaiming residual heat of the flue gas of gas-fired boiler with a condensing air heat exchanger[J]. Industrial Boiler, 2005(6): 1–6. (in Chinese) |
| [3] | Husband W W, Beyene A. Low-grade heat-driven Rankine cycle, a feasibility study[J]. International Journal of Energy Research, 2008, 32(15): 1373–1382. DOI:10.1002/er.v32:15 |
| [4] | Chen H J, Goswami D Y, Rahman M M. A supercritical Rankine cycle using zeotropic mixture working fluids for the conversion of low-grade heat into power[J]. Energy, 2010, 36(1): 549–555. |
| [5] | Sun J, Li W H. Operation optimization of an organic rankine cycle (ORC) heat recovery power plant[J]. Applied Thermal Engineering, 2011, 31(11/12): 2032–2041. |
| [6] | Wang J F, Yan Z Q, Wang M, et al. Thermodynamic analysis and optimization of an (organic Rankine cycle) ORC using low grade heat source[J]. Energy, 2013, 49: 356–365. DOI:10.1016/j.energy.2012.11.009 |
| [7] | Li T L, Zhu J L, Zhang W. Performance analysis and improvement of geothermal binary cycle power plant in oilfield[J]. Journal of Central South University, 2013, 20(2): 457–465. DOI:10.1007/s11771-013-1507-x |
| [8] |
王志奇, 周乃君, 夏小霞, 等.
有机朗肯循环发电系统的多目标参数优化[J]. 化工学报, 2013, 64(5): 1710–1716.
WANG Zhiqi, ZHOU Naijun, XIA Xiaoxia, et al. Multi-objective parametric optimization of power genergation system based on organic Rankine cycle[J]. CIESC Journal, 2013, 64(5): 1710–1716. (in Chinese) |
| [9] | Wang X D, Zhao L, Wang J L, et al. Performance evaluation of a low-temperature solar Rankine cycle system utilizing R245fa[J]. Solar Energy, 2010, 84(3): 353–364. DOI:10.1016/j.solener.2009.11.004 |
| [10] | Wu S Y, Xiao L, Chen S M, et al. Exergo-economic criteria for performance evaluation of enhanced heat transfer duct with constant wall temperature[J]. Applied Thermal Engineering, 2012, 36: 393–402. DOI:10.1016/j.applthermaleng.2011.10.054 |
| [11] | 曹斌滨. 螺杆膨胀机余热回收系统分析[D]. 天津: 天津大学硕士学位论文, 2007: 25-41. http: //cdmd. cnki. com. cn/Article/CDMD-10056-2008184182. htm |
| [12] |
严家騄.
低温热能发电方案中选择工质和确定参数的热力学原则和计算式[J]. 工程热物理学报, 1982, 3(1): 1–7.
YAN Jialu. Thermodynamic principles and formulas for choosing working fluids and parameters in designing power plant of low temperature heat[J]. Journal of Engineering Thermophysics, 1982, 3(1): 1–7. (in Chinese) |
2014, Vol. 37

