气举也称气力提升泵(air-lift pump),是以压缩空气为工作介质来抽吸和压送液体或浆体的流体输送机械[1]。与其他类型的泵相比,气举泵的机械结构非常简单,本身没有运动部件,不会出现润滑和磨损的问题,气举装置的维护费用非常低,且有很高的可靠性。在深海采矿中,可运输深度达3 000~6 000 m的锰结核;在化学工业中,气举可以用来提升具有腐蚀性或有毒物质;在矿物开采工程中,可用来运输泥浆类物质;还可应用于清淤工程[2-5]。
对于气举提升机理的探讨,国外学者进行了大量的理论分析和实验研究。Weber等人[6]建立了气举压力损失模型和气举提升效率模型;唐川林等人[7-9]研究了进气量、浸入率、管径等重要参数对气举提升性能的影响;Mudde等人[10-12]分析了不同进气方式对气举提升能力的影响,得出了最优气流喷嘴的布置方式和结构特点;Fujimoto等人[13-14]还研究了管道局部弯曲对气举提升能力的影响,并采用PIV技术研究了单颗粒在提升管内的运动情况;Saito等人[15]采用不同粒径组合的石英石研究其对提升效率的影响。
国内外学者的大多数研究集中在进气量、浸入率、管径和固相自身特性等对气举提升能力的影响,而缺乏对气举泵自身结构的研究。笔者建立一套气举提升实验装置,对传统气举和优化的喷射气举进行实验研究,得出进气量和浸入率对喷射气举提升性能的影响,并对提升管内的流动形态进行分析,将传统气举与喷射气举的扬固能力和工作效率进行对比。
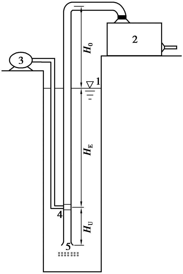
1 工作原理气举系统主要由空气压缩机、气举泵和提升管等构成。由图 1可见,提升管分为三段,第一段为提升管底端到进气口,称为抽吸段HU;第二段为进气口到水箱内液体自由面,称为提升段HE;第三段为水箱内液体自由面到提升管顶端,称为排放段HO。抽吸段流动形态为液固两相流,提升段和排放段为气-液-固三相流。提升管浸入水中的长度与总长度的比值即为系统的浸入率。
|
图 1 气举工作原理图 Figure 1 The operating principle the air-lift pump 1-水箱液面; 2-存储箱; 3-空气压缩机; 4-进气口; 5-固体矿床 |
气举系统工作原理为:气举泵工作前,提升管内的液体处于静态平衡状态,由于压缩空气的注入,提升管进气口处密度减小,在压差作用下,进气口以下部分的液体垂直向上运动,通过注入适量并且连续的气体,可以使液体从提升管内排出。当液体被提升后,沉积到底部的固体颗粒受到运动流体的摩擦阻力、自身重力、浮力、压力梯度力、虚假质量力、Basset力等作用,当固体颗粒受到的合力沿提升管向上时,固体颗粒便被提升上来。随着不断地送入适量压缩空气,这个过程将持续进行,从而实现连续抽出固-液混合物的目的[6]。
2 喷射气举的实验研究 2.1 实验设备与方法本实验所用喷射气举采用环形射流泵结构,传统射流泵由1个中心驱动喷嘴和1个环形吸入通道组成,而环形射流泵由1个环形驱动喷嘴和1个中心吸入通道组成。传统射流泵的中心驱动喷嘴阻碍固体的流动,而环形射流泵吸入通道没有阻碍,更适合固体的输送。传统气举进气方式为水平方向进气,气体在垂直方向的初始速度为0,而喷射气举的气体由环形缝隙喷嘴喷出后,在垂直方向具有一定的初始速度,该结构兼具了传统气举和射流泵的双重功能。
本实验对传统气举和已优化的喷射气举进行对比研究,传统气举采用传统的圆锥缩放型喷嘴,缩放角αc为35°;喷射气举采用环形缝隙喷嘴,环形缝隙锥角αp为13°。为保证相同的实验工况,传统气举和喷射气举喷嘴的当量直径相同,本实验为13.5 mm,且喷嘴距吸入口的距离即抽吸段长度HU也相同。图 2为传统气举和喷射气举的结构图。
|
图 2 气举结构图 Figure 2 The structure of the air-lift pump |
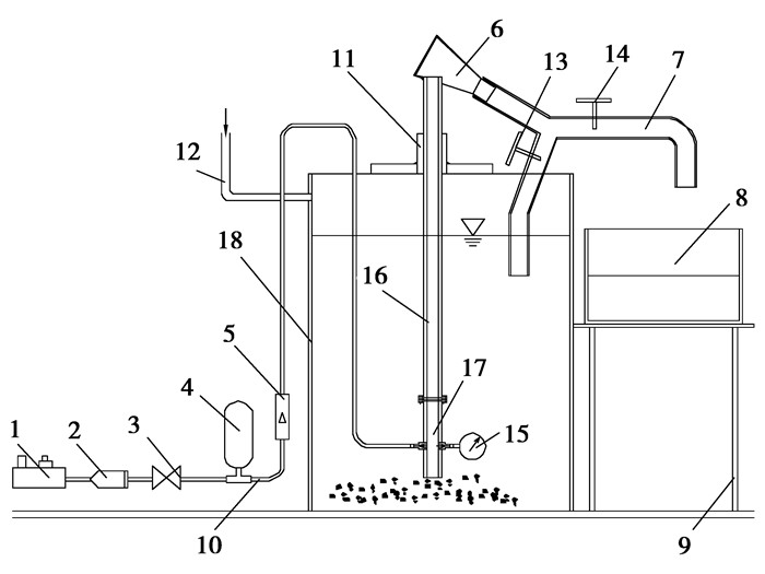
根据实验室条件结合工程实际,建立了一套气举提升实验装置,如图 3所示。实验选取精筛选的河沙作为提升对象,形状为不规则固体颗粒,平均粒径为3 mm,密度为2.05×103 kg/m3;提升管长度1 500 mm,内径40 mm。
|
图 3 气举提升装置示意图 Figure 3 The schematic diagram of the air-lift 1-空气压缩机;2-气液分离器;3-调压阀;4-蓄能器;5-气体流量计;6-存储箱;7-固液输送管;8-收集槽;9-支架;10-配气管;11-提升管固定套管;12-进水管;13-阀1;14-阀2;15-压力表;16-提升管;17-气举泵;18-水箱 |
初始状态时开启阀1,关闭阀2,空压机开启后,压缩空气经气液分离器,调压阀、储能器和气体流量计进入气举泵,气体在浮力作用下沿提升管向上运动,气举泵底部的固体和液体在提升管内被提升,然后进入存储箱,气体经存储箱的排气口排出,固体和液体返回水箱内,调节进气量到实验值待稳定之后,同时关闭阀1和开启阀2,固体和液体进入固液输送管排出并汇入收集槽并开始计时、收集样本,采集数据时间为60 s,实验过程中通过调节进水管的水流量以保持水箱内液面高度不变,从而保证固定的浸入率。
2.2 喷射气举提升性能实验 2.2.1 实验数据及分析针对喷射气举结构,研究了扬水量和扬固量随进气量的变化规律,并对不同浸入率下喷射气举的提升性能进行了分析,具体实验数据如图 4、5所示。
|
图 4 扬水量随进气量的变化规律 Figure 4 Relationship between water output and air input |
|
图 5 扬固量随进气量的变化规律 Figure 5 Relationship between solid output and air input |
由图 4、5可知,存在临界进气量,当进气量大于临界进气量时,输入的能量才足以提升液体,且浸入率γ越低,临界进气量越大,当γ=0.37时,临界进气量为4.0 m3/h,当γ=0.57时,临界进气量为1.6 m3/h;气举系统提升固体时,也存在临界进气量,当γ=0.37时,临界进气量为4.0 m3/h,当γ=0.57时,临界进气量为1.6 m3/h;存在最优进气量,即Qa=8.0 m3/h时,各浸入率下的扬水量达到最大,继续增大进气量,扬水量开始下降,存在最优进气量,即Qa=8.8m3/h时,各浸入率下的扬固量达到最大,继续增大进气量,扬固量开始下降;扬水量和扬固量随浸入率的增大而增大,这是由于浸入率越高,固液两相的提升吸程HO越短,输入能量较低的情况下就能提升固体和液体,进而气举系统的扬水和扬固能力越强。
2.2.2 流动形态分析本实验属于气-液-固三相流垂直管道的提升,但考虑到目前对三相流流动形态的研究极少,基本是应用两相流的研究成果,本实验中固体颗粒粒径很小,平均为3 mm,体积分数(同水相比)又很低,所以可将固体颗粒视为不连续的离散型,而水和气体以大体积存在于管内,可认为此两相是连续的。气体本身不足以提升固体颗粒,固体颗粒只是悬浮于液相中随之流动,三相流中流动载体为液相,驱动动力则为气体,因此,可将本实验的流动形态近似作为气-液两相流处理。
气-液两相流流动形态可分为气泡流、团状流、泡沫流和环状流等[9]。国外研究学者认为,确定液流体体系的流动形态,主要因素是各相流速,而密度、黏度、管径和界面张力为可以忽略的因素。许多学者根据各自的实验研究得出不同的流型分界方程,其中较有代表性的是Golan[16]的研究成果。
根据Golan的研究,气泡流到团状流的分界方程为
| $ u{{'}_{\text{ao}}}=0.0061+0.007u{{'}_{\text{wo}}}, $ | (1) |
团状流到泡沫流的分界方程为
| $ u{{'}_{\text{ao}}}=0.136+0.022u{{'}_{\text{wo}}}, $ | (2) |
式中:u′ao为气体的修正费汝德数;u′wo为液体的修正费汝德数。
其中,
| $ u{{'}_{\text{ao}}}={{u}_{\text{a}}}/\sqrt{gD({{\rho }_{\text{w}}}/{{\rho }_{\text{a}}})}, $ | (3) |
| $ u{{'}_{\text{wo}}}={{u}_{\text{w}}}/\sqrt{gD}, $ | (4) |
式中:ua为气相的表观速度,m/s;uw为液相的表观速度,m/s;D为提升管内径,m;g为重力加速度,m/s2;ρw为液相的密度,kg/m3;ρa为气相的密度,kg/m3。
将实验所得的进气量与扬水量之间的关系转换为气体的修正费汝德数u′ao与液体的修正费汝德数u′wo之间的关系,得到的结果如图 6所示。可以看出,大部分数据都在两条分界线之间,即团状流区域内,这说明气举系统提升管内流动形态为团状流时,才能有效提升液体和固体;而泡沫流区域内也有少部分数据点,这说明流动形态由团状流向泡沫流转变时,也能提升液体和固体,但气举系统的提升能力已开始减弱。
|
图 6 气体与液体的修正费汝德数关系 Figure 6 Relationship between modified Frode number of liquid and air |
由图 7可见,各组浸入率下,传统气举与喷射气举的进气量与扬固量关系曲线相似,都随着进气量的增加,扬固量呈现先增大后减小的趋势;当进气量Qa<6.4 m3/h时,喷射气举扬固量稍高于传统气举,当Qa>6.4 m3/h时,喷射气举扬固量明显高于传统气举,这说明在进气量较高的条件下,喷射气举与传统气举相比优势更明显;当γ=0.37、Qa=8.8 m3/h时,喷射气举峰值扬固量为传统气举的2.75倍;当γ=0.42、Qa=8.8 m3/h时,喷射气举扬固量为传统气举的1.8倍;当γ=0.57、Qa=8.8 m3/h时,喷射气举扬固量为传统气举的1.04倍,这说明浸入率越低,相同条件下喷射气举与传统气举相比优势越明显。
|
图 7 进气量与扬固量关系曲线 Figure 7 Relationship between solid output and air input |
气举装置模型和轴向压力分布如图 8所示,提升管内提升段HE和排放段HO流动形态为三相流,压力损失由三部分组成:三相的摩擦阻力;三相的加速度;三相的重力。抽吸段HU流动形态为两相流,压力损失由4部分组成:两相的摩擦阻力;固相的重力;液相的重力;两相的加速度。
|
图 8 气举装置模型和轴向压力分布 Figure 8 The mathematical model of air-lift and axial pressure distribution |
压缩空气的能量,即输入能量为
| $ {{P}_{\text{a}}}={{V}_{\text{a}}}p\rm{o}\ln ({{p}_{E}}/{{p}_\rm{o}}) $ | (5) |
式中:Va为压缩空气体积流量,m3/s;pE为进气口处的压力,Pa;pO为大气压力,Pa。
其中,
| $ {{p}_{\text{E}}}={{p}_{\text{o}}}+g\bullet {{\rho }_{\text{w}}}({{H}_{\text{E}}}+{{H}_{\text{U}}})-\Delta {{p}_{\text{U}}}, $ | (6) |
式中:ρw为液相的密度,kg/m3;HE为提升段长度,m;HU为抽吸段长度,m;ΔpU为抽吸段压降,Pa;
提升固相的有效能量为
| $ {{P}_{\text{s}}}={{V}_{\text{s}}}g[({{H}_{\text{E}}}+{{H}_{\text{U}}})({{\rho }_{\text{s}}}-{{\rho }_{\text{w}}})+{{H}_{\text{O}}}{{\rho }_{\text{s}}}], $ | (7) |
式中:Vs为固体颗粒体积流量,m3/s;ρs为固体颗粒密度,kg/m3;HO为排放段长度,m。
提升液相的有效能量为
| $ {{P}_{\text{w}}}={{V}_{\text{w}}}g{{\rho }_{\text{w}}}{{H}_{\text{O}}}, $ | (8) |
式中:Vw为液相体积流量,m3/s。
气举提升总效率通常有如下定义
| $ \eta =\frac{{{P}_{\text{w}}}+{{P}_{\text{s}}}}{{{P}_{\text{a}}}}。 $ | (9) |
以上计算的只是气举提升系统的效率,在实际应用中需考虑空压机效率、配气管效率和空气溶解的影响。本实验的目的只是研究气举提升固体颗粒的效率,表达式为
| $ {{\eta }_{\text{s}}}=\frac{{{P}_{\text{s}}}}{{{P}_{\text{a}}}}=\frac{{{V}_{\text{s}}}g[({{H}_{\text{E}}}+{{H}_{\text{U}}})({{\rho }_{\text{s}}}-{{\rho }_{\text{w}}})+{{H}_{\text{O}}}{{\rho }_{\text{s}}}]}{{{V}_{\text{a}}}p\rm{o}\ln ({{p}_{E}}/{{p}_\rm{o}})}。 $ | (10) |
将实验数据及其他已知条件带入公式(10),可以计算得到在某一浸入率、进气量条件下2种气举泵的扬固效率ηs,具体的数据如图 9所示。
|
图 9 进气量与扬固效率关系曲线 Figure 9 Relationship between solid puticles lift efficiency and air input |
可以看出,各组浸入率下,传统气举与喷射气举的进气量与扬固效率关系曲线相似,都存在最优的进气量使扬固效率最大;当进气量Qa<6.4 m3/h时,喷射气举提升效率稍高于传统气举,当进气量Qa>6.4 m3/h时,喷射气举提升效率明显高于传统气举,这是因为喷射气举兼具气举和射流泵两种功能,当进气量较小时,环形喷嘴出口流速较低,产生的负压也较小,喷射气举的射流泵功能减弱,主要是其气举的功能在发挥作用,当进气量较大时,环形喷嘴出口流速较高,产生的负压增大,喷射气举的射流泵功能得以发挥,在气举和射流泵双重功能作用下,提升效率明显高于传统气举;浸入率越高,喷射气举和传统气举提升效率越高,且两种泵提升效率的差距越小,当γ=0.37、Qa=8.8 m3/h时,喷射气举效率为传统气举的2.8倍;当γ=0.57、Qa=4.8 m3/h时,喷射气举效率为传统气举的1.06倍。
4 结论1) 气举系统中存在临界进气量,当进气量大于临界进气量时,才足以提升固体和液体,且浸入率γ越低,扬水和扬固的临界进气量都越大;随着进气量的增加,扬水量和扬固量都呈现先增大后减小的趋势;在进气量相同的条件下,扬水量和扬固量随浸入率的增大而增大。
2) 当提升管内的流动形态为团状流时,气举系统才能有效提升固体,当流动形态由团状流向泡沫流转变时亦能提升固体,但提升能力开始下降。
3) 本实验的喷射气举扬固量和扬固效率高于传统气举,在高进气量和低浸入率条件下尤为明显,当γ=0.37、Qa=8.8 m3/h时,喷射气举扬固量为传统气举的2.75倍;当γ=0.37、Qa=8.8 m3/h时,喷射气举扬固效率为传统气举的2.8倍。
| [1] |
杨林, 唐川林, 张凤华.
水下开采提升气举机电装置的特性及应用[J]. 矿冶工程, 2005(2): 13–16.
YANG Lin, TANG Chuanlin, ZHANG Fenghua. Performance and application of airlift device used for under water mining and lifting[J]. Mining and Metallurgical Engineering, 2005(2): 13–16. (in Chinese) |
| [2] |
唐川林, 廖振方.
滨海砂矿开采新方法的研究[J]. 重庆大学学报, 1999, 223(3): 81–86.
TANG Chuanlin, LIAO Zhenfang. The study on the new method for exploiting deep beach placer[J]. Journal of Chongqing University, 1999, 223(3): 81–86. (in Chinese) |
| [3] | Kassab S Z, Kandil H A, Warda H A, et al. Experimental and analytical investigations of airlift pumps operating in threephase flow[J]. Chemical Engineering Journal, 2007, 131(1): 273–281. |
| [4] | Kamata C, Ito K. Cold model experiments on the application of gas lift pump to the transportation of molten metal[J]. ISIJ international, 1995, 35(7): 859–865. DOI:10.2355/isijinternational.35.859 |
| [5] |
向文英, 程光均, 李晓红, 等.
水射流气举在水库河道环境疏浚与清淤中的应用[J]. 重庆大学学报, 2005, 28(8): 129–131.
XIANG Wenying, CHENG Guangjun, LI Xiaohong, et al. Research of application about environment dredging on river and reservoir with water jet airlift[J]. Journal of Chongqing University, 2005, 28(8): 129–131. (in Chinese) |
| [6] | Weber M, Dedegil Y. Transport of solids according to the airlift principle[J]. Copyright BHRA Fluid Engineering, 1976, 4(1): 23. |
| [7] |
裴江红, 廖振方, 唐川林.
钻孔水力开采提升设备实验分析[J]. 重庆大学学报, 2010, 33(3): 19–23.
PEI Jianghong, LIAO Zhenfang, TANG Chuanlin. Experimental analysis on borehole hydraulic lift equipment[J]. Journal of Chongqing University, 2010, 33(3): 19–23. (in Chinese) |
| [8] |
唐川林, 胡东, 杨林.
气举工作特性的实验与应用[J]. 煤炭学报, 2008(3): 347–352.
TANG ChuanLin, HU Dong, YANG Lin. Experimental and application of the airlift performance[J]. Journal of China Coal Society, 2008(3): 347–352. (in Chinese) |
| [9] | Hanafizadeh P, Ghanbarzadeh S, Saidi M H. Visual technique for detection of gas-liquid twophase flow regime in the airlift pump[J]. Journal of Petroleum Science and Engineering, 2011, 75(3): 327–335. |
| [10] | Hu D, Tang C L, Cai S P, et al.The Effect of Air Injection Method on the Airlift Pump Performance[J].Journal of Fluids Engineering, 2012, 134(11): 111302-1-7. |
| [11] | Ohnuki A, Akimoto H. Experimental study on transition of flow pattern and phase distribution in upward air-water twophase flow along a large vertical pipe[J]. International journal of multiphase flow, 2000, 26(3): 367–386. DOI:10.1016/S0301-9322(99)00024-5 |
| [12] | Mudde R F, Saito T. Hydrodynamical similarities between bubble column and bubbly pipe flow[J]. Journal of Fluid Mechanics, 2001, 437: 203–228. |
| [13] | Fujimoto H, Murakami S, Omura A, et al. Effect of local pipe bends on pump performance of a small airlift system in transporting solid particles[J]. International journal of heat and fluid flow, 2004, 25(6): 996–1005. DOI:10.1016/j.ijheatfluidflow.2004.02.025 |
| [14] | Fujimoto H, Ogawa S, Takuda H, et al. Operation performance of a small airlift pump for conveying solid particles[J]. Journal of energy resources technology, 2003, 125(1): 17–25. DOI:10.1115/1.1514498 |
| [15] | Saito T, Kajishima T, Tsuchiya K. Pumping characteristics of a largescale gaslift system[J]. Experimental thermal and fluid science, 2004, 28(5): 479–488. DOI:10.1016/j.expthermflusci.2003.07.005 |
| [16] |
白春雪, 刘庭成.
三相磨料射流的研究[J]. 中国安全科学学报, 1997, 7(6): 6266.
BAI Chunxue, LIU Tingchen. Study on 3Phase abrasive water jet[J]. China Safety Science Journal, 1997, 7(6): 6266. (in Chinese) |
2015, Vol. 38


