2. 北京理工大学 机械与车辆学院,北京 100081
2. School of Mechanical Engineering, Beijing Institute of Technology, Beijing 100081, P.R.China
汽车是人车交互协同控制的复杂操纵系统,在汽车开发仿真分析过程中,如果仅采用数字仿真、物理仿真、硬件在环仿真(hardware-in-the-loop,HIL)来建立部件或系统模型,并与道路模型共同构成仿真系统,在早期的整车性能仿真过程中没有考虑驾驶员在仿真环路(human-in-the-loop,HIL)的影响因素,无疑会增加后续整车驾乘舒适性、安全、性能匹配的开发成本[1-2]。
人在汽车操纵控制的过程中起着至关重要的作用,为了要保障汽车的安全运行,驾驶员必须时刻结合道路的变化情况,对汽车进行人机协同控制,构成如图 1所示的人车路系统。
|
图 1 人车路(环境)系统 Figure 1 Driver-vehicle-road system |
其中,道路及环境是汽车的运行空间,道路的曲直、宽窄、湿滑、陡平,一方面通过视觉给人以直观的感受,另一方面道路也是汽车动力系统的加载器,是底盘悬挂等系统的激振器,车载控制器通过感知整车运行参数和驾驶操纵信息感知道路状况和驾驶意愿,结合整车运行状况,对汽车相应电控系统进行控制;而驾驶员除了通过视觉对道路状况进行感知以外,还可以通过触感、动感、听觉感受汽车运行的情况,并结合自己的驾驶意愿,对汽车进行操纵。因此,汽车的运行是人车路交互作用的复杂系统,要保障汽车的安全运行必须从人车路的系统层面进行研究,为此产生了一系列的课题,如面向道路,研究道路状况、交通标识、路况识别等[3];面向驾驶,研究驾驶意愿、行为、心理及人机工程等[4-6];面向汽车,研究汽车的结构、性能参数匹配、稳定性、平顺性、安全性、燃油经济性等, 以及面向系统的优化等的研究[7-8]。而驾驶模拟仿真为上述人车路系统的研究奠定了基础。
随着80年代以虚拟现实VR (virtual reality)先驱Jaron Lanier[9]为代表提出的虚拟现实技术发展,以虚拟模式来安全实现人机交互成为现实,极大促进了人在环路仿真的研究:密西根大学的Bo-Chiuan Chen采用虚拟场景实验仿真研究了车辆的侧翻性能[10];德国Kassel大学的Dirk Tellmann在虚拟环境中对汽车主动转向灯光辅助驾驶系统进行了研究[11];韩国车辆技术研究院Moon-Sik Kim在驾驶模拟仪虚拟的三维空间中,模拟驾驶和GPS信号,对车载的远程信息系统进行了测试[12]。由于虚拟仿真技术基于图像处理和模型仿真计算,消除了实验过程中的危险因素,为极端情况下人车路系统或子系统的研究提供了安全、高效的分析手段,使汽车开发中的车辆人机工程、车辆设计、道路设计更为科学和合理。
文中结合混合动力系统人车路闭环仿真的需求,以NI实时控制器为基础,开展了人在环路驾驶模拟仿真实验系统的开发。
1 总体方案为实现人在仿真过程中的控制交互,构建的HIL驾驶模拟仿真系统如图 2所示。
|
图 2 系统功能划分 Figure 2 System function diagram |
虚拟场景和声音系统给驾驶员提供视觉和听觉上的刺激,使驾驶员获得接近真实驾驶的感受。以场景变换及变化快慢作为驾驶员驾驶感知及人机交互的界面,驾驶员根据虚拟道路状况进行驾驶模拟操作,实时系统结合人的操纵参数和汽车及道路的模型,进行汽车动力学仿真模型运算,并将车速及操纵状态反馈给视景系统,实时变化整车运行场景,场景的道路参数反馈给动力学仿真系统,构成了人在环路的仿真系统。
驾驶模拟仿真中,操控输入信号包括转向、加速和制动,驾驶员通过操纵相应硬件,实现与仿真系统的交互;场景系统不仅包括给人感官刺激的场景变换,还包括动力学仿真的道路参数;实时系统内集成了数据采集及车辆动力学模型,是计算仿真的核心。系统通过虚拟场景下,人车协同控制,进行车辆动力学模型的解算,以求分析相应车辆的性能。
2 系统组成 2.1 主机目标机系统为保证仿真的实时和可靠性,仿真采用宿主机目标机的方式。系统结构如图 3所示。
|
图 3 系统结构框图 Figure 3 System structure diagram |
主机采用普通台式机,使用软件包括LabVIEW、虚拟引擎Unity 3D、3ds max、MySQL Server。其中,LabVIEW软件用于建立车辆动力学模型和编写相关数据采集程序,通过网线下载到下位机运行。Unity 3D和3ds max完成虚拟试验场景建立,MySQL Server完成仿真数据存储和中转。目标机采用NI公司实时系统,包括机箱NI PXIe-1082、实时控制器NI PXIe-8108、R系列多功能数据采集卡NI PXI7842R。车辆动力学模型通过采集卡I/O接口与硬件操作信号实现数据交互。主机与NI PXIe-8108实时控制器通过网线通信,主机编写好车辆动力学仿真模型后,部署到NI PXIe-8108实时控制器上运行,将仿真数据通过网络共享变量返回主机存储。NI实时系统如图 4所示。
|
图 4 NI实时系统 Figure 4 NI real-time system |
采用北通游戏输入设备BETOP C432Plus作为驾驶员输入设备,如图 5所示。该设备包括方向盘、油门踏板、制动踏板和换挡杆,有数字和模拟信号2种可选模式。其中方向盘具有自动回正和力矩反馈功能,可以满足人在仿真回路操作驾驶的要求。
|
图 5 驾驶操纵装置 Figure 5 Driving controller |
仿真视景系统是驾驶模拟仿真的重要组成部分,要求所产生虚拟的实时运动交通场景,使驾驶员产生接近真实的驾驶沉浸感受。
3.1.1 Unity 3D简介Unity 3D是由Unity Technologies开发的一个创建三维视频游戏、建筑可视化、实时三维动画等类型互动内容的多平台的综合型开发工具。Unity3D对DirectX和OpenGL拥有高度优化的图形渲染管道。文中采用游戏引擎Unity 3D完成虚拟试验场的建立。
场景中物体的运动控制通过编程实现,Unity 3D支持C#、JavaScript、Boo、Python脚本语言,文中建立的视景系统主要采用C#脚本完成[13]。
3.1.2 虚拟实验场景虚拟实验场景中的物体主要包括车辆三维模型、地形、道路模型、天空、周围环境以及天气状况。
车辆三维模型由3ds max软件建立并添加贴图,通过FBX插件发布为fbx文件格式,直接导入Unity 3D中。导入Unity 3D后的汽车模型如图 6所示。
|
图 6 Unity 3D中的虚拟汽车三维模型 Figure 6 3d model of vehicle in unity |
地形和道路模型根据襄樊汽车试验场建立,襄樊汽车试验场建于1985年,占地面积2 902 km2,内有高速环道、直线性能路、2号环路、比利时环道等近30 km试验路面和溅水池、标准坡、灰尘洞等试验设施[14]。文中对主要试验道路进行了三维建模,如图 7所示。
|
图 7 Unity 3D虚拟汽车试验场与Google地图轮廓对比 Figure 7 Unity model and real test field |
天空状况通过Unity 3D自带天空盒(Skybox)完成,可以模拟晴天、雨天等天空状况,配合粒子系统实现雨、雪、雾等天气。通过对相机进行脚本编程,可以实现不同角度的相机的自由切换,即人观察虚拟场景的视角切换。如图 8、图 9所示。
|
图 8 汽车虚拟实验场景 Figure 8 A scene of the virtual test field |
|
图 9 驾驶室内部场景 Figure 9 Interior scene of the cab |
在Unity 3D中,虚拟场景中的物体要遵循一定的物理定律,如汽车受到重力影响,汽车与地形之间不能相互侵占对方内部空间。Unity 3D是通过内置NVIDIA PhysX物理引擎实现物理效果的。
刚体(rigidbody)属性使虚拟物体产生重力效果,添加碰撞器(collider)使刚体在碰撞器影响范围内,避免其他带有碰撞器的刚体侵占内部空间。Unity 3D的碰撞器包括Box Collider、Sphere Collider、Capsule Collider、Mesh Collider、Wheel Collider、Terrain Collider,分别对应不同形状的碰撞器。根据物体形状选择适合的碰撞器,对于形状复杂的物体采用多个碰撞器配合使用,如虚拟场景中的汽车采用Wheel Collider、Box Collider等多种碰撞器配合完成。添加碰撞器后,实现了实际物体碰撞的效果,避免汽车穿墙而入等不合乎物理定律的现象发生。
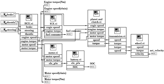
3.2 车辆仿真模型为说明系统在人在环路的汽车仿真中的应用,文中通过所建系统中的LabVIEW软件建立了ISG型速度耦合混合动力汽车仿真模型,系统传动结构如图 10所示。其中,发动机与行星排的齿圈相连,电机与太阳轮相连,动力由行星架输出至AMT变速器。发动机输出轴上装有一个单向离合器,防止发动机反转,发动机和电机之间安装湿式多片离合器,湿式多片离合器的接合与分离、动力源的开启与关闭实现系统的不同工作模式。
|
图 10 传动系结构图 Figure 10 Transmission structure diagram |
建模过程主要考虑汽车的动力性和燃油经济性,而没有考虑汽车的振动等方面的影响,对转向系统也进行了简化。主要用于控制策略研究及燃油经济性分析。建立的汽车动力学模型包括发动机、电机、电池、行星齿轮机构、控制系统、变速箱和整车行驶动力学模型。对于发动机、电机、电池模型数据,由于理论数学模型的复杂性,分别采用实验方法获得,并在LabVIEW中以插值的方式建模。整车行驶动力学建模只考虑纵向动力学,即驱动力和行驶阻力对汽车加速度和速度的影响。所建立的HEV模型如图 11所示。
|
图 11 HEV模型程序框图 Figure 11 HEV control model diagram |
上述仿真模型运行于PXIe8108实时控制器上,PXI7842R数据采集卡及LabVIEW数据采集程序获取外部输入硬件的信号,控制仿真中的节气门开度、制动踏板行程等参数。主机通过LabVIEW软件实现仿真过程控制以及仿真数据的数据库存储。目标机通过网络共享变量实现数据交互。
3.3 仿真人机界面在实验过程中,通过上位机软件LabVIEW实时控制仿真过程,显示相关数据,存储实验数据。人机界面设计如图 12所示。
|
图 12 仿真人机操作界面 Figure 12 Human-machine interface for simulation |
以数据库MySQL Server作为中介,将需要交互的数据存储于数据库中。通过数据库,实现仿真模型数据和视景中道路参数的相互调用。首先建立数据库Data。然后在数据库Data中建立2个表格LabVIEWdata和U3Ddata,分别存储和读取LabVIEW仿真数据和Unity3D场景中道路参数,用于数据交互。其中LabVIEW以ODBC方式存储和读取数据库数据。利用DSN (data source name)连接数据库,配置好数据源后,通过LabVIEW Database下的控件工具建立相应数据的读取和存储[15]。
Unity 3D通过C#脚本程序读写数据库。读取到车辆仿真模型所需运算数据,并将数据添加到虚拟场景中的汽车,使虚拟汽车按照仿真状态运动。同时将道路坡度等参数不断写入数据库,供LabVIEW调用实现仿真过程与虚拟场景的双向数据交互。
4 仿真实验 4.1 仿真实验设计为验证人在环路驾驶模拟仿真系统的功能,开展了汽车的人在环路虚拟实验。选取3.2所建立的汽车仿真模型为仿真对象,虚拟试验场(如图 7所示)中2号环路为试验道路,2号环路可用于可靠性、耐久性、制动性、操纵稳定性等试验。实验中驾驶人员根据驾驶意愿在测试路段行驶,整个实验系统如图 13所示。
|
图 13 人在环路模拟驾驶仿真实验系统 Figure 13 Human-in-the-loop driving simulation system |
根据上述要求完成仿真实验,得到仿真实验结果如图 14所示。
|
图 14 仿真实验结果 Figure 14 The simulation results |
经过实验数据分析可知,测试过程的综合燃油消耗为0.397 L,驾驶里程为7.593 km,百公里燃油消耗量为5.220 L。系统能够完成人在环路下的仿真实验,在进行模拟驾驶的同时,获得了有驾驶员参与的汽车仿真数据,并且能够通过LabVIEW建模仿真实现对不同结构汽车性能的研究。
5 结论基于NI实时控制系统,开发了人在环路驾驶模拟仿真实验系统,采用Unity 3D建立了虚拟汽车试验场。利用该系统对ISG型速度耦合混合动力汽车进行了人在环路仿真实验,通过在2号环路上的实验表明:系统初步达到了预期的开发需求,驾驶员和仿真系统构成了一个人机交互协调控制的系统,为后续的人在环路研究奠定了基础。
| [1] |
姜立标, 代攀, 陈泽茂.
汽车操纵稳定性可视化仿真技术分析[J]. 重庆大学学报, 2012, 35(9): 30–35.
JIANG Libiao, DAI Pan, CHEN Zemao. Analysis on the vehicle steering stability visualization simulation technology[J]. Journal of Chongqing University, 2012, 35(9): 30–35. (in Chinese) |
| [2] | Ping W, Guangqiang W.An Interactive Racing Car Driving Simulator Based on TCP/IP[R].SAE Technical Paper, 2009. |
| [3] | Ying Y, Yuhui Z.Virtual simulation experiment analysis of Chevron deceleration marking Based on Driving Simulator[C]//Intelligent Computation Technology and Automation (ICICTA), 2011 International Conference on.IEEE, 2011, 1: 991-994. |
| [4] | Norfleet D, Wagner J R, Jensen M, et al.Automotive Simulator Based Novice Driver Training with Assessment[R].SAE Technical Paper, 2011. |
| [5] |
徐志, 杨孝宽, 赵晓华, 等.
应急疏散状态下驾驶员反应时间[J]. 重庆大学学报, 2011, 34(10): 54–60.
XU Zhi, YANG Xiaokuan, ZHAO Xiaohua, et al. Driver perception reaction time under the emergency evacuation situation[J]. Journal of Chongqing University, 2011, 34(10): 54–60. (in Chinese) |
| [6] | Watson T, Cech L, Eers S.A Driving Simulator HMI Study Comparing a Steering Wheel Mounted Display to HUD, Instrument Panel and Center Stack Displays for Advanced Driver Assistance Systems and Warnings[R].SAE Technical Paper, 2010. |
| [7] |
邓涛.基于"人-车-路"闭环的无级自动变速系统硬件在环仿真研究[D].重庆:重庆大学, 2010. DENG Tao.Hardware-in-the-Loop Simulation research on continuously variable transmission in driver-vehicle-road closed loop system[D].Chongqing: Chongqing University, 2010.(in Chinese) http://cdmd.cnki.com.cn/Article/CDMD-10611-1011265591.htm |
| [8] | You S S, Fricke D.Advances of virtual testing and hybrid simulation in automotive performance and durability evaluation[R].SAE Technical Paper, 2011. |
| [9] | Jaron Lanier [G/OL].http://en.wikipedia.org/wiki/Jaron_Lanier.2012.8.25, 21:25. |
| [10] | Chen B C, Peng H.Rollover prevention for sports utility vehicles with human-in-the-loop evaluations[C]//5th Int'l Symposium on Advanced Vehicle Control.2000. |
| [11] | Tellmann D, Ayeb M, Brabetz L, et al.Real-Time Simulation Environment for the Test of Driver Assistance Systems[R].SAE Technical Paper, 2009. |
| [12] | Kim M S, Lee S Y, Yu S.Development of a vehicle simulator based testing method for telematics software development[R].SAE Technical Paper, 2007. |
| [13] | Zhang T, Shepherd J, Tang J, et al.A gaming environment approach to analysis of energy storage for electric/hybrid vehicle[C]//Clean Electrical Power (ICCEP), 2011 International Conference on.IEEE, 2011: 400-406. |
| [14] |
陈树学, 刘萱. LabVIEW宝典[M]. 北京: 电子工业出版社, 2011.
CHEN Shuxue, LIU Xuan. LabVIEW treasury[M]. Beijing: Publishing House of Electronics Industry, 2011. (in Chinese) |
| [15] |
杨瑞峰.
汽车试验场概述[J]. 轮胎工业, 2008, 28(12): 757–766.
YANG Ruifeng. Summary of proving ground[J]. Tire Industry, 2008, 28(12): 757–766. (in Chinese) |
2015, Vol. 38

