2. 福建省客车及特种车辆研发协同创新中心, 福建 厦门 361024
2. Fujian Collaborative Innovation Center for R&D of Coach and Special Vehicle, Xiamen 361024, Fujian, P. R. China
近年来国内外学者对轿车的气动减阻及空气动力学特性已经进行了广泛而深入的研究。相比而言,厢式货车的气动减阻特性以及造型优化等没有受到高校和企业研究人员的足够重视。这是因为之前的厢式货车制造企业更加关注的是货车的载货能力和储物空间而不是货车的减阻节能。但是,近年来,随着越来越严格的国家节能减排法规的出现以及油价的急剧攀升,厢式货车的减阻节能也越来越受到汽车行业的重视。厢式货车一般为箱体结构,相对轿车而言具有较大的气动阻力,其阻力系数比较大,一般为0.6~0.8。当厢式货车的车速达到90 km/h时,其气动阻力大约占到总阻力的80%左右,80%的发动机功率是用于克服货车气动阻力的。因此,基于空气动力学理论对厢式货车进行减阻研究对于节能减排具有重要意义。
国内外不少学者关于厢式货车和轿车的气动减阻装置已经进行大量的研究。Peng等[1]对重型载货汽车的驾驶室进行了气动造型设计,获得了较好的气动减阻效果。Schaut等[2]研究了侧裙和货车尾部船尾造型对货车减阻效果的影响。文献[3-5]开展了涡流发生器对货车的气动减阻效果的研究,但是没有深入研究结构参数对减阻效果的影响。文献[6-8]详细研究了各种驾驶室导流罩对厢式货车气动阻力的影响。文献[9-12]分析了各种尾部减阻装置对货车的减阻效果。但是由于增加大尺度的尾部减阻装置就意味着要大幅度增加货车整车的长度,所有在市场上很少见到安装有尾部减阻装置的货车。张勇等[13]进行了汽车气动减阻仿生设计。李明达等[14]研究了底部结构对载货汽车气动阻力的影响。文献[15-17]对厢式货车的气动减阻装置进行了系统优化。屈贤等[18]对阶背车尾部结构进行了优化。杨小龙等[19]研究了尾部非光滑表面导流板对厢式货车的减阻效果。
由上述分析可知,目前国外关于厢式货车的各种气动减阻装置已经有了比较系统的研究,主要减阻装置包括:导流罩、尾部导流板、尾部气流分离隔板、仿生非光滑表面,而且有部分气动减阻装置已经在货车上实现了产业化。目前国内相关汽车企业仍然主要采用优化驾驶室顶部导流罩形状和尺寸来减少货车的气动阻力,而关于货车前部减阻装置、涡流发生器减阻等研究相对比较少,而且大部分研究人员一般只考虑了单一减阻装置对货车减阻的影响分析,没有综合考虑各单一减阻装置的交互影响,进而影响了货车的气动减阻效果。因此本文以某厢式货车为研究对象,采用计算流体动力学数值模拟方法,先对厢式货车的驾驶室前部仿生减阻结构、顶部和侧部涡流发生器、底部涡流发生器等3种气动减阻装置对货车气动阻力的影响规律进行研究,然后以此为基础采用正交试验法分析各减阻装置及其交互作用的减阻效果。该研究为厢式货车的气动减阻优化设计提供理论依据。
1 原车模型及计算方法以某国产平头厢式货车为原型利用UG软件建立货车模型,由于计算条件的限制,建模时忽略了前大灯、后视镜、轮胎花纹、排气系统等细微特征,并以光滑表面来代替货车底部。图 1为建立的货车原始模型尺寸示意图。根据经验取9倍车长,4.5倍车宽,5倍车高的长方体作为数值模拟的计算域。采用有限元软件ansysy workbench的前处理软件对长方体计算域进行网格划分,并通过在货车模型壁面设置膨胀层的方式对关键部位网格进行局部加密,最终的网格单元数为320万。文中以计算流体动力学分析软件Fluent作为仿真平台,选取稳态定常条件,并选取标准κ-ε湍流模型[20-21]来模拟该厢式货车的外流场。设定入口边界为速度入口,入口速度为30 m/s,出口边界为压力出口,且表压为0,壁面设置为无滑移边界条件,具体设置见表 1。
|
图 1 货车原始模型尺寸示意图(mm) Fig. 1 Schematic diagram of the original model of the truck(mm) |
| 表 1 边界条件的设置 Table 1 Setting of boundary conditions |
美洲豹的速度可以达到80 km/h,这与美洲豹的头部气动外形有密切关系。为了减少货车的气动阻力,改善货车头部的外部流场结构,文中在货车原始模型平头驾驶室的基础上,模仿美洲豹的头部(图 2)对其头部进行形态仿生结构设计。改进后的驾驶室前部仿生减阻结构如图 3所示。为了获得最优的驾驶室前部仿生减阻结构,文中将驾驶室前部突出部分的倾角θ和长度b作为两个影响因素进行正交试验分析。
|
图 2 美洲豹的头部外形 Fig. 2 The head shape of a jaguar |
|
图 3 驾驶室前部仿生减阻结构示意图 Fig. 3 Schematic diagram of the bionic drag reduction structure in the front of the cab |
在同时考虑驾驶室发动机舱安装空间以及驾驶室及货车整车长度的前提下,确定倾角θ和长度b两个参数作为影响因素进行正交试验分析。文中选用两因素四水平正交表,如表 2所示。确定因素1为倾角θ,水平1、2、3、4分别为120°、125°、130°、135°;因素2为长度b,水平1、2、3、4分别为300、400、500、600 mm,设计的正交试验分配表如表 3所示。由表 3可知,相对于货车原始模型这16个货车模型的平均减阻率达到8.49%,减阻效果较好。表 4为各因素对货车空气阻力系数的影响结果。由表 4可知,长度b对货车整车气动阻力系数的影响比倾角θ更大。计算获得的最优倾角θ和长度b分别为135°和300 mm,该模型的气动阻力系数最小,其值为8.93%。
| 表 2 因素水平表 Table 2 Factor level table |
| 表 3 正交试验分配表及各模型的气动阻力系数 Table 3 Orthogonal test distribution table and aerodynamic drag coefficient of each model |
| 表 4 各因素对空气阻力系数的影响 Table 4 Effect of various factors on air resistance coefficient |
图 4对比了货车原始模型和加装驾驶室前部仿生减阻结构模型(135°;-300 mm)的前部纵向对称面速度轨迹云图。由图 4分析可知,两种模型的货车前部均出现了明显的气流分离。由于前部仿生减阻结构模型(135°;-300 mm)突出部分对前部气流的导流作用,使得货车前部气流更加平顺流畅,并且驾驶室与货厢之间区域的气流由一个大漩涡分裂成为多个小漩涡,该区域的湍流强度得到减弱。
|
图 4 货车前部纵向对称面速度轨迹云图 Fig. 4 Velocity trajectory cloud of longitudinal symmetry plane in front of the truck |
压差阻力是货车气动阻力的主要组成部分。图 5对比了货车原始模型和加装驾驶室前部仿生减阻结构模型(135°;-300 mm)的前部纵向对称面压力分布云图。如图 5(a)所示,在货车原始模型中,可以在驾驶室的前部观察到大面积气流停滞区域,正压力较大,这是压差阻力的主要来源。驾驶室顶部和底部均显示出负压区域,表明驾驶室顶部和底部出现了明显气流分离。与货车原始模型相比,加装驾驶室前部仿生减阻结构模型驾驶室的前部同样出现了正压区,但是正压力值和正压区面积均有减小。图 6对比了货车原始模型和加装驾驶室前部仿生减阻结构模型(135°;-300 mm)的尾部纵向对称面压力分布云图。由图 6可知,相对于货车原始模型,加装驾驶室前部仿生减阻结构模型(135°;-300 mm)尾部的低压区面积有所减小,这说明货车驾驶室前部的结构改进对货车尾部压力分布有一定影响。
|
图 5 货车前部纵向对称面压力分布 Fig. 5 Pressure distribution of longitudinal symmetry plane in front of the truck |
|
图 6 货车尾部纵向对称面压力分布 Fig. 6 Pressure distribution of longitudinal symmetry plane at the rear of the truck |
图 7对比了货车原始模型和加装驾驶室前部仿生减阻结构模型(135°;-300 mm)的前部纵向对称面湍动能分布云图。由图 7可知,原始模型和仿生改进模型驾驶室顶部和底部区域的湍动能值均比较大,说明驾驶室顶部和底部区域出现了明显的气流分离,这与前面的速度轨迹和压力分布的结论是一致的。与货车原始模型相比,加装驾驶室前部仿生减阻结构模型驾驶室顶部和底部的高湍动能区域面积有明显减少,并且位于驾驶室与货厢之间区域的高湍动能值明显降低。图 8对比了货车原始模型和加装驾驶室前部仿生减阻结构模型(135°;-300 mm)的尾部纵向对称面湍动能分布云图。由图 8对比分析可知,相对于货车原始模型,加装驾驶室前部仿生减阻结构模型(135°;-300 mm)尾部的高湍动能区域的面积有明显减小,尾部的高端动能值也有明显降低,而且高湍动能区域离货车尾部更远。这进一步说明,货车驾驶室前部的结构改进不仅会影响货车前部流场,而且也会明显改善尾部流场结构。
|
图 7 货车前部纵向对称面湍动能分布 Fig. 7 Turbulent distribution of longitudinal symmetry plane in front of the truck |
|
图 8 货车尾部纵向对称面湍动能分布 Fig. 8 Turbulent distribution of longitudinal symmetry plane at the rear of the truck |
有研究表明,厢式货车的25%的气动阻力都是由货车尾部出现的大量流动分离引起的。为了减少货车尾部由于气流分离而产生的压差阻力,出现了大量的尾部减阻装置,比如各种形状和尺寸的尾部导流板、尾部分离隔板。但是增加大尺度的尾部减阻装置就意味着要大幅度增加货车整车的长度,这在一定程度上影响了尾部减阻装置的实用性。因此,在市场上很少见到安装有尾部减阻装置的货车。因此,很有必要设计一种新型的经济有效的气动减阻装置来控制货车尾部气流分离。受在飞机机翼中常用的一种称为涡流发生器的流量控制装置的启发,文中设计了一种新型的涡流发生器来延迟货车尾部的气流分离,减少尾部湍流动能,进而减少货车气动阻力。
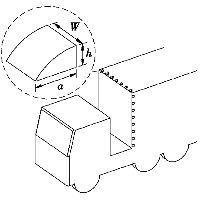
图 9为顶部和侧部涡流发生器的结构示意图。该涡流发生器的前部迎风面朝外且为一圆弧曲面,整体形状类似于锲形,其长度a=100 mm;宽度W=100 mm。为了详细研究该涡流发生器的高度h和布置位置对货车原始模型气动阻力的影响,分别计算安装了不同高度(h=30、40、50、60、70、80、90 mm)和不同布置位置涡流发生器货车模型的气动阻力系数。图 10为顶部和侧部涡流发生器的位置示意图。文中采用s/S来表示顶部和侧部涡流发生器的位置,当时s/S=0时,表明涡流发生器位于货厢的最前端,而当时s/S=1时,表明涡流发生器位于货厢的最后端。表 5对比了安装不同高度顶部和侧部涡流发生器货车模型的减阻率。表 6对比了安装不同位置顶部和侧部涡流发生器货车模型的减阻率。由表 5分析可知,涡流发生器的高度和位置对货车整车的减阻效果均有较大影响。当高度为40 mm的顶部和侧部涡流发生器布置于货厢的最前端即s/S=0时具有最佳的减阻效果,相对货车原始模型的最佳减阻率为9.8%。
|
图 9 顶部和侧部涡流发生器的结构示意图 Fig. 9 Schematic diagram of the top and side vortex generators |
|
图 10 顶部和侧部涡流发生器的位置示意图 Fig. 10 Schematic diagram of the position of the top and side vortex generators |
| 表 5 不同高度顶部和侧部涡流发生器的减阻率 Table 5 Drag reduction rate of top and side vortex generators at different heights |
| 表 6 不同位置顶部和侧部涡流发生器的减阻率 Table 6 Drag reduction rate of top and side vortex generators at different locations |
图 11对比了货车原始模型和加装了顶部和侧部涡流发生器(40 mm-货厢前端)货车模型的尾部速度轨迹云图。由图 11分析可知,两种货车模型的尾部气流均出现了明显的气流分离,并且在尾部纵向截面均形成了两个对称涡。相对于货车原始模型,加装顶部和侧部涡流发生器模型的尾涡中心离货车尾部较远,说明加装顶部和侧部涡流发生器模型的车尾受到尾流低速低压区的影响较小,尾部气流流线更加平滑,尾部流场结构获得改善,进而压差阻力得到减小。图 12和图 13分别为货车原始模型和加装了顶部和侧部涡流发生器(40 mm-货厢前端)货车模型的尾部纵向压力分布云图和横截面压力分布云图。由两个压力云图分析可知,加装顶部和侧部涡流发生器模型比货车原始模型的尾部负压明显减小,尾部负压区面积也明显减小,由于涡流发生器对货车前部压力影响很小,这样货车整车的前后压差阻力减小,整车气动阻力减小。图 14和图 15分别为货车原始模型和加装了顶部和侧部涡流发生器(40 mm-货厢前端)货车模型的尾部纵向和横截面湍动能分布云图。由两个湍动能分布云图分析可知,货车原始模型的尾部湍动能比较剧烈,尾部高湍动能值较大,高湍动能区域面积占比很高,说明尾部气流分离耗散了较多的能量。顶部和侧部涡流发生器的加装改善了货车尾部涡流结构,降低了尾部高湍动能值,减小了高湍动能区域面积,同时使高湍动能区域远离货车尾部。
|
图 11 货车尾部纵向对称面速度轨迹云图 Fig. 11 Velocity trajectory of the longitudinal symmetry plane at the rear of the truck |
|
图 12 货车尾部纵向对称面压力分布 Fig. 12 Pressure distribution of the longitudinal symmetry plane at the rear of the truck |
|
图 13 货车尾部横截面的压力云图 Fig. 13 Pressure distribution of the cross section plane at the rear of the truck |
|
图 14 货车尾部纵向对称面湍动能分布 Fig. 14 Turbulent distribution of the longitudinal symmetry plane at the rear of the truck |
|
图 15 货车尾部横截面的湍动能分布 Fig. 15 Turbulent distribution of the cross section plane at the rear of the truck |
为了进一步研究底部涡流发生器的减阻效果,文中设计了不同尺寸涡流发生器布置于货车底部。设计的底部涡流发生器结构示意图如图 16所示。底部涡流发生器的迎风面朝下且为一圆弧曲面,整体形状类似于锲形,其长度a=100 mm;宽度W=100 mm。为了获得最佳的底部涡流发生器减阻效果,研究了不同高度和不同安装位置涡流发生器模型的气动阻力系数。图 17为底部涡流发生器的位置示意图。文中采l/L来表示底部涡流发生器的位置,当时l/L=0时,表明底部涡流发生器位于整车底部的最前端,而当l/L=1时,表明底部涡流发生器位于整车底部的最后端。表 7对比了安装不同底部涡流发生器货车模型的减阻率。表 8对比了安装不同位置底部涡流发生器货车模型的减阻率。由表 7和表 8分析可知,底部涡流发生器的高度和位置对货车整车的减阻效果均有一定影响。当高度为40 mm的底部涡流发生器布置于整车底部的前端3/4即l/L=3/4时具有最佳的减阻效果,相对货车原始模型的最佳减阻率为11.3%。
|
图 16 底部涡流发生器的结构示意图 Fig. 16 Schematic diagram of the bottom vortex generator |
|
图 17 底部涡流发生器的位置示意图 Fig. 17 Location schematic diagram of the bottom vortex generator |
| 表 7 不同高度底部涡流发生器的减阻率 Table 7 Drag reduction rate of bottom vortex generators at different heights |
| 表 8 不同位置底部涡流发生器的减阻率 Table 8 Drag reduction rate of bottom vortex generators at different locations |
图 18对比了货车原始模型和加装了底部涡流发生器(40 mm-整车底部的前端3/4)货车模型的尾部速度轨迹云图。由图 18分析可知,两个模型尾部均出现了较强的尾部涡流,该尾部涡流由两个旋转方向相反的对称漩涡构成,一个位于货车尾部的上端,一个位于货车尾部的下端。相对于货车原始模型,加装了底部涡流发生器货车模型的尾部涡流区的面积和强度均有一定的减小,涡核的直径有一定程度减小,尾部气流的流线得到改善,尾部气流的能量耗散也获得减小。图 19对比了货车原始模型和加装了底部涡流发生器(40 mm-整车底部的前端3/4)货车模型的尾部压力分布云图。由图 19可知,两个模型的尾部压力都出现了明显的负压区,而且加装了底部涡流发生器货车模型的尾部负压区域的面积比较小,正压区面积增大。这也从侧面反映了底部涡流发生器的减阻效果。图 20对比了货车原始模型和加装了底部涡流发生器(40 mm-整车底部的前端3/4)货车模型的尾部湍动能分布云图。由图 20可知,货车原始模型的尾部湍动能较为剧烈,高湍动能区域面积占比较高,说明尾部气流分离耗散了较多的能量。底部涡流发生器的加装减小了高湍动能区域面积,减少了尾部气流动能损失。
|
图 18 货车尾部纵向对称面速度轨迹 Fig. 18 Velocity trajectory of the longitudinal symmetry plane at the rear of the truck |
|
图 19 货车尾部纵向对称面压力分布 Fig. 19 Pressure distribution of the longitudinal symmetry plane at the rear of the truck |
|
图 20 货车尾部纵向对称面湍动能分布 Fig. 20 Turbulent distribution of the longitudinal symmetry plane at the rear of the truck |
为了获得最佳的货车减阻效果,将上述3种单一减阻装置(驾驶室前部仿生减阻结构、顶部和侧部涡流发生器、底部涡流发生器)同时加装于货车原始模型上进行减阻分析。图 21为设计的复合减阻装置模型。基于常用的正交试验表,选取驾驶室前部仿生减阻结构、顶部和侧部涡流发生器、底部涡流发生器3个结构参数作为影响因素,每个因素包含3个水平。为了缩小水平范围,提高优化效果,基于前面的计算结果分别选取了3种最佳减阻效果的参数作为因素水平进行组合,共进行了9次试验。表 9为设计的正交试验因素水平表。表 10为正交试验分配表。根据正交试验分配表的参数建立9种复合减装置模型进行外流场数值模拟,获得了各复合模型的气动阻力系数及相对于货车原始模型的减阻率。
|
图 21 复合减阻装置模型 Fig. 21 Composite drag reduction device model |
| 表 9 因素水平表 Table 9 Factor level table |
| 表 10 正交试验分配表 Table 10 Orthogonal test distribution table |
采用极差分析法来确定3个减阻因素对气动阻力系数的的影响大小,详细分析结果如表 11所示。综合考虑3种减阻因素的相互影响时,各减阻因素对货车整车气动阻力系数的影响大小依次为:底部涡流发生器、货车前部仿生模型、顶部和侧部涡流发生器,其最优水平值分别为货车前部仿生模型(120°;300 mm)、顶部和侧部涡流发生器(40 mm;货厢前端)、底部涡流发生器(40 mm;整车后端),其复合减阻装置的最佳减阻率为13.8%。
| 表 11 各因素对空气阻力系数的影响 Table 11 Effect of various factors on air resistance coefficient |
图 22为为货车原始模型和最优复合模型的纵向对称面压力分布云图对比。由图 22可知,相对于货车原始模型,最优复合模型前后部的压差阻力明显减小,这从侧面说明复合减阻装置具有较好的减阻效果。
|
图 22 货车纵向对称面压力分布 Fig. 22 Pressure distribution of the longitudinal symmetry plane of the truck |
1) 受美洲豹头部外形的启发设计了驾驶室前部仿生减阻结构,基于正交试验法对该减阻结构进行了优化。驾驶室前部突出部分的长度b对货车整车气动阻力系数的影响比倾角θ更大。计算获得的最优头部形状货车模型的气动阻力系数最小,其值为0.721 4,相对于货车原始模型的减阻率为8.93%。
2) 涡流发生器的高度和位置对货车整车的减阻效果均有较大的影响。涡流发生器可以增加货车尾部分离区流场的能量,使得货车尾部的尾涡区减小,气动压差阻力减小。
3) 采用正交试验法对3种气动减阻装置的主要参数进行优化,由正交试验结果分析可知,各减阻因素对货车整车气动阻力系数的影响大小依次为:底部涡流发生器、货车前部仿生模型、顶部和侧部涡流发生器,最优货车模型的空气阻力系数为0.683 3,其复合减阻装置的最佳减阻率为13.8%。
| [1] |
Peng J, Wang T, Yang T T, et al. Research on the aerodynamic characteristics of tractor-trailers with a parametric cab design[J]. Applied Sciences, 2018, 8(5): 791. |
| [2] |
Schaut N, Sengupta R. Aerodynamic optimization of trailer add-on devices fully-and partially-skirted trailer configurations[J]. SAE International Journal of Commercial Vehicles, 2015, 8(2): 695-704. DOI:10.4271/2015-01-2885 |
| [3] |
Lo K H, Kontis K. Flow characteristics over a tractor-trailer model with and without vane-type vortex generator installed[J]. Journal of Wind Engineering and Industrial Aerodynamics, 2016, 159: 110-122. |
| [4] |
Hoffmann F, Schmidt H J, Nayeri C, et al. Drag reduction using base flaps combined with vortex generators and fluidic oscillators on a bluff body[J]. SAE International Journal of Commercial Vehicles, 2015, 8(2): 705-712. DOI:10.4271/2015-01-2890 |
| [5] |
李斌斌, 姚勇, 印帅, 等. 基于涡流发生器的Ahmed模型分离流被动控制实验[J]. 西南科技大学学报, 2016, 31(3): 95-101. LI Binbin, YAO Yong, YIN Shuai, et al. Experimental investigation on passive control of Ahmed model separation flow based on vortex generator[J]. Journal of Southwest University of Science and Technology, 2016, 31(3): 95-101. (in Chinese) DOI:10.3969/j.issn.1671-8755.2016.03.019 |
| [6] |
张英朝, 丁伟, 陈涛, 等. 商用车驾驶室导流罩气动造型设计[J]. 汽车工程, 2014, 9(9): 1063-1067. ZHANG Yingchao, DING Wei, CHEN Tao, et al. Aerodynamic styling of fairing for commercial vehicle cab[J]. Automotive Engineering, 2014, 9(36): 1063-1067. (in Chinese) |
| [7] |
Kim J J, Lee S, Kim M, et al. Salient drag reduction of a heavy vehicle using modified cab-roof fairings[J]. Journal of Wind Engineering and Industrial Aerodynamics, 2017, 164: 138-151. DOI:10.1016/j.jweia.2017.02.015 |
| [8] |
Kim J J, Hong J, Lee S J. Bio-inspired cab-roof fairing of heavy vehicles for enhancing drag reduction and driving stability[J]. International Journal of Mechanical Sciences, 2017, 131: 868-879. |
| [9] |
朱忠华, 张雷, 许志宝, 等. 汽车后扰流板对外气动性能影响的研究[J]. 汽车技术, 2017(5): 19-23. ZHU Zhonghua, ZHANG Lei, XU Zhibao, et al. Research on influence of rear spoiler on external aerodynamic performance[J]. Automobile Technology, 2017(5): 19-23. (in Chinese) DOI:10.3969/j.issn.1000-3703.2017.05.004 |
| [10] |
胡兴军, 李腾飞, 王靖宇, 等. 尾板对重型载货汽车尾部流场的影响[J]. 吉林大学学报(工学版), 2013, 43(3): 595-601. HU Xingjun, LI Tengfei, WANG Jingyu, et al. Numerical simulation of the influence of rear-end panels on the wake flow field of a heavy-duty truck[J]. Journal of Jilin University(Engineering and Technology Edition), 2013, 43(3): 595-601. (in Chinese) |
| [11] |
Woodiga S, Salazar D M, Wewengkang P, et al. Skin-friction topology on tail plate for tractor-trailer truck drag reduction[J]. Journal of Visualization, 2018, 1-13. |
| [12] |
Lee E J, Lee S J. Drag reduction of a heavy vehicle using a modified boat tail with lower inclined air deflector[J]. Journal of Visualization, 2017, 20(4): 743-752. |
| [13] |
张勇, 潘正宇, 谷正气, 等. 基于鲨鱼鳍的汽车车身仿生气动减阻研究[J]. 汽车工程, 2017, 39(9): 1018-1024. ZHANG Yong, PAN Zhengyu, GU Zhengqi, et al. A research on bionic aerodynamic drag reduction of vehicle body based on shark fins[J]. Automotive Engineering, 2017, 39(9): 1018-1024. (in Chinese) |
| [14] |
李明达, 隗海林, 门玉琢, 等. 复杂底部结构下的重型载货汽车气动阻力[J]. 吉林大学学报(工学版), 2017, 47(3): 731-736. LI Mingda, KUI Hailin, MEN Yuzhuo, et al. Aerodynamic drag of heavy duty vehicle with complex underbody structure[J]. Journal of Jilin University(Engineering and Technology Edition), 2017, 47(3): 731-736. (in Chinese) |
| [15] |
Khosravi M, Mosaddeghi F, Oveisi M, et al. Aerodynamic drag reduction of heavy vehicles using append devices by CFD analysis[J]. Journal of Central South University, 2015, 22(12): 4645-4652. |
| [16] |
王新宇, 王登峰, 范士杰, 等. 商用车空气动力学附加装置减阻技术的研究及应用[J]. 机械工程学报, 2011, 47(6): 107-112. WANG Xinyu, WANG Dengfeng, FAN Shijie, et al. Research and application of aerodynamic drag reduction devices on commercial vehicle[J]. Journal of Mechanical Engineering, 2011, 47(6): 107-112. (in Chinese) |
| [17] |
杨帆, 胡阳洋, 王建华. 重型卡车风阻优化[J]. 交通运输工程学报, 2013, 13(6): 54-60. YANG Fan, HU Yangyang, WANG Jianhua. Optimization of wind resistance for heavy truck[J]. Journal of Traffic and Transportation Engineering, 2013, 13(6): 54-60. (in Chinese) DOI:10.3969/j.issn.1671-1637.2013.06.008 |
| [18] |
屈贤, 余烽. 基于正交试验设计的阶背车尾部结构优化[J]. 汽车安全与节能学报, 2017, 8(1): 59-64. QU Xian, YU Feng. Optimization on stepping automotive wake structures based on orthogonal test method[J]. Journal of Automotive Safety and Energy, 2017, 8(1): 59-64. (in Chinese) |
| [19] |
杨小龙, 邹宏伟, 张泽坪. 厢式货车尾部非光滑表面导流板减阻效果研究[J]. 汽车工程, 2016, 38(7): 815-821. YANG Xiaolong, ZOU Hongwei, ZHANG Zeping. A study on the drag reduction effects of rear deflector with non-smooth surface for a cargo van[J]. Automotive Engineering, 2016, 38(7): 815-821. (in Chinese) DOI:10.3969/j.issn.1000-680X.2016.07.005 |
| [20] |
谷正气, 申红丽, 杨振东, 等. 汽车空调风道改进及对乘员热舒适性影响分析[J]. 重庆大学学报, 2013, 36(8): 91-96, 104. GU Zhengqi, SHEN Hongli, YANG Zhendong, et al. Improvement of vehicle air-conditioning duct and analysis of its impact on occupant thermal comfort[J]. Journal of Chongqing University, 2013, 36(8): 91-96, 104. (in Chinese) |
| [21] |
李以农, 王雷, 柳承峰, 等. 汽油机歧管式催化转化器流固耦合热应力分析[J]. 重庆大学学报, 2012, 35(4): 1-6. LI Yinong, WANG Lei, LIU Chengfeng, et al. Fluid-structure thermal simulation of gasoline engine manifold catalytic converter[J]. Journal of Chongqing University, 2012, 35(4): 1-6. (in Chinese) |
2020, Vol. 43

